Manutenzione
Lubrificazione dell'adattatore per accessori
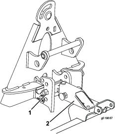
Se la leva di bloccaggio sull'adattatore per accessori non gira agevolmente e senza attrito, spalmate un velo di grasso sulla zona illustrata nella Figure 18.

Leggete attentamente queste informazioni al fine di utilizzare e mantenere correttamente il prodotto ed evitare infortuni e danni. Voi siete responsabili del corretto utilizzo del prodotto, all'insegna della sicurezza.
Per informazioni su prodotti e accessori, per la ricerca di un distributore o la registrazione del vostro prodotto, potete contattare Toro direttamente a www.Toro.com.
Per assistenza, ricambi originali Toro o ulteriori informazioni, rivolgetevi a un Distributore Toro autorizzato o ad un Centro Assistenza Toro, ed abbiate sempre a portata di mano il numero del modello ed il numero di serie del prodotto. Il numero del modello ed il numero di serie si trovano nella posizione riportata nella Figure 1. Scrivete i numeri nello spazio previsto.

Il sistema di avvertimento adottato dal presente manuale identifica i pericoli potenziali e riporta messaggi di sicurezza, identificati dal simbolo di avvertimento (Figure 2), che segnala un pericolo in grado di provocare infortuni gravi o la morte se non si osservano le precauzioni raccomandate.

Per evidenziare le informazioni vengono utilizzate due parole. Importante indica informazioni di carattere meccanico di particolare importanza e Nota evidenzia informazioni generali di particolare rilevanza.
CALIFORNIA
Proposition 65 Warning
Il presente prodotto contiene una o più sostanze chimiche che nello Stato della California sono considerate cancerogene e causa di anomalie congenite o di altre problematiche della riproduzione.
L'utilizzo del presente prodotto potrebbe esporre a sostanze chimiche che nello Stato della California sono considerate cancerogene e causa di anomalie congenite o di altre problematiche della riproduzione.
![]() |
Gli adesivi di sicurezza e di istruzione sono chiaramente visibili e sono affissi accanto a zone particolarmente pericolose. Sostituite eventuali adesivi se danneggiati o mancanti. |

Parti necessarie per questa operazione:
| Gruppo rastrello a denti flessibili | 1 |
| Gruppo timone | 1 |
| Perno con testa | 1 |
| Rondella | 2 |
| Coppiglia | 1 |
| Bullone (1/2" x 1-3/4") | 1 |
| Dado a testa flangiata (1/2") | 1 |
| Dado esagonale (1/2") | 1 |
| Bullone a testa flangiata (3/8"x1") | 1 |
| Dado a testa flangiata (3/8") | 1 |
| Gruppo adattatore per accessori | 1 |
| Coppiglia | 2 |
| Gruppo del braccio di sollevamento | 1 |
| Barra articolata | 1 |
| Bullone (3/8" x 1-1/4") | 1 |
| Dado di bloccaggio (3/8") | 1 |
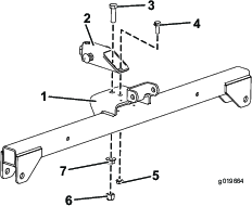
Fissate il gruppo timone all'attacco del traino mediante perno con testa, 2 rondelle e una coppiglia posizionando come illustrato in Figure 3.
Note: Il timone pu essere assemblato in diverse posizioni per aumentare o diminuire l'aggressivit del rastrello nella sabbia. Fate riferimento a Impostazione della quantit massima di applicazione delle fustelle nella sezione .

Montate, senza serrarlo, il timone sul foro anteriore nel gruppo supporto (Figure 4) con un bullone (1/2" x 1-3/4"), un dado a testa flangiata (1/2") e un dado flangiato (1/2").

Montate, senza serrarlo, il timone sul foro posteriore nel gruppo supporto con un bullone (3/8" x 1") e un dado a testa flangiata (3/8").
Serrate i dadi come segue:
Dado a testa flangiata (1/2") - 104 - 126 N∙m.
Dado esagonale (1/2") - 91 - 113 N∙m.
Dado a testa flangiata (3/8") - 22 - 27 N∙m.
Allineate il braccio di sollevamento con la staffa sull'adattatore per accessori (Figure 5) e collegateli usando la barra articolata come illustrato in Figure 6.
Note: Quando spostate l'adattatore per accessori, usate la maniglia sul retro dell'adattatore (Figure 5).


Fissate la barra orientabile (Figure 6) con 3 coppiglie e un bullone (3/8" x 1-1/4") e un dado di bloccaggio (3/8").
Parti necessarie per questa operazione:
| Bullone (" x 2") | 2 |
| Rondella (3/8"x 7/8") | 4 |
| Distanziale | 2 |
| Dado di bloccaggio (") | 2 |
Staccate eventuali accessori dal retro della macchina.
Abbassate l'adattatore del trattore e fate indietreggiare il trattore fino a posizionarlo davanti all'adattatore per accessori.
Note: Verificate che la leva di bloccaggio sia girata verso sinistra (posizione di sblocco), vista da dietro la macchina.
Infilate l'adattatore per accessori sull'adattatore del trattore.
Important: Il braccio lungo del gruppo del braccio di sollevamento deve essere sotto il gruppo del telaio posteriore del trattore (Figure 7).
Potreste schiacciarvi le dita tra gli adattatori dell'accessorio e del trattore.
Sollevate e spostate sempre l'accessorio per mezzo della maniglia prevista sul retro dell'adattatore per accessori (Figure 7).
Girate la leva di bloccaggio verso destra per bloccare insieme gli adattatori.
Fissate l'anello superiore di ciascuna catena alla parte esterna del braccio di sollevamento (Figure 7) utilizzando un bullone (3/8" x 2-1/2"), 2 rondelle (3/8" x 7/8"), un distanziale e un dado di bloccaggio (3/8").

Note: Il rastrello funziona correttamente soltanto se le catene sono allentate quando il rastrello abbassato (posizione di servizio).
Note: Assicuratevi che tutti i rastrelli di finitura si sovrappongano correttamente, in posizione piatta e con nessuna catena attorcigliata o storta.
Una volta montato e fissato il rastrello sul trattore, sollevate l'accessorio.
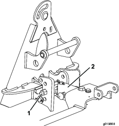
Misurate la distanza tra la rondella pesante e la sponda della forcella di sollevamento sull'adattatore accessorio, come illustrato nella Figure 8.
Note: La connessione regolata correttamente se misurate una distanza di 1,5-2 mm tra la rondella pesante e la sponda della forcella di sollevamento (Figure 8).

Se la luce non esatta, allentate il controdado e serrate o allentate il dado di regolazione sull'attacco quanto basta per modificarla (Figure 8).
Leggete questa sezione sulla rastrellatura prima di rastrellare un banco di sabbia. Esistono numerose condizioni che determinano le regolazioni dell'accessorio rastrello a denti flessibili La consistenza e la profondit della sabbia, il contenuto di umidit, le erbacce e la quantit di compattamento possono variare da campo a campo, o persino da banco a banco nello stesso campo. Effettuate le regolazioni del rastrello per ottenere risultati ottimali nella vostra area.
Fate pratica con il rastrello su un banco ampio e pianeggiate sul campo. Fate pratica con l'avviamento, l'arresto, lo sterzaggio, il sollevamento e l'abbassamento del rastrello, entrando e uscendo dal banco, ecc. Fate pratica a un regime moderato del motore e a una velocit di trasferimento lenta. Questo periodo di addestramento vi aiuter ad acquisire fiducia nell'utilizzo della macchina.
Note: Non avviate il trattore in retromarcia con l'accessorio abbassato. Danneggereste l'accessorio.
Close sectionLaddove la sabbia abbastanza profonda, potete rastrellare fino al bordo del bunker nelle zone pianeggianti.
Se la sabbia si assottiglia fino a raggiungere il tappeto erboso, tenetevi lontani dal bordo per non disturbare la terra sottostante.
Non rastrellate troppo vicino a sponde ripide e corte. La sabbia ricadrebbe sul fondo del bunker.
Potrebbero essere necessari alcuni ritocchi con un rastrello manuale su banchine ripide, piccole cunette, ecc.
Close sectionRastrellate un banco in base al percorso illustrato nella Figure 10. Questo percorso consente di evitare sovrapposizioni non necessarie, mantiene il compattamento al minimo e crea un motivo pulito e di bell'aspetto sulla sabbia.
Entrate nel tratto pi lungo del bunker, dove la sponda meno alta. Guidate attraverso il centro del bunker sin quasi alla fine, girate a destra o sinistra praticando una curva a stretto raggio, e ritornate a fianco della prima passata. Eseguite una spirale verso l'esterno, come illustrato, e uscite dal bunker ad angolo retto in una zona pianeggiante.
Lasciate le sponde alte e corte, e le piccole buche, che potranno essere ritoccate con un rastrello a mano.

All'ingresso del banco, non abbassate il rastrello fino a quando non si trova sopra alla sabbia. In tal modo eviterete di tagliare il tappeto erboso e non trascinerete fili d'erba tagliati o altri detriti nel bunker. Abbassate il rastrello mentre la macchina in movimento.
Quando uscite dal bunker, iniziate a sollevare il rastrello quando la ruota anteriore esce dal bunker. Con lo spostamento della macchina verso l'esterno, il rastrello si solleva e non trascina la sabbia al di fuori, sull'erba.
Con l'esperienza e la pratica, presto riuscirete ad acquisire le tempistiche necessarie per un ingresso e un'uscita corretti dai banchi di sabbia.
Close sectionPotete modificare l'angolo del rastrello per aumentare o ridurre l'aggressivit sulla sabbia. Determinate l'aggressivit richiesta desiderata e montate l'attacco del traino e il timore, come illustrato nelle seguenti figure per ottenere l'aggressivit.

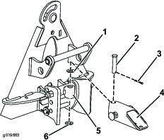
Montate il gruppo di attacco nei fori superiori della staffa d'arresto (Figure 11).
Allineate il lato pi lungo del timone verso l'alto e montatelo sul lato inferiore del gruppo supporto (Figure 11).

Montate il gruppo di attacco nei fori inferiori della staffa d'arresto (Figure 12).
Allineate il lato pi lungo del timone verso l'alto e montatelo sul lato inferiore del gruppo supporto (Figure 12).

Montate il gruppo di attacco nei fori superiori della staffa d'arresto (Figure 13).
Allineate il lato pi lungo del timone verso il basso e montatelo sul lato superiore del gruppo supporto (Figure 13).

Montate il gruppo di attacco nei fori inferiori della staffa d'arresto (Figure 14).
Allineate il lato pi lungo del timone verso il basso e montatelo sul lato superiore del gruppo supporto (Figure 14).
Potete regolare la lunghezza delle piastre di regolazione per aumentare o diminuire la penetrazione dei denti.
Allentate le viti di montaggio della piastra, spostate la piastra verso l'alto o verso il basso nella posizione desiderata, e serrate le viti (Figure 15).

Allentate i controdadi e ruotate i bulloni d'arresto del rastrello (Figure 16) all'esterno per limitare il lato verso il lato orientabile del rastrello. Serrate i controdadi per fissare la regolazione.

Potete fissare i pesi opzionali ai rastrelli di finitura se la sabbia umida o grossolana o in presenza di impronte profonde nei banchi. Ordinate il n. cat. 18-7570 dal vostro distributore Toro autorizzato.
Close sectionEseguite le seguenti operazioni per aumentare l'altezza del rastrello durante il trasferimento.
Abbassate il pi possibile il rastrello ed il gruppo di sollevamento.
Staccate le catene dal braccio di sollevamento e ricollegatele pi in alto.
Note: Per garantire il corretto funzionamento del rastrello, dovete riportare le catene alla posizione allentata originale prima di utilizzare il rastrello.
Close sectionDopo il rastrellamento, pulite la macchina accuratamente. Dal momento che utilizzate la macchina principalmente sulla sabbia, un materiale estremamente abrasivo, lavate via la sabbia dopo ogni utilizzo. Se pulite la macchina frequentemente (prima che la sabbia abbia l'opportunit di incrostarsi), pulitela con il getto d'acqua di un tubo flessibile senza ugello. Un flusso ad alta pressione pu spingere la sabbia nelle aree di usura dove pu agire da materiale abrasivo.
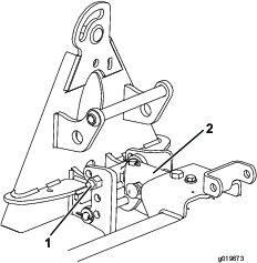
Note: Se l'adattatore dell'accessorio si blocca sull'adattatore del trattorino, inserite un piede di porco o un cacciavite nella relativa fessura per disinnestare i componenti (Figure 17).

Se la leva di bloccaggio sull'adattatore per accessori non gira agevolmente e senza attrito, spalmate un velo di grasso sulla zona illustrata nella Figure 18.
