この説明書を読んで製品の運転方法や整備方法を十分に理解し、他人に迷惑の掛からないまた適切な方法でご使用ください。この製品を適切かつ安全に使用するのはお客様の責任です。
弊社のウェブサイト www.Toro.com で製品やアクセサリ情報の閲覧、代理店についての情報閲覧、お買い上げ製品の登録などを行っていただくことができます。
整備について、また純正部品についてなど、分からないことはお気軽に弊社代理店またはカスタマーサービスにおたずねください。お問い合わせの際には、必ず製品のモデル番号とシリアル番号をお知らせください。Figure 1 にモデル番号とシリアル番号を刻印した銘板の取り付け位置を示します。いまのうちに番号をメモしておきましょう。

この説明書では、危険についての注意を促すための警告記号(Figure 2)を使用しております。これらは死亡事故を含む重大な人身事故を防止するための注意ですから、必ずお守りください。

この他に2つの言葉で注意を促しています。重要「重要」は製品の構造などについての注意点を、注はその他の注意点を表しています。
CALIFORNIA
Proposition 65 Warning
米国カリフォルニア州では、この製品に、ガンや先天性異常などの原因となる化学物質が含まれているとされております。
米国カリフォルニア州では、この製品を使用した場合、ガンや先天性異常などを誘発する物質に触れる可能性があるとされております。
この作業に必要なパーツ
| ツースレーキアセンブリ | 1 |
| チューブトングアセンブリ | 1 |
| クレビスピン | 1 |
| ワッシャ | 2 |
| コッターピン | 1 |
| ボルト( x 1インチ) | 1 |
| フランジヘッドナット( インチ) | 1 |
| 六角ナット( インチ) | 1 |
| フランジヘッドボルト( x 1 インチ) | 1 |
| フランジヘッドナット( インチ) | 1 |
| アタッチメント・アダプタ・アセンブリ | 1 |
| コッターピン | 2 |
| 昇降アームアセンブリ | 1 |
| ピボットバー | 1 |
| ボルト( x 1 インチ) | 1 |
| ロックナット(インチ) | 1 |
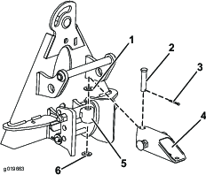
トングチューブアセンブリをヒッチアセンブリに固定する;クレビスピン1本、ワッシャ2枚、コッターピン2本を使用し、Figure 3のように取り付ける。
Note: トングチューブの組み付け角度を変えて、レーキの砂への食い込み角度を変えることができます。タインの食い込み高さ(深さ)を一番深く設定するの項()を参照。

ハンガーアセンブリ(Figure 4)の前穴に、トングチューブを仮止めする;ボルト( x 1 インチ)1本、フランジヘッドナット( インチ)1本、六角ナット( インチ)1個を使用する。

ハンガーアセンブリの後穴に、トングチューブを仮止めする;フランジヘッドボルト( x 1インチ)1本、フランジヘッドナット( インチ)1本を使用する。
ナットを以下の値にトルク締めする:
フランジヘッドナット( インチ)を104~126Nm(11~12kg.m = 77~93ft-lb)にトルク締めする。
六各ナット( インチ)を91~113Nm(9~11kg.m = 67~83ft-lb)にトルク締めする。
フランジヘッドナット( インチ)を22~27Nm(2.2~2.8kg.m = 16~20ft-lb)にトルク締めする。
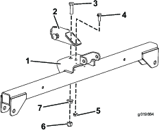
昇降アームを、アタッチメント・アダプタのブラケットに整列させ(Figure 5)、ピボット・バーを使って、Figure 6のように接続する。
Note: アタッチメントアダプタを動かす時には、アダプタの後部についているハンドルを使ってください(Figure 5)。


ピボットバー(Figure 6)を固定する;コッターピン(3本)とボルト( x 1 インチ)とロックナット( インチ)を使用。
この作業に必要なパーツ
| ボルト( x 2 インチ) | 2 |
| ワッシャ( x インチ) | 4 |
| スペーサ | 2 |
| ロックナット(インチ) | 2 |
機体後部についているアタッチメントをすべて外す。
トラクションユニットのアダプタを降下させ、トラクションユニットを後退させてアタッチメントのアダプタの正面に停車する。
Note: ロック・レバーが、車体後ろから見て左側(解除位置)にセットされていることを確認してください。
アタッチメントのアダプタを、トラクションユニットのアダプタにセットする。
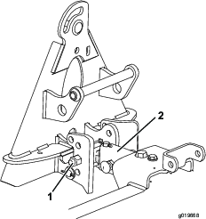
Important: 昇降アーム・アセンブリの長いアームが、トラクションユニットの後フレーム・アセンブリの下に来るのが正しい位置です(Figure 7)。
アタッチメントとトラクションユニットのアダプタとの間に指を挟まれる恐れがある。
アタッチメントアダプタを動かす時には、必ずアダプタの後部についているハンドルを使うこと(Figure 7)。
ロックレバーを右側に倒して、アダプタ同士をロックする。
各チェーンの一番上のリンクを、昇降アームの外側に取り付ける;ボルト( x 2 インチ)、ワッシャ( x インチ)2枚、スペーサ、ロックナット( インチ)を使用;Figure 7を参照。

Note: レーキを下降させたとき(レーキ作業モード)、チェーンにたるみがないとレーキが適切に作動しません。
Note: 全部の仕上げレーキが相互に重なり合っていること、平らに寝ていること、また、どのチェーンも絡んだりしていないことを確認してください。
アタッチメントをトラクションユニットに固定した状態で、上昇させる。
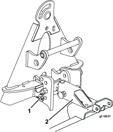
ヘビーワッシャから昇降ヨークの肩との間のすきまを測って、Figure 8に示すようになっていることを確認する。
Note: ヘビーワッシャから昇降ヨークの肩との間のすきまの大きさが 1.5~ 2mm であれば、リンクの調整は適正である(Figure 8)。

すきまの大きさが適正でない場合は、リンクアセンブリについているジャムナットをゆるめ、調整ナットを締め方向またはゆるめ方向に回してすきまを調整する(Figure 8)。
実際にレーキ作業を行う前にこのレーキ作業の項全体をよく読んでください。バンカーのコンディションは千差万別なので、スースレーキにも色々な調整が必要になります。砂の質や深さ、湿り具合、雑草の有無、固結の状態など様々な要因が色々に重なり合い、ゴルフ場によって、さらにはバンカーごとにも異なっています。ですから、作業する場所の条件に合わせて、最も良い結果が得られるようにレーキを調整してください。
最初はなるべく広くてフラットなサンドバンカーを選んで練習してください。発進、停止、旋回、レーキの上昇と下降、バンカーへの出入りなどを練習します。エンジンの速度を中程度に調整し、ゆっくりとした走行で練習しましょう。十分に練習することでトリローラの操作に自信が生まれます。
Note: アタッチメントを下降させたままでバックしないでください。アタッチメントが破損します。
Close section砂が十分に深い(厚い)場合には、サンドトラップの壁が立ち上がるギリギリのところまでレーキをかけても大丈夫です。
壁がはっきりしない、砂が徐々にターフに変化するようなバンカーでは、エッジ部分にレーキを掛けると砂の下の土を掘り起こしてしまう恐れがありますから、十分に離れて作業しましょう。
小さな、深いバンカーでは、壁に近づきすぎないことが大切です。壁の近くにレーキを掛けても、砂が上から落ちてくるだけできれいになりません。
このようなバンカーや小さなポケット部分では、熊手を使って手作業で仕上げをすることが必要になる場合があります。
Close sectionFigure 10に示すようなパターンでバンカーの均し作業を行ってください。このパターンで作業すると、無駄な重なりをなくし、固結を最小限に抑えながら、美しい砂模様を作ることができます。
バンカーの長い軸に沿って、壁が一番低くなっているところから真っ直ぐに中に入ります。バンカーの中心線に沿ってほぼ反対側まで真っ直ぐにレーキを掛け、左右どちらかになるべく小さくUターンし、ぴったり折り返すようにしてレーキ作業を続けますこの操作を繰り返して、外へ外へとらせん状にレーキ掛けを行い、最後に、平らな場所からほぼ直角に外へ出ます。
急斜面、非常に小さいバンカー、ポケット部などには無理に入り込まず、後から手作業で仕上げてください。

バンカーに入る時には、レーキが砂の上にくるまで、レーキを下げてはいけません。レーキを早く下げてしまうと、ターフを傷つけたり、刈りかすやその他のゴミをバンカーの中に引きずりこんでしまったりします。レーキは、走行しながら下げてください。
バンカーを出る時には、前輪がバンカーを出た時を見計らってレーキを上昇させます。そのままスムーズにバンカーを出れば、ターフの中に砂を引きずり込んだりすることなく、きれいに出ることができます。
バンカーへの出入りのタイミングは、少しの練習と経験で、すぐに身に着けることができます。
Close sectionレーキが砂に食い込む角度を大きくしたり小さくしたりすることができます。レーキの食い込み角度を決め、ヒッチアセンブリとトングチューブを、以下の図のように取り付けて希望角度にする。
均し板の突き出し長さを調整することにより、プロング(歯)の食い込み深さを調整することができます。
取り付けネジをゆるめて、均し板を上または下にずらして希望する位置にセットし、ネジで固定してください(Figure 15)。

砂がぬれているときやバンカー内に足跡が深く付いている場合は、仕上げレーキにオプションのウェイトを取り付けることができます。パーツ番号は P/N 18-7570; ご注文は Toro 代理店へ。
Close section移動走行に移るときには、以下の操作を確実に行ってレーキをできるだけ高く上げてください。
レーキと昇降アセンブリをできるだけ低い位置まで下降させる。
昇降アームからチェーンを外して、もっと高い位置に取り付ける。
Note: 次の現場に到着したら、レーキが正しく動作するように、チェーンの位置を元のゆるい位置に戻してください。
Close sectionレーキ作業が終了したら、機体を十分に清掃してください。この装置は砂地で使用することを目的としたものですが、砂は極めて研削性の高い物質ですから、作業後はなるべく完全に砂を落としておくことが大切です。作業ごとに(砂が乾いてこびりついてしまう前に)洗車すれば、通常のホース洗浄で十分にきれいになります。高圧洗浄器を使うと、回転部分などに砂粒を押し込んでしまう恐れがあり、逆に機械の磨耗を早めることになります。
Note: アタッチメントのアダプタがトラクションユニットのアダプタに引っかかってしまった時は、バールやドライバーなどをスロットに差し込んで外してください(Figure 17)。
