Vedlikehold
Smre tilbehrsadapteren
Hvis lsespaken p tilbehrsadapteren ikke svinger fritt og lett, pfr et tynt lag med smrefett p omrdet vist i Figure 18.

Les denne hndboken nye, slik at du lrer bruke og vedlikeholde produktet p riktig mte og unngr person- eller produktskade. Du har ansvar for bruke produktet p en riktig og sikker mte.
Du kan kontakte Toro direkte p www.Toro.com for informasjon om produkter og tilbehr, hjelp til finne en forhandler eller for registrere produktet ditt.
Hvis maskinen m repareres eller du trenger originale Toro-deler eller mer informasjon, kan du kontakte et autorisert forhandlerverksted eller Toros kundeserviceavdeling. Ha modell- og serienummer for hnden nr du tar kontakt. Figure 1 viser hvor p produktet modell- og serienumrene er plassert. Skriv inn numrene i de tomme feltene.

Denne brukerhndboken identifiserer potensielle farer og har sikkerhetsmeldinger som identifiseres ved hjelp av sikkerhetsvarselssymbolet (Figure 2) som advarer om farer som kan fre til alvorlig personskade eller dd hvis du ikke flger anbefalte forholdsregler.

I tillegg brukes to ord for utheve informasjon. Viktig gjr oppmerksom p spesiell mekanisk informasjon og Obs henviser til generell informasjon som er verdt huske.
CALIFORNIA
Proposition 65 Warning
Dette produktet inneholder et kjemikalie eller kjemikalier som staten California vet forårsaker kreft, fødselsdefekter eller forplantningsskade.
Bruk av dette produktet kan forårsake eksponering for kjemikalier som staten California vet forårsaker kreft, fødselsdefekter eller annen forplantningsskade.
![]() |
Sikkerhetsmerker og -instruksjoner er lett synlige for freren og er plassert i nrheten av alle omrder som representerer en potensiell fare. Skift ut alle merker som er delagte eller mangler. |

Deler som er nødvendige for dette trinnet:
| Montere tannraken | 1 |
| Koblingsarmrr | 1 |
| Splittpinne | 1 |
| Skive | 2 |
| Splint | 1 |
| Bolt (1/2 x 1–3/4tomme) | 1 |
| Flenshodemutter (1/2tomme) | 1 |
| Sekskantmutter (1/2tomme) | 1 |
| Flenshodebolt (3/8x1tomme) | 1 |
| Flenshodemutter (3/8tomme) | 1 |
| Montere tilbehrsadapter | 1 |
| Splint | 2 |
| Montere lftearm | 1 |
| Dreieledd | 1 |
| Bolt (3/8 x 1–1/4tommer) | 1 |
| Lsemutter (3/8tomme) | 1 |
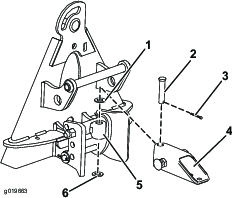
Fest koblingsarmrret til trekkoblingen med en splittpinne, to skiver og en splintpinne, plassert som vist i Figure 3.
Note: Koblingsarmrret kan monteres i ulike stillinger for ke eller redusere rakens aggressivitet i sanden. Se Stille inn maksimal mengde pipeinngrep i -delen.

Monter rrkoblingsarmen lst til fremre hull i hengeren (Figure 4) med en bolt (1/2x 13/4tomme), flenshodemutteren (1/2tomme) og en sekskantmutter (1/2tomme).

Monter rrkoblingsarmen lst til bakre hull i hengeren med en flenshodebolt (3/8x 1tomme) og en flenshodet mutter (3/8tomme).
Stram mutrene som flger:
Flenshodemutter (1/2tomme) – 104 til 126Nm
Sekskantmutter (1/2tomme) – 91 til 113Nm
Flenshodemutter (3/8tomme) – 22 til 27Nm
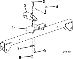
Tilpass lftearmen til braketten p tilbehrsadapteren (Figure 5), og koble dem sammen med dreieleddet som illustrert p Figure 6.
Note: Nr du flytter tilbehrsadapteren, bruk hndtaket p baksiden av adapteren (Figure 5).


Fest dreieleddet (Figure 6) med tre splinter og en bolt (3/8x 11/4tomme) og lsemutter (3/8tomme).
Deler som er nødvendige for dette trinnet:
| Bolt (3/8x 21/2tommer) | 2 |
| Skive (3/8x 7/8tomme) | 4 |
| Avstandsstykke | 2 |
| Lsemutter (3/8tomme) | 2 |
Fjern alt tilbehr fra baksiden av maskinen.
Senk trekkenhetsadapteren og rygg trekkenheten i posisjon foran tilbehrsadapteren.
Note: Srg for at lsespaken svinger mot venstre (ulst stilling) som sett fra bak maskinen.
Skyv utstyrsadapteren inn p trekkenhetsadapteren.
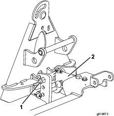
Important: Den lange armen p lftearmenheten m vre under trekkenhetens bakre rammeenhet (Figure 7).
Du kan klemme fingrene mellom tilbehret og trekkenhetsadapterne.
Lft og beveg alltid utstyret ved hjelp av hndtaket bak p utstyrsadapteren (Figure 7).
Sving lsespaken til hyre for lse adapterne sammen.
Fest toppleddet til hvert kjede p utsiden av lftearmen (Figure 7) med en bolt (3/8x 21/2tommer), to skiver (3/8x 7/8tomme), et avstandsstykke og en lsemutter (3/8tomme).

Note: For at raken skal kunne fungere ordentlig m kjedene vre slakke nr raken er i senket stilling (driftsstilling).
Note: Pse at alle finishingrakene overlapper ordentlig, ligger flatt uten at kjettingene er sammenfiltret eller vridd.
Nr raken er raken montert og sikret p trekkenheten, lft tilbehret.
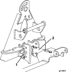
Ml mellomrommet mellom den tunge skiven og ansatsen av lftearmens dreiegaffel p tilbehrsadapteren som vist i Figure 8.
Note: Koblingen er riktig justert hvis du mler et mellomrom p 1,5 til 2mm (0,060 til 0,080tomme) mellom den tunge skive og ansatsen p lftearmens dreiegaffel (Figure 8).

Hvis mellomrommet ikke er riktig, lsne kontramutteren og stram til eller lsne justeringsmutteren p koblingssettet s mye som ndvendig for endre mellomrommet (Figure 8).
Les denne delen om raking fr du raker en bunker. Det er mange forhold som avgjr innstillingene til tannraketilbehret. Teksturen og dybden av sanden, fuktinnhold, ugress og komprimeringsgrad kan alle variere fra bane til bane, eller til og med fra bunker til bunker p samme bane. Juster raken for oppn optimal ytelse i ditt omrde.
v deg p raking i en stor, jevn bunker p banen. v deg p starte, stoppe, snu, heve og senke raken, kjre inn i og ut av bunkeren osv. v deg i moderat motorturtall og langsom kjrehastighet. Denne opplringsperioden vil hjelpe deg med bli trygg p bruke maskinen.
Note: Ikke rygg med trekkenheten nr utstyret er senket. Dette kan forrsake skade p utstyret.
Close sectionHvis sanden er dyp nok, kan du rake helt opp til kanten av bunkeren i flate omrder.
Hvis sanden sprer seg ut p gresset, m du holde deg langt nok unna kanten til at du unngr forstyrre jordsmonnet under.
Ikke rak for nrme en kort, bratt sandbanke. Sanden vil bare renne ned til bunnen av bunkeren.
Litt finjustering med en hndrake kan vre ndvendig i bratte banker, sm lommer osv.
Close sectionRak bunkeren i henhold til mnsteret vist i Figure 10. Dette mnsteret unngr undvendig overlapping, presser til et minimum og etterlater et ryddig, pent mnster i sanden.
Kjr inn i bunkeren fra kortsiden, der banken er p sitt minste. Kjr gjennom midten av bunkeren nesten til enden, snu s skarpt du kan til en av sidene og kom tilbake ved siden av den frste raden. Kjr i en spiral utover som vist p tegningen, og forlat bunkeren i riktig vinkel i et flatt omrde.
Utelat bratte, korte banker og sm lommer, og g i stedet over disse med en hndrake.

Nr du kjrer inn i bunkeren, m du ikke senke raken fr raken er over sanden. Dermed unngr du klippe plenen eller dra klippet gress eller andre rester inn i bunkeren. Senk raken mens maskinen beveger seg.
Nr du forlater bunkeren, begynner du heve raken nr forhjulet forlater bunkeren. Nr maskinen kjrer ut, lftes raken s ikke sanden dras ut p gresset.
Med erfaring og velse vil du snart kunne kjre inn i og ut av bunkeren i riktig flyt og tempo.
Close sectionDu kan endre vinkelen p raken for ke eller redusere graden av aggressivitet i sanden. Avgjr pkrevd aggressivitet og fest trekkoblingen og koblingsarmrret som vist i flgende figurer, for oppn aggressiviteten.

Monter trekkoblingsenheten i de verste hullene p sperrebraketten (Figure 11).
Innrett den lengste siden av koblingsarmrret vendt opp og monter den til undersiden av trekkoblingen (Figure 11).

Monter trekkoblingsenheten i de nedre hullene p sperrebraketten (Figure 12).
Innrett den lengste siden av koblingsarmrret vendt opp og monter den til undersiden av trekkoblingen (Figure 12).

Monter trekkoblingsenheten i de verste hullene p sperrebraketten (Figure 13).
Innrett den lengste siden av koblingsarmrret vendt ned og monter den til oversiden av trekkoblingen (Figure 13).

Monter trekkoblingsenheten i de nedre hullene p sperrebraketten (Figure 14).
Innrett den lengste siden av koblingsarmrret vendt ned og monter den til oversiden av trekkoblingen (Figure 14).
Du kan justere lengden av pussebrettene for ke eller redusere tindenes penetrasjon.
Lsne pussebrettenes monteringsskruer, beveg pussebrettet oppover eller nedover til nsket stilling, og stram til skruene (Figure 15).

Lsne lsemutrene og vri rakens stoppskruer (Figure 16) utover for begrense rakens svinging fra side til side. Stram lsemutrene for lse justeringen.

Du kan feste valgfrie vekter p finishingrakene hvis sanden er fuktig eller grov, eller hvis det er dype fotavtrykk i bunkerne. Bestill delenr. 18-7570 fra en autorisert Toro-forhandler.
Close sectionGjennomfr flgende prosedyre for ke hyden av raken under transport:
Senk raken og lft enheten s lavt som mulig.
Koble kjedene fra lftearmene og koble dem til igjen hyere oppe.
Note: For sikre at raken fungerer som den skal, returnerer du kjedene til den opprinnelige slakke stillingen fr du bruker raken.
Close sectionEtter raking m du rengjre maskinen grundig. Fordi du bruker denne maskinen primrt i sand og sand er svrt slipende, m du skylle bort sanden etter hver bruk. Hvis du rengjr maskinen ofte (fr sanden fr sjansen til strkne), rengjr du den med en vannslange med munnstykket fjernet. En vannstrle med hyt trykk kan drive sanden inn i slitasjeomrder, hvor den kan virke som et slipestoff.
Note: Hvis tilbehrsadapteren sitter fast i trekkenhetsadapteren, frer du et brekkjern eller en skrutrekker inn i pningssporet for lsne delene fra hverandre (Figure 17).

Hvis lsespaken p tilbehrsadapteren ikke svinger fritt og lett, pfr et tynt lag med smrefett p omrdet vist i Figure 18.
