Manutenção
Lubrificar o adaptador de acessrios
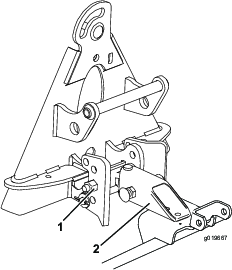
Se a alavanca de bloqueio no adaptador de acessrios no se movimentar livre e facilmente, aplique uma leve camada de lubrificante na rea indicada na Figure 18.

Leia estas informaes cuidadosamente para saber como utilizar o produto e como efetuar a sua manuteno de forma adequada de forma a evitar ferimentos e evitar danos no produto. A utilizao correta e segura do produto da exclusiva responsabilidade do utilizador.
Pode contactar diretamente a Toro em www.Toro.com para mais informao sobre produtos e acessrios, para obter o contacto de um distribuidor ou registar o seu produto.
Sempre que necessitar de assistncia, peas genunas Toro ou informaes adicionais, entre em contacto com um Distribuidor autorizado ou com o Servio de assistncia Toro, indicando os nmeros de modelo e de srie do produto. Figure 1 identifica a localizao dos nmeros de srie e de modelo do produto. Escreva os nmeros no espao fornecido.

Este manual identifica potenciais perigos e tem mensagens de segurana identificadas pelo smbolo de alerta de segurana (Figure 2), que identifica perigos que podem provocar ferimentos graves ou mesmo a morte, se no respeitar as precaues recomendadas.

Neste manual so utilizados dois termos para identificar informao. Importante chama a ateno para informao especial de ordem mecnica e Nota sublinha informao geral que requer ateno especial.
CALIFORNIA
Proposition 65 Warning
É do conhecimento do Estado da Califórnia que um ou vários produtos químicos deste produto podem provocar cancro, defeitos congénitos ou outros problemas reprodutivos.
É do conhecimento do Estado da Califórnia que a utilização deste produto pode causar exposição a químicos que podem provocar cancro, defeitos congénitos ou outros problemas reprodutivos.
![]() |
Os autocolantes de segurana e de instrues so facilmente visveis e situam-se prximo das zonas de potencial perigo. Substitua todos os autocolantes danificados ou em falta. |

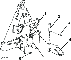
Peças necessárias para este passo:
| Montagem do ancinho dentado | 1 |
| Montagem do garfo do tubo | 1 |
| Passador de forquilha | 1 |
| Anilha | 2 |
| Perno de gancho | 1 |
| Parafuso (1/2 x 1pol.) | 1 |
| Porca de cabea de flange (1/2pol.) | 1 |
| Porca hexagonal (1/2 pol.) | 1 |
| Parafuso com cabea flangeada (3/8x1pol.) | 1 |
| Porca de cabea de flange (3/8pol.) | 1 |
| Conjunto do adaptador do acessrio | 1 |
| Perno de gancho | 2 |
| Conjunto do brao de elevao | 1 |
| Barra de articulao | 1 |
| Parafuso (3/8 x 1pol.) | 1 |
| Porca de bloqueio (3/8pol.) | 1 |
Prenda o conjunto do garfo do tubo ao conjunto do reboque com um passador de forquilha, 2 anilhas e um contrapino, posicionando como se mostra na Figure 3.
Note: O tubo do garfo pode ser montado em diferentes posies para aumentar ou diminuir a agressividade do ancinho na areia. Consulte Configurar o maior engate dos dentes na seco .

Monte o tubo do garfo, sem apertar, no furo frontal do conjunto de suporte (Figure 4) com um parafuso (1/2 x 1–3/4 pol.), porca flangeada (1/2 pol.) e uma porca hexagonal (1/2 pol.).

Monte, sem apertar, o tubo do garfo ao furo traseiro no conjunto do suporte com um parafuso de cabea flangeada (3/8 x 1 pol.) e uma porca flangeada (3/8 pol.).
Aperte as porcas da seguinte forma:
Porca flangeada (1/2 pol.)—104 a 126 N∙m
Porca sextavada (1/2 pol.)—91 a 113 N∙m
Porca flangeada (3/8 pol.)—22 a 27 N∙m
Alinhe o brao de elevao com o suporte no adaptador do acessrio (Figure 5) e ligue-os utilizando barra articulada como ilustrado em Figure 6.
Note: Ao mover o adaptador do acessrio, utilize o manpulo fornecido na parte posterior do adaptador (Figure 5).


Prenda a barra articulada (Figure 6) com 3 contrapinos e um parafuso (3/8 x 1-1/4 pol.) e uma porca de bloqueio (3/8 pol.).
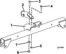
Peças necessárias para este passo:
| Parafuso (x 2pol.) | 2 |
| Anilha (3/8" x 7/8") | 4 |
| Espaador | 2 |
| Porca de bloqueio (3/8pol.) | 2 |
Retire qualquer acessrio da parte posterior da mquina.
Baixe o adaptador da unidade de trao e recue a unidade de trao para a posio em frente do adaptador de acessrios.
Note: Verifique se a alavanca de bloqueio est para a esquerda (posio de desbloqueio) vista da parte de trs da mquina.
Deslize o adaptador de acessrios para o adaptador de trao.
Important: O brao comprido do brao de elevao tem de estar debaixo do conjunto da estrutura da parte traseira da unidade de trao (Figure 7).
Pode entalar os dedos entre o acessrio e os adaptadores da unidade de trao.
Eleve e mova sempre o acessrio utilizando a pega na parte de trs do adaptador de acessrios (Figure 7).
Aponte a alavanca de bloqueio para a direita para prender os adaptadores.
Prenda a ligao superior de cada corrente parte exterior do brao de elevao (Figure 7) utilizando um parafuso (3/8 x 2-1/2 pol.), 2 anilhas (3/8 x 7/8 pol.), um espaador e uma porca de bloqueio (3/8 pol.).

Note: Para um bom funcionamento do ancinho, as correntes tm de ter alguma folga quando o ancinho se encontra na posio descida (funcionamento).
Note: Certifique-se de que todos os ancinhos de acabamento se sobrepem devidamente, esto direitos e que nenhuma das correntes est entalada ou torcida.
Com o ancinho montado e fixado na unidade de trao, suba o acessrio.
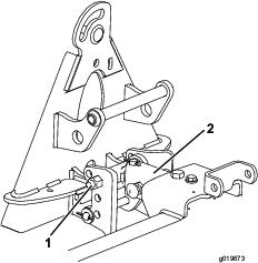
Mea a folga entre a anilha superior e o ombro da culatra de elevao no adaptador do acessrio como se mostra na Figure 8.
Note: A ligao est corretamente ajustada se medir uma folga de 1,5 a 2 mm entre a anilha pesada e o ombro da culatra de elevao (Figure 8).

Se a folga no for a correta, desaperte a porca e aperte ou desaperte a porca de ajuste no conjunto da articulao conforme necessrio para ajustar a folga (Figure 8).
Leia esta seco sobre a utilizao do ancinho antes de o utilizar H muitas condies que determinam os ajustes do ancinho dentado. A textura e profundidade da areia, contedo de humidade, ervas daninhas, a quantidade de compactao podem variar de campo para campo ou at de uma seco para outra do mesmo campo. Faa os ajustes no ancinho para resultados ideais na sua rea
Pratique a utilizao do ancinho numa rea grande e nivelada do campo. Pratique o arranque, paragem, viragem, elevar e descer o ancinho, entrar e sair da rea, etc. Pratique com uma velocidade moderada do motor e a uma velocidade lenta no solo. Este treino vai ajud-lo a ganhar confiana no desempenho da mquina.
Note: No recue na trao de unidade com o acessrio descido. Podem ocorrer danos no acessrio.
Close sectionSe a areia tiver a profundidade necessria, pode utilizar o ancinho at extremidade da rea em reas niveladas.
Se a areia se encontrar at relva, afaste-se o suficiente da extremidade para evitar perturbar o solo subjacente.
No utilize o ancinho demasiado perto de um banco inclinado. A areia vai deslizar para a parte inferior da rea.
Pode ser necessrio algum retoque com ancinho manual em bancos inclinados, pequenos declives, etc.
Close sectionUtilize o ancinho de acordo com o padro que se mostra em Figure 10. Este padro evita a sobreposio desnecessria, mantm a compactao ao mnimo e deixa um padro bem proporcionado e atrativo nos relvados.
Entre na rea a direito na dimenso maior, onde o banco menos agressivo. Conduza atravs do centro da rea quase at extremidade, rode em qualquer direo da forma mais acentuada que puder e regresse para junto da primeira passagem. conduza em espiral para fora como se mostra no desenho e saia da rea num ngulo reto numa rea nivelada.
Deixe bancos pequenos e inclinados para retoque com um ancinho manual.

Ao entrar na rea, no baixe o ancinho at que este se encontre sobre a areia. Isto evita cortar relva ou danificar aparas de relva ou outros detritos na rea. Baixe o ancinho enquanto a mquina se est a mover.
Ao sair da rea, comece a elevar o ancinho quando a roda da frente sair da rea. medida que a mquina se move, o ancinho vai elevar e no arrasta areia para a relva.
Rapidamente vai ganhar experincia e prtica e para entrar e sair da rea corretamente.
Close sectionPode alterar o ngulo do ancinho para aumentar ou diminuir a sua agressividade na areia. Determine a agressividade desejada e monte o conjunto do engate e tubo do garfo, como se indica nas imagens seguintes, para obter essa agressividade.

Monte o conjunto de engate nos furos superiores do suporte de paragem (Figure 11).
Alinhe a parte mais comprida do tubo do garfo para cima e monte-a por debaixo do conjunto de suporte (Figure 11).

Monte o conjunto de engate nos furos inferiores do suporte de paragem (Figure 12).
Alinhe a parte mais comprida do tubo do garfo para cima e monte-a por debaixo do conjunto de suporte (Figure 12).

Monte o conjunto de engate nos furos superiores do suporte de paragem (Figure 13).
Alinhe a parte mais comprida do tubo do garfo para cima e monte-a por cima do conjunto de suporte (Figure 13).

Monte o conjunto de engate nos furos inferiores do suporte de paragem (Figure 14).
Alinhe a parte mais comprida do tubo do garfo para cima e monte-a por cima do conjunto de suporte (Figure 14).
Pode ajustar o comprimento das ps para aumentar ou diminuir a penetrao do pino.
Desaperte os parafusos de montagem da p, mova a p para cima ou para baixo para a posio desejada e aperte os parafusos (Figure 15).

Desaperte as porcas e rode os parafusos de paragem do ancinho (Figure 16) para fora para limitar o curso horizontal de inclinao do ancinho. Aperte as porcas para bloquear o ajuste.

Pode instalar pesos opcionais nos ancinhos de acabamento se a areia for hmida ou grossa ou houver pegadas profundas na rea. Poder encomendar a pea N.18-7570 ao seu distribuidor Toro.
Close sectionRealize o procedimento seguinte para aumentar a altura do ancinho durante o transporte:
Baixe o ancinho e eleve o conjunto o menos possvel.
Desligue as correntes dos braos de elevao e volte a lig-las numa posio superior.
Note: Para assegurar o correto funcionamento do ancinho, as correntes tm de estar na posio de folga original antes de iniciar a operao.
Close sectionDepois da utilizao, limpe cuidadosamente a mquina. Uma vez que a mquina utilizada principalmente na areia e esta extremamente abrasiva, a areia deve ser eliminada atravs de lavagem depois de cada utilizao. Se a mquina for limpa frequentemente (antes de o material ter oportunidade de acumular), pode ser lavada com gua de uma mangueira sem bico. Um jato de elevada presso pode levar o material para reas em que pode agir como componente de moagem.
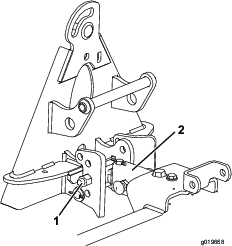
Note: Se o adaptador de acessrios ficar preso ao adaptador da unidade de trao, insira um p de cabra/uma chave de parafusos na ranhura de apoio para desencravar as peas (Figure 17).

Se a alavanca de bloqueio no adaptador de acessrios no se movimentar livre e facilmente, aplique uma leve camada de lubrificante na rea indicada na Figure 18.
