Underhåll
Smrja redskapshllaren
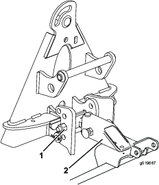
Om det inte gr att vrida lsspaken p redskapshllaren fritt och ltt, ska du stryka p ett tunt lager fett i det omrde som visas i Figure 18.

Ls den hr informationen noga s att du lr dig att anvnda och underhlla produkten p rtt stt, och fr att undvika person- och produktskador. Du r ansvarig fr att produkten anvnds p ett korrekt och skert stt.
Kontakta grna Toro direkt p www.Toro.com fr att f information om produkter och tillbehr, hjlp att hitta en terfrsljare eller fr att registrera din produkt.
Kontakta en auktoriserad terfrsljare eller Toros kundservice och ha produktens modell- och serienummer till hands om du har behov av service, Toro originaldelar eller ytterligare information. Figure 1 visar var du finner produktens modell- och serienummer. Skriv in numren i det tomma utrymmet.

I den hr bruksanvisningen anges potentiella risker och alla skerhetsmeddelanden har markerats med en varningssymbol (Figure 2), som anger fara som kan leda till allvarliga personskador eller ddsfall om freskrifterna inte fljs.

Tv ord anvnds ocks i den hr bruksanvisningen fr att markera information. Viktigt anger speciell teknisk information och Observera anger allmn information vrd att notera.
CALIFORNIA
Proposition 65 Warning
Den här produkten innehåller en eller flera kemikalier som av den amerikanska delstaten Kalifornien anses orsaka cancer, fosterskador och andra fortplantningsskador.
Användning av produkten kan orsaka kemikalieexponering som av den amerikanska delstaten Kalifornien anses orsaka cancer, fosterskador och andra fortplantningsskador.
![]() |
Skerhetsdekalerna och skerhetsinstruktionerna r fullt synliga fr fraren och finns nra alla potentiella farozoner. Erstt dekaler som har skadats eller saknas. |

Delar som behövs till detta steg:
| Tandkratta | 1 |
| Dragstngsrr | 1 |
| Sprintbult | 1 |
| Bricka | 2 |
| Saxpinne | 1 |
| Skruv (1/2 x 13/4tum) | 1 |
| Flnsmutter (1/2tum) | 1 |
| Sexkantsmutter (1/2tum) | 1 |
| Flnsskruv (3/8x1tum) | 1 |
| Flnsmutter (3/8tum) | 1 |
| Redskapshllare | 1 |
| Saxpinne | 2 |
| Lyftarmsenhet | 1 |
| Vridstng | 1 |
| Skruv (3/8 x 11/4tum) | 1 |
| Lsmutter (3/8tum) | 1 |
Fst dragstngsrret p dragkroken med en sprintbult, tv (2) brickor och en saxpinne p det stt som visas i Figure 3.
Note: Dragstngsrret kan fstas i olika lgen som kar eller minskar rfsans pverkan p sanden. Se Stlla in hgsta rfspinnspverkan i avsnitt .

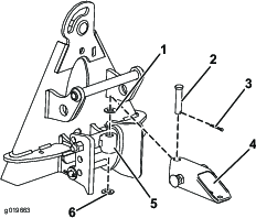
Montera dragstngsrret lst i det frmre hlet p hllaren (Figure 4). Fst med en skruv (1/2x13/4tum), flnsmutter (1/2tum) och sexkantsmutter (1/2tum).

Montera dragstngsrret lst i det bakre hlet p hllaren. Fst med en flnsskruv (3/8x1tum) och en flnsmutter (3/8tum).
Dra t muttrarna:
Flnsmutter (1/2tum) – 104–126Nm
Sexkantsmutter (1/2 tum) – 91–113Nm
Flnsmutter (3/8tum) – 22–27Nm
Rikta in lyftarmen efter fstet p redskapshllaren (Figure 5) och koppla ihop dem med hjlp av vridstngen i enlighet med Figure 6.
Note: Hll i handtaget p hllarens baksida nr du ska flytta redskapshllaren (Figure 5).


Fst vridstngen (Figure 6) med tre saxpinnar, en skruv (3/8x 11/4 tum) och en lsmutter (3/8tum).
Delar som behövs till detta steg:
| Skruv (3/8x 21/2tum) | 2 |
| Bricka (3/8x 7/8tum) | 4 |
| Distansbricka | 2 |
| Lsmutter (3/8tum) | 2 |
Om det sitter ngot redskap baktill p maskinen ska det tas bort.
Snk ned traktorenhetens hllare och backa sedan traktorn s att den str i rtt lge framfr redskapshllaren.
Note: Kontrollera att lsspaken r vriden t vnster (i det olsta lget), sett frn en position bakom maskinen.
Skjut p redskapshllaren p traktorns hllare.
Important: Lyftarmsenhetens lnga arm mste vara under traktorenhetens bakre ram (Figure 7).
Det finns en risk att klmma fingrarna mellan hllaren och traktorenhetens hllare.
Hll alltid i handtaget p baksidan av redskapshllaren nr du ska lyfta eller flytta redskapet (Figure 7).
Vrid lsspaken t hger fr att lsa ihop hllarna.
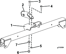
Fst kedjornas versta lnk p utsidan av lyftarmen (Figure 7) med en skruv (3/8x21/2tum), tv brickor (3/8x7/8tum), en distansbricka och en lsmutter (3/8tum).

Note: Fr att rfsan ska fungera som det r tnkt fr inte kedjorna vara spnda nr rfsan r i det nedsnkta lget (driftlget).
Note: Se till att alla finputsningsrfsor verlappar som de ska och ligger plant, samt att ingen kedja har trasslat ihop eller snott sig.
Montera och fst rfsan p traktorenheten och hj drefter upp redskapet.
Mt avstndet mellan den kraftiga brickan och lyftoksaxeln p redskapshllaren enligt Figure 8.
Note: Om lnken sitter rtt r det ett mellanrum p 1,5–2mm mellan den kraftiga brickan och lyftoksaxeln (Figure 8).

Lossa kontramuttern och dra t eller lossa justeringsmuttern p lnkenheten fr att justera avstndet om det r felaktigt (Figure 8).
Ls det hr rfsningsavsnittet innan du rfsar sandgropen. Vilka justeringar som br utfras p tandkrattan beror p flera faktorer som sandens struktur och djup, dess fukthalt, hur komprimerad den r och frekomsten av ogrs. Detta kan variera mellan olika banor eller till och med mellan olika sandgropar p en och samma bana. Justera rfsan s att du fr perfekt resultat dr du ska anvnda den.
va dig p att rfsa i en stor och plan sandgrop p banan. Prova att starta, stanna, svnga, hja och snka rfsan, kra ned i och upp ur sandgropen osv. Kr med medelhgt motorvarvtal i lg hastighet. Denna vningsperiod gr dig tryggare nr du ska anvnda maskinen.
Note: Backa inte traktorenheten nr redskapet r nedsnkt. Du kan orsaka skador p redskapet.
Close sectionOm sanden r tillrckligt djup kan du rfsa nda till kanten p sandgropen i plana omrden.
Om sand sprids ut p grsmattan br du hlla tillrckligt avstnd frn kanten fr att undvika att pverka jorden under den.
Rfsa inte fr nra en kort brant kant. Sanden kommer d bara att rinna ned i botten p sandgropen.
Du kan behva anvnda handrfsan fr att snygga till branta kanter och sm gropar m.m.
Close sectionRfsa sandgropen enligt mnstret som visas i Figure 10. Om du fljer mnstret slipper du ondig verlappning, samtidigt som du fr minimal komprimering och ett fint, jmnt mnster i sanden.
Kr ned i sandgropen mitt p kortsidan, dr det r som lttast att ta sig nedfr kanten, s att du kan kra ett lngt varv. Kr genom sandgropens mitt nstan nda bort till den motsatta kortsidan. Svng sedan s snvt du kan t endera hllet, och fortstt tillbaka precis intill den sand du rfsade i frsta varvet. Kr i en uttriktad cirkel ssom visas p bilden, och kr bort ifrn sandgropen i en rt vinkel i ett plant omrde.
Snygga till branta, korta kanter och sm gropar med en handrfsa.

Nr du kr ned i en sandgrop ska du inte snka ned rfsan frrn den befinner sig ver sanden. Om du snker ned den tidigare riskerar du att skra i grsmattan eller dra ned grsklipp och annat skrp i sandgropen. Snk ned rfsan medan maskinen r i rrelse.
Nr du kr upp ur sandgropen ska du brja hja upp rfsan nr framhjulet lmnar gropen. P s stt hjs rfsan nr maskinen kr upp ur sandgropen och du undviker att sanden dras ut p grset.
Genom erfarenhet och vning lr du dig snabbt nr du br utfra de olika momenten d du kr ned i och upp ur en sandgrop.
Close sectionDu kan ka eller minska rfsans intryck i sanden genom att ndra dess vinkel. Bestm hur stor pverkan ska vara och montera dragkroken och dragstngsrret i enlighet med anvisningarna nedan fr rtt pverkan.

Montera dragkroken i de versta hlen p stoppfstet (Figure 11).
Rikta lngsidan av dragstngsrret uppt och montera det p hllarens undersida (Figure 11).

Montera dragkroken i de nedersta hlen p stoppfstet (Figure 12).
Rikta lngsidan av dragstngsrret uppt och montera det p hllarens undersida (Figure 12).

Montera dragkroken i de versta hlen p stoppfstet (Figure 13).
Rikta lngsidan av dragstngsrret nedt och montera det p hllarens ovansida (Figure 13).

Montera dragkroken i de nedersta hlen p stoppfstet (Figure 14).
Rikta lngsidan av dragstngsrret nedt och montera det p hllarens ovansida (Figure 14).
Du kan justera slevarnas lngd fr att ka eller minska klons penetrering.
Lossa slevarnas fstskruvar, flytta sleven upp eller ned till nskat lge och dra t skruvarna (Figure 15).

Lossa kontramuttrarna och vrid stoppskruvarna p rfsan (Figure 16) utt s att rfsans vridning frn sida till sida begrnsas. Dra t kontramuttrarna fr att fixera justeringen.

Om sanden r fuktig eller grov, eller om det r djupa fotspr i sandgropen, kan du fsta extra vikter p finputsningsrfsorna. Bestll artikelnr 18-7570 av en auktoriserad Toro-terfrsljare.
Close sectionFlj anvisningarna nedan fr att hja rfsan infr en transport:
Snk ned rfsan och lyftenheten s lngt det gr.
Koppla bort kedjorna frn lyftarmarna och stt tillbaka dem hgre upp.
Note: Stt tillbaka kedjorna i det lge dr de inte r spnda innan du brjar att rfsa.
Close sectionRengr maskinen ordentligt efter rfsningen. Eftersom maskinen frmst anvnds i sandiga miljer med stor slipeffekt mste den tvttas av efter varje anvndningstillflle. Om du rengr maskinen ofta (innan sanden hinner fastna och klumpa ihop sig) gr det bra att anvnda en vattenstrle frn en slang utan munstycke. Om du anvnder en vattenstrle som sprutas ut under hgtryck kan sanden pressas in i slitageomrden och fungera som slipmassa.
Note: Om redskapshllaren fastnar i traktorenhetens hllare fr du in en bndstng eller skruvmejsel i bndppningen fr att dela p dem (Figure 17).

Om det inte gr att vrida lsspaken p redskapshllaren fritt och ltt, ska du stryka p ett tunt lager fett i det omrde som visas i Figure 18.
