, . .
Toro www.Toro.com , .
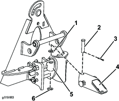
, Toro Toro. . Figure 1 . .

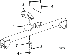
, (Figure 2), .

. – , , – , .
CALIFORNIA
Proposition 65 Warning
В соответствии с информацией, имеющейся в распоряжении компетентных органов штата Калифорния, данное вещество содержит химическое соединение (соединения), отнесенные к категории канцерогенных, способных вызвать врождённые пороки и оказывающих вредное воздействие на репродуктивную систему человека.
Лица, использующие данное вещество, должны иметь в виду, что, согласно информации, имеющейся в распоряжении компетентных органов штата Калифорния, оно содержит химическое соединение (соединения), отнесенные к категории канцерогенных, способных вызвать врождённые пороки и оказывающих вредное воздействие на репродуктивную систему человека.
Детали, требуемые для этой процедуры:
| 1 | |
| 1 | |
| 1 | |
| 2 | |
| 1 | |
| (1/2 1-3/4 ) | 1 |
| (1/2 ) | 1 |
| (1/2 ) | 1 |
| (3/8 x 1 ) | 1 |
| (3/8 ) | 1 |
| 1 | |
| 2 | |
| 1 | |
| 1 | |
| (3/8 x 1-1/4 ) | 1 |
| (3/8 ) | 1 |
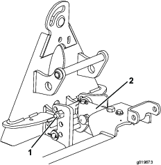
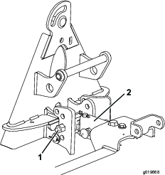
, 2 , Figure 3.

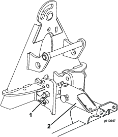
(Figure 4) (1/2 x 1-3/4 ), (1/2 ) (1/2 ).

(3/8 x 1 ) (3/8 ).
:
(1/2 )– 104 126∙.
(1/2 )– 91 113∙.
(3/8 )– 22 27∙.
Note: , (Figure 5).


(Figure 6) , (3/8 x 1-1/4 ) (3/8 ).
Детали, требуемые для этой процедуры:
| (3/8 x 2-1/2 ) | 2 |
| (3/8 x 7/8 ) | 4 |
| 2 | |
| (3/8 ) | 2 |
.
.
Note: , ( ), .
,
Important: (Figure 7).
, .
(Figure 7).
.
(Figure 7), (3/8 x 2-1/2 ), 2 (3/8 x 7/8 ), (3/8 ).

Note: () .
Note: , , .