CALIFORNIA
Proposition 65 Warning
Dette produktet inneholder et kjemikalie eller kjemikalier som staten California vet forårsaker kreft, fødselsdefekter eller forplantningsskade.
Note: Fastsl hva som er hyre og venstre side p maskinen ut i fra normal arbeidsstilling.
Note: Du kan lfte maskinen med en vinsj for f bedre tilgang p undersiden.
Parker maskinen p en jevn flate.
Sett p parkeringsbremsen.
Sl av motoren og ta ut nkkelen.
La motoren kjle seg ned.

Feilaktig ruting av batterikabler kan skade maskinen og kablene og forrsake gnister. Gnistene kan fre til at batterigassene eksploderer, noe som kan forrsake personskade.
Ta alltid av den negative (svarte) batterikabelen fr du kobler fra den positive (rde) kabelen.
Koble alltid til den positive (rde) batterikabelen fr du setter p den negative (svarte) kabelen.
Srg for at batteristroppen alltid er p plass, for beskytte og sikre batteriet.
Batteripolene eller metallverkty kan kortslutte mot metallkomponenter og forrsake gnister. Gnistene kan fre til at batterigassene eksploderer, noe som kan forrsake personskade.
Nr du fjerner eller monterer batteriet, m du passe p at batteripolene ikke berrer metalldeler p maskinen.
La ikke metallverkty kortslutte mellom batteripolene og metalldeler p maskinen.
Lastekassens vekt: ca. 57kg
Lft lsespaken p hver side av maskinen, nr det fremre hjrne av lasteplanet, og hev lasteplanet (Figure 3).

Sikre lasteplanet ved dra stttestangen inn i den bakre sperren p enden av sporet p maskinens venstre side (Figure 3).
Note: For maskiner med en bolt p stangens stttebrakett, m du dra stttestangen inn i den bakre sperren p enden av sporet i braketten.
Fest lfteutstyret til fremre og bakre del av lasteplanet.
Note: Hev lfteutstyret foran p lasteplanet til fronten p lasteplanet hviler p lfteutstyret.
Fjern hrnlssplinten og skiven som fester stttestangen til bunnen av planet (Figure 4).

Skyv stttestangen forover for fjerne den fra braketten p rammen (Figure 4).
Note: Ta vare p monteringsdelene for montering av lasteplanet.
Senk fronten av planet.
Fjern de fire flenshodeboltene (x1tomme) som fester lasteplanets hengselbraketter til den bakre rammekanalen p maskinen (Figure 5).
Note: Ta vare p monteringsdelene for montering av lasteplanet.

Lft lsespaken p hver side av maskinen, nr det fremre hjrne av lasteplanet (Figure 3).
Lft lasteplanet opp og av maskinen (Figure 6).

Fjern sekskantbolten (x5tomme) og lsemutter (tomme) fra de innvendige og utvendige lftebrakettene (Figure 7).
Note: Ta vare p monteringsdelene for montering av lasteplanet.
Fjern hrnlssplinten fra splittpinnen (3tomme), og fjern splittpinnen (3tomme) fra lfteaktuatorstaget (Figure 7).
Note: Ta vare p monteringsdelene for montering av lasteplanet.

Fjern de fire flenshodeboltene (x1tomme) som fester lasteplanets hengselbraketter til den bakre rammekanalen p maskinen (Figure 5).
Note: Ta vare p monteringsdelene for montering av lasteplanet.
Lft lasteplanet opp og av maskinen (Figure 6).
Se Figure 8 og Figure 9 for denne prosedyren.
Important: Pse at alle slanger og motorpninger dekkes eller tilstoppes etter frakobling, for forhindre at det kommer urenheter inn i drivstoffsystemet og motoren.
Note: Med mindre noe annet er angitt, ta vare p alle deler som fjernes i denne prosedyren, for senere montering.
Tm oljen fra motoren fr du fjerner motoren. Se brukerhndboken.
Koble choke- og gass-kablene fra motoren, men ikke fjern dem fra kabelbrakettene.
Koble luftinntakslangen fra luftrenseren.
Under visse forhold er drivstoff er meget brannfarlig og svrt eksplosivt. Brann eller eksplosjon forrsaket av drivstoff kan pfre deg og andre brannskader samt delegge eiendom.
Fyll aldri p drivstofftanken inni en lukket tilhenger.
Ryk aldri nr du hndterer drivstoff, og hold deg borte fra pen ild eller steder der drivstoffgass kan antennes av gnister.
Drivstoff m oppbevares p en godkjent kanne, utenfor barns rekkevidde. Kjp aldri mer drivstoff enn til 30dagers forbruk.
Under enkelte forhold ved fylling av drivstoff kan statisk elektrisitet utlses og fre til at gnister antenner drivstoffdamp. Brann eller eksplosjon forrsaket av drivstoff kan pfre deg og andre brannskader samt delegge eiendom.
Plasser alltid drivstoffbeholderne p bakken i god avstand fra maskinen fr du fyller drivstoff.
Ikke fyll opp drivstoffkannen inne i en maskin eller p en lastebil eller tilhenger, fordi tepper eller presenninger kan isolere kannen og hemme utladning av eventuell statisk elektrisitet.
Drivstoff kan fre til skader eller ddsfall hvis det svelges. Hvis du utsettes for damp fra drivstoff over lengre tid, kan dette fre til alvorlig skade og sykdom.
Unng innnding av damp fra drivstoff over lengre tid.
Hold ansiktet unna dyse og drivstofftankpning.
Hold drivstoffet unna yne og hud.
Koble drivstoffslangen fra drivstoffpumpen, og klem slangen slik at den ikke lekker.
Fjern eksosmanifolden fra motoren.
Skru ut de to oljeslangene fra koblingene i motoren.
Koble ledningsatsklemmen fra forsiden av motoren.


Deler som er nødvendige for dette trinnet:
| Motor | 1 |
| Luftinntaksslange | 1 |
| Slangeklemme – luftrenserside | 1 |
| Slangeklemme – motorside | 1 |
| Luftrenserbrakett | 1 |
| Bolt | 2 |
| Lsemutter | 2 |
| Mutter | 2 |
Se Figure 8 og Figure 9 for denne prosedyren.
Monter oljeslangekoblingene i siden av motoren.
Note: Monter den vinklede koblingen i den nedre pningen og monter den rette koblingen i den vre pningen.
Monter luftrenseren p luftrenserbraketten.
Monter luftrenserbraketten p motoren og monter luftinntakslangen med medflgende slangeklemmer.
Fest en kort del av kjedet mellom to lftepunkt p motoren og fest vinsjen til midten av kjedet.
Senk motoren forsiktig ned i maskinen. Bruk vinsj og la en annen person fre motoren ned i rammen.
Note: Veivakselen m vende mot hyre side av maskinen nr den er montert.
Skru kulebolten og fjrholderen i motoren, og fest fjren.
Monter choke- og gasskablene og kabelbrakettene p motoren.
Innrett startremmen med motorens remskiver.
Pfr clutchskruen et middels sterkt gjengeforseglingsmiddel (for eksempel bl Loctite® 242), og monter clutchenheten p motorens veivaksel.
Juster drivremmen med clutch-enheten.
Monter eksosmanifold p motoren og koble den til eksosrret med koblingsfjrene.
Monter de fire flensmuttere og fire hodeskruene som fester motoren til motorbrettet.
Skru de to oljeslangene til koblingene i motoren.
Note: Skru den rette slangeenden til den vinklede koblingen p motoren, og skru den vinklede slangeenden p den rette slangekoblingen.
Koble jordingskabelen til forsiden av motoren.
Koble drivstoffslangene til drivstoffpumpen.
Koble luftinntakslangen p luftrenseren og motoren med slangeklemmer.
Fyll motoren med olje. Se brukerhndboken.
Deler som er nødvendige for dette trinnet:
| Fremre rrramme | 1 |
| Hyre avstandsstykke for lasteplanet | 1 |
| Venstre avstandsstykke for lasteplanet | 1 |
| Avstandsstykke for planets dreieledd | 2 |
| Skrue | 4 |
| Lseskrue | 2 |
| Bolt | 4 |
| Mutter | 6 |
Fjern hengselbrakettenheten fra bunnen av det frittstende lasteplanet.
Plasser avstandsstykkene for planets dreieledd direkte over tapphylsene, og monter hengselbrakettenheten til lasteplanet med de lange skruene (Figure 10).

Plasser det fremre rammerret i linje med den fremre kanten av lasteplanets rammeenhet.
Koble det hyre avstandsstykket for lasteplanet til rrrammen foran med en bolt, og til lasteplanets rammeenhet med en lsebolt, som vist i Figure 11.

Important: Flytt alle komponenter som er bak rammen og i linje med boret fr boring.
P hyre side av maskinen, fjern solenoidbraketten og flytt den ut av borets bane (Figure 12).
Bor et hull i lasteplanets ramme med en monteringstapp fra lasteplanets avstandsstykke som mal, og fest rammen med en kort bolt og en mutter (Figure 12).

Gjenta trinnene p motsatt side av maskinen.
Roter lasteplanet slik at hengselbrakettenheten og stttestangen vender nedover (Figure 13).
Ved hjelp av lfteutstyr foran og bak p lasteplanet hever du lasteplanet og plasserer det over maskinens ramme, med hengselbrakettenheten vendt bakover (Figure 13).

Juster hyden og stillingen til lfteutstyret slik at det korte beinet til stttestangen er i linje med sperresporet i enden av stttestangsporet i den venstre rammekanalen eller stttestangbraketten (Figure 13).
Note: Du m vinkle lasteplanet med lfteutstyret for innrette stttestangen til sperresporet.
Sving stttestangen fremover og sett det korte beinet p stangen gjennom sperresporet (Figure 13 og Figure 14).
Flytt lasteplanet og stttestangen bakover til hengselbrakettenheten er innrettet over den bakre rammekanalen (Figure 14).

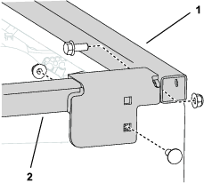
Senk lasteplanet forsiktig ned helt til hullene i hengselbrakettene er i linje med monteringshullene for lasteplanet i bakre rammekanal (Figure 15).
Fest hengselbrakettene til den bakre rammekanalen med de fire flenshodeboltene du fjernet tidligere (x1tomme), som vist i Figure 15.
Trekk til de fire flenshodeboltene med et moment p 37–45Nm.

Roter lasteplanet slik at hengselbrakettenheten og stttestangen vender nedover (Figure 13).
Ved hjelp av lfteutstyr foran og bak p lasteplanet hever du lasteplanet og plasserer det over maskinens ramme, med hengselbrakettenheten vendt bakover (Figure 13).
Fest lfteaktuatorstaget til de innvendige og utvendige lftebrakettene med sekskantskruen (x5tomme), lsemutteren (tomme), splittpinnen (3tomme) og hrnlssplinten du fjernet tidligere (Figure 16).

Fest hengselbrakettene til den bakre rammekanalen med de fire flenshodeboltene du fjernet tidligere (x1tomme), som vist i Figure 15.
Trekk til de fire flenshodeboltene med et moment p 37–45Nm.