CALIFORNIA
Proposition 65 Warning
Dit product bevat een chemische stof of chemische stoffen waarvan de Staat Californië weet dat ze kanker, geboorteafwijkingen en schade aan het voortplantingssysteem veroorzaken.
Note: Bepaal vanuit de normale bedieningspositie de linker- en rechterzijde van de machine.
Note: U kunt de machine ophijsen om de onderkant beter te kunnen bereiken.
Parkeer de machine op een horizontaal oppervlak.
Stel de parkeerrem in werking.
Zet de motor af en haal het sleuteltje uit het contact.
Laat de machine afkoelen.

Als accukabels verkeerd worden verbonden, kan dit schade aan de machine en de kabels tot gevolg hebben en vonken veroorzaken. Hierdoor kunnen accugassen tot ontploffing komen, waardoor lichamelijk letsel kan ontstaan.
Maak altijd de minkabel (zwart) van de accu los voordat u de pluskabel (rood) losmaakt.
Sluit altijd de pluskabel (rood) van de accu aan voordat u de minkabel (zwart) aansluit.
Zorg ervoor dat de accuhouder altijd op zijn plaats zit om de accu te beschermen en vast te zetten.
Accupolen of metalen gereedschappen kunnen kortsluiting maken met metalen onderdelen van de machine, waardoor vonken kunnen ontstaan. Hierdoor kunnen accugassen tot ontploffing komen en lichamelijk letsel veroorzaken.
Zorg ervoor dat bij het verwijderen of installeren van de accu de accupolen niet in aanraking komen met metalen onderdelen van de machine.
Voorkom dat metalen gereedschappen kortsluiting veroorzaken tussen de accupolen en metalen onderdelen van de machine.
Gewicht laadbak: ongeveer 57kg
Zet de handgreep van de vergrendeling aan beide kanten van de machine bij de voorste hoek van de laadbak omhoog en zet de laadbak helemaal omhoog (Figure 3).

Zet de laadbak vast door de steunstang in de achterste pal te trekken aan het einde van de sleuf in de linkerkant van de machine (Figure 3).
Note: Voor machines met een steunstangbeugel die met bouten bevestigd zit: trek de steunstang in de achterste pal aan het einde van de sleuf in de beugel.
Bevestig het hijswerktuig aan de voor- en achterkant van de laadbak.
Note: Breng het hijswerktuig aan de voorkant van de laadbak omhoog tot deze de voorkant van de laadbak draagt.
Verwijder de R-pen en ring waarmee de steunstang aan de onderkant van de laadbak is bevestigd (Figure 4).

Schuif de steunstang naar voren om deze van de beugel op het frame te verwijderen (Figure 4).
Note: Bewaar al het bevestigingsmateriaal voor de montage van de laadbak.
Laat de voorkant van de laadbak zakken.
Verwijder de 4 flenskopbouten ("x 1") waarmee de scharnierbeugels van de laadbak vastzitten aan het achterframekanaal van de machine (Figure 5).
Note: Bewaar al het bevestigingsmateriaal voor de montage van de laadbak.

Zet de handgreep van de vergrendeling aan beide kanten van de machine bij de voorste hoek van de laadbak omhoog (Figure 3).
Breng de laadbak omhoog en til hem van de machine (Figure 6).

Verwijder de zeskantbout (" x 5") en borgmoer (") uit de binnenste en buitenste hefbeugel (Figure 7).
Note: Bewaar al het bevestigingsmateriaal voor de montage van de laadbak.
Verwijder de R-pen uit de gaffelpen (3") en verwijder de gaffelpen (3") uit de stang van de hefactuator (Figure 7).
Note: Bewaar al het bevestigingsmateriaal voor de montage van de laadbak.

Verwijder de 4 flenskopbouten ("x 1") waarmee de scharnierbeugels van de laadbak vastzitten aan het achterframekanaal van de machine (Figure 5).
Note: Bewaar al het bevestigingsmateriaal voor de montage van de laadbak.
Breng de laadbak omhoog en til hem van de machine (Figure 6).
Raadpleeg Figure 8 en Figure 9 voor deze procedure.
Important: Om te voorkomen dat verontreinigende stoffen in het brandstofsysteem en de motor komen, moet u alle slangen en openingen van de motor bedekken of afsluiten met een plug voordat u de motor loskoppelt.
Note: Bewaar alle onderdelen die tijdens deze procedure worden verwijderd voor latere montage tenzij anders vermeld.
Laat alle olie uit de motor lopen voordat u de motor verwijdert; raadpleeg uw Gebruikershandleiding.
Koppel de choke- en de gaskabel los van de motor, maar verwijder ze niet van de kabelbeugels.
Koppel de luchtinlaatslang af van het luchtfilter.
In bepaalde omstandigheden is brandstof uiterst ontvlambaar en zeer explosief. Brand of explosie van brandstof kan brandwonden bij u of anderen en materile schade veroorzaken.
Vul de brandstoftank nooit als de machine in een gesloten aanhanger staat.
Rook nooit wanneer u met brandstof bezig bent en houd de brandstof weg van open vlammen of vonken.
Brandstof in een goedgekeurd vat of blik en buiten bereik van kinderen bewaren. Koop nooit meer brandstof dan u in 30dagen kunt opmaken.
In bepaalde omstandigheden kan tijdens het tanken statische elektriciteit worden opgewekt waardoor vonken ontstaan die benzinedampen tot ontbranding kunnen brengen. Brand of explosie van brandstof kan brandwonden bij u of anderen en materile schade veroorzaken.
Zet brandstofvaten altijd op de grond en uit de buurt van de machine voordat u de tank bijvult.
Brandstofvaten niet in een machine of vrachtwagen of op aanhanger vullen, omdat bekleding of kunststof beplating het vat kunnen isoleren en de afvoer van statische lading kunnen bemoeilijken.
Brandstof is schadelijk of dodelijk bij inname. Langdurige blootstelling aan dampen kan leiden tot ernstig letsel en ziekte.
Voorkom dat u dampen lange tijd inademt.
Houd uw gezicht uit de buurt van het vulpistool en de opening van de brandstoftank.
Houd brandstof uit de buurt van ogen en huid.
Koppel de brandstoftoevoerslang los van de brandstofpomp; klem de slang af zodat de brandstof niet lekt.
Verwijder het uitlaatspruitstuk van de motor.
Draai de 2 olieslangen los van hun fittings in de motor.
Koppel de aansluiting van de kabelboom los van de voorkant van de motor.


Benodigde onderdelen voor deze stap:
| Motor | 1 |
| Luchtinlaatslang | 1 |
| Slangklem - kant van luchtfilter | 1 |
| Slangklem - kant van motor | 1 |
| Beugel van luchtfilter | 1 |
| Bout | 2 |
| Borgmoer | 2 |
| Moer | 2 |
Raadpleeg Figure 8 en Figure 9 voor deze procedure.
Monteer de olieslangfittings in de zijkant van de motor.
Note: Monteer de elleboogfitting in de onderste opening en monteer de rechte fitting in de bovenste opening.
Monteer het luchtfilter op de beugel van het luchtfilter.
Monteer de beugel van het luchtfilter op de motor en monteer de luchtinlaatslang met de voorziene slangklemmen.
Bevestig een kort stuk ketting tussen 2 hefpunten op de motor en sluit de takel aan op het midden van de ketting.
Laat de motor zachtjes zakken in de machine; hierbij bedient een persoon de takel en leidt een andere persoon de motor in het frame.
Note: De krukas moet naar de rechterkant van de machine gericht zijn wanneer hij wordt gemonteerd.
Draai de kogelbout en veerhouder in de motor en bevestig de veer.
Sluit de choke- en de gaskabel aan op de motor en monteer de kabelbeugels op de motor.
Lijn de riem van de starter uit met de motorpoelies.
Breng schroefdraadborgmiddel met gemiddelde sterkte (zoals Blue Loctite® 242) aan op de schroef van de koppeling en monteer de koppeling op de krukas van de motor.
Lijn de drijfriem uit met de koppeling.
Monteer het uitlaatspruitstuk aan de motor en sluit het aan op de uitlaatpijp met de koppelingsveren.
Bevestig de motor met de 4 flensmoeren en 4 inbusbouten aan de motorbak.
Draai de 2 olieslangen vast in hun fittings in de motor.
Note: Draai het rechte uiteinde van de slang op de elleboogfitting van de motor en draai het slanguiteinde met de elleboog op de rechte slangfitting.
Sluit de aardingskabel aan op de voorkant van de motor.
Sluit de brandstoftoevoerslang aan op de brandstofpomp.
Sluit de luchtinlaatslang met slangklemmen aan op het luchtfilter en de motor.
Vul de motor met olie; raadpleeg uw Gebruikershandleiding.
Benodigde onderdelen voor deze stap:
| Voorste buisframe | 1 |
| Rechter afstandsstuk van de laadbak | 1 |
| Linker afstandsstuk van de laadbak | 1 |
| Afstandsstuk van de scharnierinrichting van de laadbak | 2 |
| Schroef | 4 |
| Slotbout | 2 |
| Bout | 4 |
| Moer | 6 |
Verwijder de scharnierbeugel van de onderkant van de losgemaakte laadbak.
Plaats de afstandsstukken van de scharnierinrichting van de laadbak op de draaibussen en monteer de scharnierbeugel met de lange schroeven op de laadbak (Figure 10).

Plaats het voorste buisframe gelijk met de voorste rand van het laadbakframe.
Bevestig het rechter afstandsstuk van de laadbak met een bout aan het voorste buisframe en met een slotbout aan het laadbakframe zoals afgebeeld op Figure 11.

Important: Verplaats onderdelen die achter het frame in de weg van de boor zitten voordat u begint te boren.
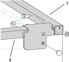
Maak aan de rechterkant van de machine de beugel van de solenode los en plaats deze uit de weg van de boor (Figure 12).
Boor een gat in het frame van de laadbak. Gebruik hierbij de bevestigingslip van het zijafstandsstuk van de laadbak als sjabloon en zet het frame vast met een korte bout en een moer (Figure 12).

Herhaal deze stappen aan de andere kant van de machine.
Draai de laadbak zo dat de scharnierbeugel en de steunstang naar beneden gericht zijn (Figure 13).
Til de laadbak op met een hijswerktuig aan de voor- en achterkant en lijn de laadbak met de scharnierbeugel naar achteren uit met het frame van de machine (Figure 13).

Stel de hoogte en positie van het hijswerktuig zo in dat de korte poot van de steunstang uitgelijnd is met de borgsleuf aan het uiteinde van de sleuf voor de steunstang in het kanaal in het linkerframe of de steunstangbeugel (Figure 13).
Note: U moet de laadbak met het hijswerktuig scheef hangen om de steunstang uit te lijnen met de borgsleuf.
Draai de steunstang naar voren en steek de korte poot van de stang door de borgsleuf (Figure 13 en Figure 14).
Verplaats de laadbak en de steunstang naar achteren tot de scharnierbeugel precies boven het achterframekanaal hangt (Figure 14).

Laat de laadbak voorzichtig zakken tot de openingen in de scharnierbeugels precies boven de montageopeningen voor de laadbak in het achterframekanaal hangen (Figure 15).
Bevestig de scharnierbeugels aan het achterframekanaal met de 4 eerder verwijderde flenskopbouten ("x 1") zoals getoond op Figure 15.
Draai de 4 flenskopbouten vast met een torsie van 37-45Nm.

Draai de laadbak zo dat de scharnierbeugel en de steunstang naar beneden gericht zijn (Figure 13).
Til de laadbak op met een hijswerktuig aan de voor- en achterkant en lijn de laadbak met de scharnierbeugel naar achteren uit met het frame van de machine (Figure 13).
Bevestig de stang van de hefactuator met de eerder verwijderde zeskantbout (" x 5"), borgmoer ("), gaffelpen (3") en R-pen aan de binnenste en buitenste hefbeugel (Figure 16).

Bevestig de scharnierbeugels aan het achterframekanaal met de 4 eerder verwijderde flenskopbouten ("x 1") zoals getoond op Figure 15.
Draai de 4 flenskopbouten vast met een torsie van 37-45Nm.