CALIFORNIA
Proposition 65 Warning
米国カリフォルニア州では、この製品に、ガンや先天性異常などの原因となる化学物質が含まれているとされております。
Note: 前後左右は運転位置からみた方向です。
Note: ホイストなどで車両を吊り上げて下からアクセスしても構いませんし、
平らな場所に駐車する。
駐車ブレーキを掛ける。
エンジンを止め、キーを抜き取る。
マシンが冷えるのを待つ。

バッテリーケーブルの接続手順が不適切であるとケーブルがショートを起こして火花が発生する。それによって水素ガスが爆発を起こし人身事故に至る恐れがある。
ケーブルを取り外す時は、必ずマイナス(黒)ケーブルから取り外し、次にプラス(赤)ケーブルを外す。
ケーブルを取り付ける時は、必ずプラス(赤)ケーブルから取り付け、それからマイナス(黒)ケーブルを取り付ける。
バッテリー押さえは必ず取り付ける。
バッテリーの端子に金属製品や車体の金属部分が触れるとショートを起こして火花が発生する。それによって水素ガスが爆発を起こし人身事故に至る恐れがある。
バッテリーの取り外しや取り付けを行うときには、端子と金属を接触させないように注意する。
バッテリーの端子と金属を接触させない。
荷台の重量:約 57kg
車両の両側(荷台前側の角部近く)にあるラッチレバーを持ち上げて、荷台を完全に上昇させる(Figure 3)。

荷台が上がったら、支え棒を、車体左側についているスロットの奥までいれて荷台を支える(Figure 3)。
Note: ロッドサポートブラケットにボルトが入っている車両の場合には、ブラケットのスロットの後ろ側の穴に支え棒を入れてください。
荷台の前後に吊り上げ用のホイストを接続する。
Note: 荷台の前側をホイストで少し持ち上げて支える。
支え棒を荷台の裏側に固定しているヘアピンコッターとワッシャを外す(Figure 4)。

支え棒を前にずらしてフレームのブラケットから外す(Figure 4)。
Note: 金具類は後で荷台の取り付けに使用するので捨てないでください。
荷台の前側を降ろす。
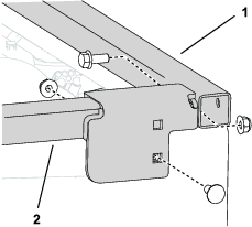
荷台のヒンジブラケットを車体の後フレームチャネル部材に固定しているフランジヘッドボルト(4本: x 1 インチ)を外す(Figure 5)。
Note: 金具類は後で荷台の取り付けに使用するので捨てないでください。

車両の両側(荷台前側の角部近く)にあるラッチレバーを持ち上げる(Figure 3)。
荷台を車体から浮かせて車体から取り外す(Figure 6)。

車両の内側と外側の昇降ブラケットから、六角ヘッドボルト( x 5 インチ) とロックナット( インチ)を取り外す(Figure 7)。
Note: 金具類は後で荷台の取り付けに使用するので捨てないでください。
スライドロックブラケットの下側の穴にあるクレビスピン(3 インチ)からヘアピンコッターを抜いてクレビスピン(3 インチ)を抜き取る(Figure 7)。
Note: 金具類は後で荷台の取り付けに使用するので捨てないでください。

荷台のヒンジブラケットを車体の後フレームチャネル部材に固定しているフランジヘッドボルト(4本: x 1 インチ)を外す(Figure 5)。
Note: 金具類は後で荷台の取り付けに使用するので捨てないでください。
荷台を車体から浮かせて車体から取り外す(Figure 6)。
手順についてはFigure 8とFigure 9を参照してください。
Important: エンジン内部や燃料系統への異物の進入を防止するため、ホース等を取り外したら、必ずホースおよびエンジンの開口部をカバーやプラグで塞いでください。
Note: 別途明記しない限り、この作業中に外したパーツはすべて再利用します。
エンジンを取り出す前に、エンジンオイルを抜き取る; オペレーターズマニュアルを参照。
エンジンについているチョークケーブルとスロットルケーブルを取り外す。ケーブルブラケットからは取り外さない。
エアクリーナから、エアインテークホースを取り外す。
燃料は非常に引火・爆発しやすい物質である。発火したり爆発したりすると、やけどや火災などを引き起こす。
箱型トレーラに本機を搭載した状態では、絶対に本機への燃料補給をしてはならない。
燃料取り扱い中は禁煙を厳守し、火花や炎を絶対に近づけない。
燃料は安全で汚れのない認可された容器に入れ、子供の手の届かない場所で保管する。30 日分以上の買い置きは避ける。
燃料を補給中に、静電気による火花が燃料に引火する危険がある。発火したり爆発したりすると、やけどや火災などを引き起こす。
燃料容器は車から十分に離し、地面に直接置いて給油する。
車に乗せたままの容器に燃料を補給しない。車両のカーペットやプラスチック製の床材などが絶縁体となって静電気の逃げ場がなくなるので危険である。
燃料を飲み込むと非常に危険で生命に関わる。また、気化した燃料に長期間ふれると身体に重篤な症状や疾病を引き起こす。
燃料ガスを長時間吸い込むのは避けること。
ノズルや燃料タンクの注入口に顔を近づけないこと。
目や皮膚に燃料が付着しないようにすること。
燃料ポンプから燃料取り入れホースを外し、燃料が漏れないようにホースにクランプを掛ける。
エンジンから排気マニホルドを外す。
エンジンについているフィッティングから 2 本のオイルホースを外す。
エンジンの前部についているワイヤハーネス端子を外す。


この作業に必要なパーツ
| エンジン | 1 |
| エアインテーク・ホース | 1 |
| ホースクランプ(エアクリーナ側) | 1 |
| ホースクランプ(エンジン側) | 1 |
| エアクリーナブラケット | 1 |
| ボルト | 2 |
| ロックナット | 2 |
| ナット | 2 |
手順についてはFigure 8とFigure 9を参照してください。
エンジンの側面に、オイルホース用フィッティングを取り付ける。
Note: 下穴にエルボフィッティングを取り付け、上穴にストレートフィッティングを取り付ける。
エアクリーナブラケットにエアクリーナを取り付ける。
エンジンにエアクリーナブラケットを取り付け、キット付属のホースクランプでエアインテークホースを取り付ける。
チェーンの短い方の部分を、エンジンの 2 つの吊り上げポイントに取り付け、チェーンの中央にホイストを取り付ける。
一人がホイストを操作し、もう一人がエンジンに付いて、ゆっくりとエンジンを車両に降ろす。
Note: クランクシャフトが車両の右側にあるのが正しい取り付け方向です。
エンジンにボールスタッドとスプリングキーパーを取り付け、スプリングを取り付ける。
エンジンにケーブルブラケットを取り付け、チョークケーブル、スロットルケーブルを接続する。
スタータベルトをエンジンプーリに整列させる。
クラッチねじに、中程度のねじ山ロッキングコンパウンド(例、Blue Loctite® 242)を塗り、そのねじでクラッチアセンブリをエンジンのクランクシャフトに取り付ける。
駆動ベルトをクラッチアセンブリに整列させる。
エンジンを排気マニホルドを取り付け、マニホルドと排気管をカップラスプリングで相互に接続する。
フランジナット(4個)とキャップスクリュ(4本)でエンジンをエンジントレイに固定する。
2 本のオイルホースをエンジンに取り付ける。
Note: 真っ直ぐなホースをエンジンのエルボフィッティングに取り付け、エルボのホースをストレートフィッティングに取り付けてください。
エンジンの前側にアース線を接続する。
燃料ポンプに燃料取り入れホースを接続する。
エアインテークホースをエアクリーナとエンジンに取り付ける;外したホースクランプを使用する。
エンジンにオイルを入れる;オペレーターズマニュアルを参照。
この作業に必要なパーツ
| 前側チューブフレーム | 1 |
| 右側荷台スペーサアセンブリ | 1 |
| 左側荷台スペーサアセンブリ | 1 |
| ピボット荷台スペーサ | 2 |
| ねじ | 4 |
| キャリッジボルト | 2 |
| ボルト | 4 |
| ナット | 6 |
荷台の底部からヒンジブラケットアセンブリを外す。
ピボット荷台スペーサをピボットブッシュに直接整列させ、長いねじを使って、ヒンジブラケットアセンブリを荷台に取り付ける(Figure 10)。

前チューブフレームを荷台フレームアセンブリの前端と面一になるようにセットする。
右側荷台スペーサアセンブリを前チューブフレームにボルト接続し、荷台フレームアセンブリにキャリッジボルトでFigure 11のように取り付ける。

Important: 穴あけ時にドリルに接触しそうな部材はすべて外すか移動してください。
機体の右側で、ソレノイドブラケットを外してドリルの邪魔にならないようにする(Figure 12)。
側面用荷台スペーサアセンブリの取り付けタブを型紙として使用して荷台フレームアセンブリにドリルで穴を開け、短いボルトとナットでフレームアセンブリを固定する(Figure 12)。

機体の反対側でも同じ作業を行う。
ヒンジブラケットアセンブリと支え棒が下になるように荷台を裏返しにする(Figure 13)。
荷台の前後にホイストなどの昇降装置を使って荷台を吊り上げ、ヒンジブラケットアセンブリを後ろ側にむけて、車体に装着できるように位置合わせを行う (Figure 13)。

支え棒の短い方の脚が左フレームのチャネルのスロット(または支え棒ブラケットのスロット)のディテントスロットにそろうように、昇降装置の高さおよび位置を調整する (Figure 13)。
Note: 支持棒とディテントスロットを合わせる際には、昇降装置で荷台を少し上昇させる必要があります。
荷台と支持棒を後ろにずらして、ヒンジブラケットアセンブリを後フレームのチャネルに整列させる (Figure 14)。

ヒンジブラケットの穴と車体の後フレームチャネルにある荷台取り付け穴とが整列するように、荷台を車体上に注意深く降ろす (Figure 15)。
Figure 15のように、ヒンジブラケットを後フレームチャネルに固定する;先ほど外したフランジヘッドボルト( x 1 インチ)4本を使用する。
フランジヘッドボルト(4本)を 37~45Nm (4.6~6.2kg.m = 27~33ft-lb)にトルク締めする。

ヒンジブラケットアセンブリと支え棒が下になるように荷台を裏返しにする(Figure 13)。
荷台の前後にホイストなどの昇降装置を使って荷台を吊り上げ、ヒンジブラケットアセンブリを後ろ側にむけて、車体に装着できるように位置合わせを行う (Figure 13)。
昇降アクチュエータのロッドを、車両内側と外側の昇降ブラケットに固定する;外して保存しておいて六角ヘッドボルト( x 5 インチ)、ロックナット( インチ)、クレビスピン(3 インチ)、ヘアピンコッターを使用する(Figure 16)。

Figure 15のように、ヒンジブラケットを後フレームチャネルに固定する;先ほど外したフランジヘッドボルト( x 1 インチ)4本を使用する。
フランジヘッドボルト(4本)を 37~45Nm (4.6~6.2kg.m = 27~33ft-lb)にトルク締めする。