CALIFORNIA
Proposition 65 Warning
Den här produkten innehåller en eller flera kemikalier som av den amerikanska delstaten Kalifornien anses orsaka cancer, fosterskador och andra fortplantningsskador.
Note: Vnster och hger sida p maskinen r lika med frarens vnstra respektive hgra sida vid normal krning.
Parkera maskinen p en plan yta.
Koppla in parkeringsbromsen.
Stng av motorn och tag ut nyckeln.
Hj upp lastflaket. Se maskinens bruksanvisning.
Koppla loss batteriet. Se maskinens bruksanvisning.
Delar som behövs till detta steg:
| Kablage | 1 |
| Timermodul | 1 |
| Rel | 1 |
| Skruv | 2 |
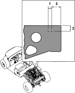
Dra och anslut kablaget med hjlp av fljande anvisningar och illustrationer. Se Figure 1 fr en versikt ver kablagets placering.

Ta bort kpan frn starta/kr-elektromagneten (Figure 4).

Anvnd elektromagnetsmuttern och lsbrickan fr att fsta ringkopplingen p elektromagneten (Figure 5).

Montera kpan ver elektromagneten.
Anslut kablaget till timermodulen och relet (Figure 6).

Montera ringkopplingen p motorns magnet. Se Figure 1 fr kablagets placering.
Delar som behövs till detta steg:
| Kabelband | 3 |
Anslut batteriets pluskabel till batteriets pluspol. Se maskinens bruksanvisning.
Anslut kablagets ringkoppling till batteriets minuspol. Se Figure 1 fr kablagets placering.
Anslut batteriets minuskabel till batteriets minuspol. Se maskinens bruksanvisning.
Anvnd tre kabelband fr att fsta satskablaget vid det befintliga kablaget. Se Figure 7 fr kabelbandens placering.
