CALIFORNIA
Proposition 65 Warning
米国カリフォルニア州では、この製品に、ガンや先天性異常などの原因となる化学物質が含まれているとされております。
Note: 前後左右は運転位置からみた方向です。
平らな場所に駐車する。
駐車ブレーキを掛ける。
エンジンを止め、キーを抜き取る。
荷台を上昇させる; マシンのオペレーターズマニュアルを参照。
バッテリーの接続を外す; マシンのオペレーターズマニュアルを参照。
この作業に必要なパーツ
| ワイヤハーネス | 1 |
| タイマーモジュール | 1 |
| リレー | 1 |
| ねじ | 2 |
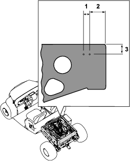
以下の説明と図に従ってワイヤハーネスの配設を行います。ワイヤハーネスの位置についてはFigure 1を参照してください。
