CALIFORNIA
Proposition 65 Warning
Dit product bevat een chemische stof of chemische stoffen waarvan de Staat Californië weet dat ze kanker, geboorteafwijkingen en schade aan het voortplantingssysteem veroorzaken.
Note: Bepaal vanuit de normale bedieningspositie de linker- en rechterzijde van de machine.
Parkeer de machine op een horizontaal oppervlak.
Stel de parkeerrem in werking.
Zet de motor af en haal het sleuteltje uit het contact.
Zet de laadbak omhoog; raadpleeg de Gebruikershandleiding van uw machine.
Koppel de accu los; raadpleeg de Gebruikershandleiding die bij uw machine hoort.
Benodigde onderdelen voor deze stap:
| Kabelboom | 1 |
| Timermodule | 1 |
| Relais | 1 |
| Schroef | 2 |
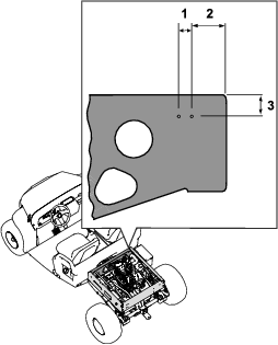
Gebruik de volgende instructies en tekeningen om de kabelboom te leiden en aan te sluiten. Raadpleeg Figure 1 voor een overzicht van de kabelboomlocatie.

Verwijder de kap van de start/lopen solenode (Figure 4).

Gebruik de moer en borgring van de solenode om de ringconnector aan de solenode te bevestigen (Figure 5).

Plaats de kap over de solenode.
Sluit de kabelboom aan op de timermodule en het relais (Figure 6).

Monteer de ringconnector aan de magneetonsteking van de motor; raadpleeg Figure 1 voor de kabelboomlocatie.
Benodigde onderdelen voor deze stap:
| Kabelbinder | 3 |
Maak de pluskabel vast aan de pluspool van de accu; raadpleeg de Gebruikershandleiding van uw machine.
Sluit de ringconnector van de kabelboom aan op de minpool van de accu; raadpleeg Figure 1 voor de kabelboomlocatie.
Maak de minkabel vast aan de minpool van de accu; raadpleeg de Gebruikershandleiding van uw machine.
Bevestig de kabelboom van de set met 3 kabelbinders aan de bestaande kabelboom; zie Figure 7 voor de kabelboomlocatie.
