CALIFORNIA
Proposition 65 Warning
Este producto contiene una o más sustancias químicas que el Estado de California considera causantes de cáncer, defectos congénitos o trastornos del sistema reproductor.
Note: Los lados derecho e izquierdo de la mquina se determinan desde la posicin normal del operador.
Aparque la mquina en una superficie nivelada.
Accione el freno de estacionamiento.
Apague el motor y retire la llave.
Eleve la plataforma de carga; consulte el Manual del operador de la mquina.
Desconecte la batera; consulte el Manual del operador de su mquina.
Piezas necesarias en este paso:
| Arns de cables | 1 |
| Mdulo regulador | 1 |
| Rel | 1 |
| Tornillo | 2 |
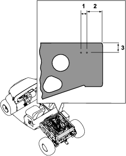
Utilice las siguientes instrucciones e ilustraciones para enrutar y conectar el arns de cables. La Figure 1 muestra la posicin general del arns de cables.

Retire la tapa del solenoide de arranque/marcha (Figure 4).

Utilice la tuerca y la arandela de freno del solenoide para sujetar el terminal de anillo al solenoide (Figure 5).

Instale la tapa sobre el solenoide.
Conecte el arns de cables al mdulo regulador y al rel (Figure 6).

Conecte el terminal de anillo al magneto del motor; consulte la posicin del arns de cables en la Figure 1.
Piezas necesarias en este paso:
| Brida | 3 |
Conecte el cable positivo de la batera al borne positivo de la batera; consulte el Manual del operador de la mquina.
Conecte el terminal de anillo del arns de cables al borne negativo de la batera; consulte la posicin del arns de cables en la Figure 1.
Conecte el cable negativo de la batera al borne negativo de la batera; consulte el Manual del operador de la mquina.
Utilice 3 bridas para sujetar el arns de cables del kit al arns de cables existente; consulte la posicin de las bridas en la Figure 7.
