Important: Ordet kraftuttaksbryter tilsvarer innkoblingsbryteren for klippeenheten.
CALIFORNIA
Proposition 65 Warning
Dette produktet inneholder et kjemikalie eller kjemikalier som staten California vet forårsaker kreft, fødselsdefekter eller forplantningsskade.
Batteriklemmer eller metallverkty kan kortslutte mot metallkomponenter og forrsake gnister. Gnistene kan fre til at batterigassene eksploderer, noe som kan forrsake personskade.
Nr du fjerner eller monterer batteriet, m du passe p at batteripolene ikke berrer metalldeler p maskinen.
La ikke metallverkty kortslutte mellom batteripolene og metalldeler p maskinen.
Feilaktig ruting av batterikabler kan skade maskinen og kablene og forrsake gnister. Gnistene kan fre til at batterigassene eksploderer, noe som kan forrsake personskade.
Ta alltid av den negative (svarte) batterikabelen fr du kobler fra den positive (rde) kabelen.
Koble alltid til den positive (rde) batterikabelen fr du setter p den negative (svarte) kabelen.
Finn koblingsskjemaet for maskinen. Se i brukerhndboken, delekatalogen, servicehndboken, eller hndboken for elektronikkskjema for produktet.
Flytt maskinen til en jevn flate.
Senk klippeenhetene, aktiver parkeringsbremsen, stans motoren og fjern nkkelen fra tenningen.
Koble den negative batterikabelen fra batteriet. Se maskinens brukerhndbok.
pne kontrollpanelet til maskinen for f tilgang til kraftuttaksbryteren.

I hydraulikkretstabellen nedenfor, noter fargene p ledningene koblet til kontakten med 5 sokler (Figure 1) med de tilhrende bokstavene for kraftuttaksbryterkontakten:
Note: Maskinen har enten 4 eller 5 ledninger i kraftuttakskontakten med 5 sokler.
| Bryterkontaktkretser | Registrer fargen p ledningene nedenfor: |
|---|---|
| (eksempel) | (eksempel) |
| A | |
| B (marker ledningen til kontakten med 5 sokler) | |
| C (marker ledningen til kontakten med 5 sokler) | |
| D | |
| E |
Bruk elektrikerteip og sett merkelapper p ledningene til kontakten med 5 sokler som er innrettet med kraftuttaksbryterkretskontaktene B og C (Figure 1).
Fjern kontakten med 5 sokler fra kraftuttaket.
Fjern lsemutteren og ls intern-tannskiven som fester kraftuttaksbryteren til kontrollpanelet.
Fjern kraftuttaksbryteren fra kontrollpanelet.
Deler som er nødvendige for dette trinnet:
| Adapterledningssats | 1 |
| Kraftuttaksbryter | 1 |
Note: Ledningssatsadapteren har ledninger med isolasjonsfarger for flere maskiner. Du trenger ikke mer enn fem ledninger p adapterens ledningssats.
Identifiser fargene p ledningene i adapterens ledningssats som ikke er i maskinledningssatsen i kontakten med fem sokler for kraftuttaksbryteren (Figure 2).

Fjern ledningene med isolasjonsfargene du fant i trinn 1.
I enden med kontakten med 5 sokler for kraftuttaket, klipp ledningene nr kontakten (Figure 3).

Stripp av 9mm med isolasjon fra endene av ledningene som du kuttet i trinn 1.
Match fargen p ledningene du strippet i trinn 2 til farge p ledningene i ledningssatsadapteren (Figure 3).
Fr kabelen inn i endeskjtkoblingen og press den sammen (Figure 3).
Bruk en varmepistol til krympe de isolerende hylsene p de tre endeskjtkoblingene
Gjenta trinn 3 til og med 5 for de gjenvrende ledningene i kraftuttaksbryterkretsene (Figure 3).
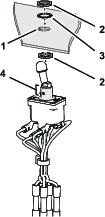
Identifiser slissene i nkkelgangen i de nye og gamle kraftuttaksbryterne (Figure 4).

Med nkkelgangsporene innrettet, finn kontaktplasseringene for de nye og gamle kraftuttaksbryterne (Figure 5).

Fjern skruen og lseskiven for krets B fra den nye kraftuttaksbryteren (Figure 5).
Bruk hydraulikkretstabellen i Fjerne kraftuttaksbryteren, og monter ringklemmene p ledningssatsadapteren for bryterkontaktkretser B (merket med teip) p den nye kraftuttaksbryteren med maskinskruen og lseskiven (Figure 6).

Fjern skruen og lseskiven for krets C fra den nye kraftuttaksbryteren (Figure 5).
Bruk hydraulikkretstabellen i Fjerne kontakten med 5 sokler, og monter ringklemmene p ledningssatsadapteren for bryterkontaktkretser C (merket med teip) p den nye kraftuttaksbryteren med maskinskruen og lseskiven (Figure 6).
Bruk hydraulikkretstabellen og monter ringklemmene for kontaktkretser A, D og E (hvis aktuelt) til den nye kraftuttaksbryteren med maskinskruene og lseskivene (Figure 5 og Figure 6).
Koble den negative batterikabelen til batteriet. Se maskinens brukerhndbok.
Sett kraftuttaksbryteren til P-stillingen.
Start motoren.
Motoren skal ikke starte mens kraftuttaksbryteren er i P-stillingen.
Important: Hvis motoren starter, sett p parkeringsbremsen, sl av motoren, ta ut nkkelen og sjekk ledningskoblingene ved kraftuttaket.
Sett kraftuttaksbryteren til AV-stillingen.
Start motoren.
Sl kraftuttaksbryteren til P og AV-stillingen flere ganger, for kontrollere bryterens funksjon.
Sett kraftuttaksbryteren til P-stillingen og reis deg fra setet.
Motoren skal sl seg av.
Important: Hvis motoren fortsetter g, aktiver parkeringsbremsen, sl av motoren, ta ut nkkelen og sjekk ledningskoblingene.
Sett kraftuttaksbryteren i AV-stillingen, koble inn parkeringsbremsen, vri nkkelbryteren til AV-stillingen og ta ut nkkelen.
Monter kontrollpanelet som du fjernet i trinn 5 av Gjre klar til montering av kraftuttaksbrytersettet til maskinen.