Important: Termen kraftuttagsbrytare r likvrdig med termen klippenhetsbrytare.
CALIFORNIA
Proposition 65 Warning
Den här produkten innehåller en eller flera kemikalier som av den amerikanska delstaten Kalifornien anses orsaka cancer, fosterskador och andra fortplantningsskador.
Batteripolerna eller verktyg av metall kan orsaka kortslutning mot metallkomponenterna och orsaka gnistor. Gnistorna kan f batterigaserna att explodera, vilket kan leda till personskador.
Lt inte batterianslutningarna komma i kontakt med ngra av maskinens metalldelar nr du monterar eller tar bort batteriet.
Lt inte metalldelar kortsluta mellan batterianslutningarna och maskinens metalldelar.
Felaktig dragning av batterikablarna kan skada maskinen och kablarna samt orsaka gnistor. Gnistorna kan f batterigaserna att explodera, vilket kan leda till personskador.
Lossa alltid batteriets minuskabel (svart) innan pluskabeln (rd) lossas.
Anslut alltid pluskabeln (rd) innan du ansluter minuskabeln (svart).
Lokalisera kopplingsschemat fr din maskin. Se bruksanvisningen, reservdelskatalogen, servicehandboken eller elschemahandboken fr din produkt.
Flytta maskinen till ett plant underlag.
Snk klippenheterna, koppla in parkeringsbromsen, stng av motorn och ta ut nyckeln.
Lossa minuskabeln frn batteriet. Se maskinens bruksanvisning.
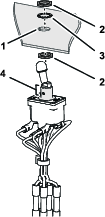
Lokalisera kraftuttagsbrytaren p maskinens kontrollpanel.

I tabellen fr kretsidentifiering nedan ska du anteckna frgen p isoleringen runt de kablar som r kopplade till kontakten med 5 uttag (Figure 1) och kraftuttagsbrytarens motsvarande kontaktbokstver:
Note: Maskinen kan ha antingen fyra eller fem kablar frn kraftuttagsbrytaren kopplade till kontakten med 5 uttag.
| Brytarens kontaktkretsar | Anteckna frgerna p kabelisoleringen i rutorna nedanfr: |
|---|---|
| (exempel) | (exempel) |
| A | |
| B (mrk kabeln p kontakten med 5 uttag) | |
| C (mrk kabeln p kontakten med 5 uttag) | |
| D | |
| E |
Anvnd eltejp fr att mrka kablarna p kontakten med 5 uttag som r i linje med kraftuttagsbrytarens kontaktkretsar B och C (Figure 1).
Ta bort kontakten med 5 uttag frn kraftuttagsbrytaren.
Ta bort kontramuttern och den interna tandlsbrickan som hller fast kraftuttagsbrytaren p kontrollpanelen.
Ta bort kraftuttagsbrytaren frn kontrollpanelen.
Delar som behövs till detta steg:
| Adapterkablage | 1 |
| Kraftuttagsbrytare | 1 |
Note: Adapterkablaget har kablar med isoleringsfrger fr en mngd olika maskiner. Du behver inte fler n fem av kablarna frn adapterkablaget.
Identifiera de kabelfrger frn adapterkablaget som inte finns i maskinkablaget vid kraftuttagsbrytarens kontakt med 5 uttag (Figure 2).

Ta bort de kablar med isoleringsfrger som du hittade i steg 1.
Kapa kablarna nra kraftuttagsbrytarens kontakt med 5 uttag (Figure 3).

Skala bort 9mm isolering frn ndarna p kablarna som du kapade i steg 1.
Para ihop isoleringsfrgerna p kablarna som du skalade i steg 2 med isoleringsfrgerna p kablarna i kablageadaptern (Figure 3).
Fr in kabeln i stumskarven och pressa ihop skarvdonet (Figure 3).
Anvnd en vrmepistol fr att krympa isolatorn p stumskarven
Upprepa steg 3–5 fr kraftuttagsbrytarkretsarnas resterande kablar (Figure 3).
Lokalisera kilsprsrfflorna i de nya och gamla kraftuttagsbrytarna (Figure 4).

Hll kilsprsrfflorna i linje med varandra och lokalisera var kontakterna r placerade p den nya och gamla kraftuttagsbrytaren (Figure 5).

Ta bort skruven och lsbrickan fr krets B frn den nya kraftuttagsbrytaren (Figure 5).
Referera till identifieringstabellen fr kretsar under Ta bort kraftuttagsbrytaren och montera ihop ringkopplingarna p kablageadaptern fr brytarens kontaktkretsar B (mrkta med tejp) med den nya kraftuttagsbrytaren med hjlp av maskinskruven och lsbrickan (Figure 6).

Ta bort skruven och lsbrickan fr krets C frn den nya kraftuttagsbrytaren (Figure 5).
Referera till identifieringstabellen fr kretsar under Ta bort kontakten med 5 uttag och montera ihop ringkopplingarna p kablageadaptern fr brytarens kontaktkretsar C (mrkta med tejp) med den nya kraftuttagsbrytaren med hjlp av maskinskruven och lsbrickan (Figure 6).
Referera till identifieringstabellen fr kretsar och montera ihop ringkopplingarna fr kontaktkretsarna A, D och om tillmpligt E med den nya kraftuttagsbrytaren med hjlp av maskinskruvarna och lsbrickorna (Figure 5 och Figure 6).
Anslut minuskabeln till batteriet. Se maskinens bruksanvisning.
Stt kraftuttagsbrytaren i lget P.
Starta motorn.
Motorn ska inte starta nr kraftuttagsbrytaren r i lget P.
Important: Om motorn startar ska du koppla in parkeringsbromsen, stnga av motorn, ta ut nyckeln och kontrollera hur kablarna r kopplade till kraftuttagsbrytaren.
Stt kraftuttagsbrytaren i lget AV.
Starta motorn.
Vxla mellan lgena P och AV flera gnger fr att kontrollera att kraftuttagsbrytaren fungerar som den ska.
Stt kraftuttagsbrytaren i lget P och res dig upp ur stet.
Motorn ska stngas av.
Important: Om motorn fortstter att g ska du koppla in parkeringsbromsen, stng av motorn, ta ut nyckeln och kontrollera hur kablarna r kopplade.
Stt kraftuttagsbrytaren i lget AV, koppla in parkeringsbromsen, fr tndningslset till lget AV och ta ut nyckeln.
Montera kontrollpanelen som du tog bort i steg 5 under Frbereda monteringen av satsen fr kraftuttagsbrytare p maskinen.