Important: De term aftakasschakelaar verwijst naar hetzelfde als de aan/uit-schakelaar van de maai-eenheid.
CALIFORNIA
Proposition 65 Warning
Dit product bevat een chemische stof of chemische stoffen waarvan de Staat Californië weet dat ze kanker, geboorteafwijkingen en schade aan het voortplantingssysteem veroorzaken.
Accupolen of metalen gereedschappen kunnen kortsluiting maken met een metalen onderdeel, waardoor vonken kunnen ontstaan. Hierdoor kunnen accugassen tot ontploffing komen en lichamelijk letsel veroorzaken.
Zorg ervoor dat bij het verwijderen of installeren van de accu de accupolen niet in aanraking komen met metalen onderdelen van de machine.
Voorkom dat metalen gereedschappen kortsluiting veroorzaken tussen de accupolen en metalen onderdelen van de machine.
Als accukabels verkeerd worden verbonden, kan dit schade aan de machine en de kabels tot gevolg hebben en vonken veroorzaken. Hierdoor kunnen accugassen tot ontploffing komen, waardoor lichamelijk letsel kan ontstaan.
Maak altijd eerst de minkabel (zwart) van de accu los voordat u de pluskabel (rood) losmaakt.
Sluit altijd de pluskabel (rood) van de accu aan voordat u de minkabel (zwart) aansluit.
Zoek het bedradingsschema voor uw machine; raadpleeg de Gebruikershandleiding, de Onderdelencatalogus, de Onderhoudshandleiding of de handleiding met het elektrisch schema van uw product.
Plaats de machine op een horizontaal oppervlak.
Breng de maai-eenheden omlaag, stel de parkeerrem in werking, zet de motor af en verwijder het contactsleuteltje.
Maak de minkabel los van de accu; raadpleeg de Gebruikershandleiding van uw machine.
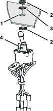
Ga naar de aftakasschakelaar in het bedieningspaneel van de machine.

Noteer in de circuitidentificatietabel die volgt de isolatiekleuren van de draden die aangekoppeld zijn op de connector met 5 contacten (Figure 1) voor de gerelateerde letters van de contacten van de aftakasschakelaar:
Note: Uw machine kan 4 of 5 draden hebben bij de connector met 5 contacten voor de aftakasschakelaar.
| Circuit schakelaarcontact | Noteer de kleur van de draadisolatie in het vakje hieronder: |
|---|---|
| (voorbeeld) | (voorbeeld) |
| A | |
| B (merk de draad van de connector met 5 contacten) | |
| C (merk de draad van de connector met 5 contacten) | |
| D | |
| E |
Gebruik isolatietape om de draden van de connector met 5 contacten te merken die zijn uitgelijnd met het circuitB en C contact van de aftakasschakelaar (Figure 1).
Verwijder de connector met 5 contacten van de aftakasschakelaar.
Verwijder de contramoer en de inwendig getande borgring waarmee de aftakasschakelaar is bevestigd aan het bedieningspaneel.
Verwijder de aftakasschakelaar van het bedieningspaneel.
Benodigde onderdelen voor deze stap:
| Kabelboom van adapter | 1 |
| Aftakasschakelaar | 1 |
Note: De kabelboom van de adapter heeft draden met isolatiekleuren voor verschillende machines. U hebt niet meer dan 5 draden van de kabelboom van de adapter nodig.
Bepaal de draadkleuren van de kabelboom van de adapter die niet in de machinekabelboom zitten bij de connector met 5 contacten voor de aftakasschakelaar (Figure 2).

Verwijder de draden met isolatiekleuren die u hebt gevonden in stap1.
Snij bij de connector met 5 contacten voor de aftakas de draden dicht bij de connector af (Figure 3).

Strip 9mm van de isolatie van de uiteinden van de draden die u hebt afgesneden in stap1.
Match de isolatiekleur van de draden die u hebt gestript in stap2 met de isolatiekleur van de draden in de kabelboomadapter (Figure 3).
Plaats de draad in de stootverbinder en krimp de verbinding (Figure 3).
Gebruik een hittepistool om de isolator van de stootverbinder te krimpen
Herhaal stap3 tot en met 5 voor de overige draden van de circuits van de aftakasschakelaar (Figure 3).
Identificeer de sleuven in de nieuwe en oude aftakasschakelaar (Figure 4).

Lijn de sleuven uit en bepaal de contactlocaties van de nieuwe en oude aftakasschakelaar (Figure 5).

Verwijder de schroef en borgring voor circuitB van de nieuwe aftakasschakelaar (Figure 5).
Gebruik de circuitidentificatietabel in De aftakasschakelaar verwijderen en koppel de ringconnectors van de kabelboomadapter voor circuitB van het schakelaarcontact (gemerkt met tape) met de machineschroef en borgring aan op de nieuwe aftakasschakelaar (Figure 6).

Verwijder de schroef en borgring voor circuitC van de nieuwe aftakasschakelaar (Figure 5).
Gebruik de circuitidentificatietabel in De connector met 5 contacten verwijderen en koppel de ringconnectors van de kabelboomadapter voor circuitC van het schakelaarcontact (gemerkt met tape) met de machineschroef en borgring aan op de nieuwe aftakasschakelaar (Figure 6).
Gebruik de circuitidentificatietabel en koppel de ringconnectors voor contactcircuitsA, D en indien van toepassing E met de machineschroeven en borgringen aan op de nieuwe aftakasschakelaar (Figure 5 en Figure 6).
Indien niet gemonteerd moet u een contramoer op de nieuwe aftakasschakelaar draaien (Figure 7).

Lijn de sleuf van de schakelaar uit met de spie in de opening van het paneel en plaats de schakelaar in het paneel (Figure 7).
Monteer de schakelaar op het paneel met de inwendig getande ring en de contramoer (Figure 7).
Sluit de minkabel aan op de accu; raadpleeg de Gebruikershandleiding van uw machine.
Zet de aftakasschakelaar op de stand AAN.
Start de motor.
De motor mag niet starten wanneer de aftakasschakelaar in de stand AAN staat.
Important: Als de motor start, moet u de parkeerrem in werking stellen, de motor uitschakelen, het sleuteltje verwijderen en de draadverbindingen bij de aftakasschakelaar controleren.
Zet de aftakasschakelaar op de stand UIT.
Start de motor.
Zet de aftakasschakelaar verschillende keren achter elkaar naar de stand AAN en de stand UIT om de werking van de schakelaar te controleren.
Zet de aftakasschakelaar op de stand AAN en ga van de stoel af.
De motor moet afslaan.
Important: Als de motor blijft lopen, moet u de parkeerrem in werking stellen, de motor uitschakelen, het sleuteltje verwijderen en de draadverbindingen controleren.
Zet de aftakasschakelaar in de stand UIT, stel de parkeerrem in werking, draai de contactschakelaar naar de stand UIT en verwijder het sleuteltje.
Monteer het bedieningspaneel dat u hebt verwijderd in stap5 van De installatie van de set met aftakasschakelaar voorbereiden op de machine.