Important: Il termine “interruttore della PDF sinonimo di “interruttore di innesto dell’unit di taglio.
CALIFORNIA
Proposition 65 Warning
Il presente prodotto contiene una o più sostanze chimiche che nello Stato della California sono considerate cancerogene e causa di anomalie congenite o di altre problematiche della riproduzione.
I morsetti della batteria o gli strumenti di metallo potrebbero andare in corto entrando in contatto con componenti in metallo, accendendo scintille. Le scintille possono fare esplodere i gas della batteria e causare infortuni.
In sede di rimozione o montaggio della batteria, impedite ai morsetti di toccare le parti metalliche della macchina.
Non lasciate che gli attrezzi metallici creino cortocircuiti fra i morsetti della batteria e le parti metalliche della macchina.
In caso di errato percorso dei cavi della batteria, la macchina ed i cavi possono venire danneggiati e causare scintille, che possono fare esplodere i gas delle batterie e causare infortuni.
Scollegate sempre il cavo negativo (nero) della batteria prima di quello positivo (rosso).
Collegate sempre il cavo positivo (rosso) della batteria prima di quello negativo (nero).
Individuate gli schemi di cablaggio della vostra macchina; fate riferimento al Manuale dell’operatore, al Catalogo ricambi, al Manuale di manutenzione, o al manuale degli schemi elettrici del vostro prodotto.
Portate la macchina su una superficie piana.
Abbassate le unit di taglio, innestate il freno di stazionamento, spegnete il motore e rimuovete la chiave.
Scollegate il cavo negativo dalla batteria; fate riferimento al Manuale dell’operatore della macchina.
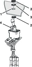
Accedete all’interruttore della PDF nel pannello di comando della macchina.

Nella tabella di identificazione del circuito riportata di seguito, annotate i colori dei cavi isolanti installati sul connettore a 5 vie (Figure 1) relativamente alle lettere dei contatti dell’interruttore della PDF:
Note: La vostra macchina pu avere sia 4 sia 5 cavi per il connettore a 5 vie dell’interruttore della PDF
| Circuiti dei contatti dell’interruttore | Annotate il colore dei cavi isolanti nello spazio sottostante: |
|---|---|
| (esempio) | (esempio) |
| A | |
| B (contrassegnate il cavo del connettore a 5 vie) | |
| C (contrassegnate il cavo del connettore a 5 vie) | |
| D | |
| E |
Utilizzate nastro elettrico per marcare i cavi del connettore a 5 vie allineati con i contatti del circuito B e C dell’interruttore della PDF (Figure 1).
Rimuovete il connettore a 5 vie dall’interruttore della PDF.
Rimuovete il controdado e la rondella di bloccaggio dentellata interna che fissa l’interruttore della PDF al pannello di comando.
Rimuovete l’interruttore della PDF dal pannello di comando.
Parti necessarie per questa operazione:
| Adattatore del cablaggio | 1 |
| Interruttore della PDF | 1 |
Note: L’adattatore del cablaggio preassemblato dotato di cavi con colori di isolamento per una grande quantit di macchine. Vi servono solo 5 cavi dell’adattatore del cablaggio.
Individuate i colori del cavi dell’adattatore del cablaggio preassemblato non presenti nel cablaggio preassemblato della macchina in corrispondenza del connettore a 5 vie dell’interruttore della PDF (Figure 2).

Rimuovete i cavi con i colori di isolamento che avete trovato al passaggio 1.
In corrispondenza del connettore a 5 vie della PDF, tagliate i cavi in prossimit del connettore (Figure 3).

Spelate di 9mm di isolante dalle estremit dei cavi che avete tagliato al passaggio 1.
Abbinate il colore di isolamento dei cavi che avete spelato nel passaggio 2 al colore di isolamento dei cavi dell’adattatore del cablaggio preassemblato (Figure 3).
Inserite il cavo nel giunto di contatto e crimpate il connettore (Figure 3).
Utilizzate una pistola termica per far retrarre l’isolante del giunto a contatto
Ripetete le fasi da 3 a 5 per i cavi restanti dei circuiti dell’interruttore della PDF (Figure 3).
Individuate le scanalature nel vecchio e nel nuovo interruttore della PDF (Figure 4).

Con le scanalature allineate, individuate la posizione dei contatti nel vecchio e nel nuovo interruttore della PDF (Figure 5).

Rimuovete la vite e la rondella di bloccaggio del circuito B dal nuovo interruttore della PDF (Figure 5).
Con sottomano la tabella di identificazione dei circuiti riportata in Rimozione dell’interruttore della PDF, collegate i terminali ad anello dell’adattatore del cablaggio preassemblato per i circuiti del contatto B (contrassegnati con il nastro) al nuovo interruttore della PDF con la vite della macchina e la rondella di bloccaggio (Figure 6).

Rimuovete la vite e la rondella di bloccaggio del circuito C dal nuovo interruttore della PDF (Figure 5).
Con sottomano la tabella di identificazione dei circuiti riportata in Rimozione del connettore a 5 vie, collegate i terminali ad anello dell’adattatore del cablaggio preassemblato per i circuiti del contatto C (contrassegnati con il nastro) al nuovo interruttore della PDF con la vite della macchina e la rondella di bloccaggio (Figure 6).
Con sottomano la tabella di identificazione dei circuiti, collegate i terminali ad anello dei circuiti dei contatti A e D e, ove appropriato, E, al nuovo interruttore della PDF con le viti della macchina e le rondella di bloccaggio (Figure 5 e Figure 6).
Nel caso non sia gi installato, inserite un controdado nel nuovo interruttore della PDF (Figure 7).

Allineate la scanalatura dell’interruttore con la chiave nell’apertura del pannello e inserite l’interruttore nel pannello (Figure 7).
Montate l’interruttore sul pannello con la rondella dentellata interna e il controdado (Figure 7).
Collegate il cavo negativo dalla batteria; fate riferimento al Manuale dell’operatore della macchina.
Spostate l’interruttore della PDF in posizione di ACCENSIONE.
Avviate il motore.
Il motore non deve avviarsi quando l’interruttore della PDF in posizione di ACCENSIONE.
Important: Se il motore si avvia, innestate il freno di stazionamento, spegnete il motore, rimuovete la chiave e controllate i collegamenti dell’interruttore della PDF.
Spostate l’interruttore della PDF in posizione OFF.
Avviate il motore.
ACCENDETE e SPEGNETE ripetutamente l’interruttore della PDF per controllarne il funzionamento.
Spostate l’interruttore della PDF in posizione di ACCENSIONE ed estraetelo sollevando dalla sede.
Il motore deve spegnersi.
Important: Se il motore continua a girare, innestate il freno di stazionamento, spegnete il motore, rimuovete la chiave e controllare i collegamenti dei cavi.
Spostate l’interruttore della PDF in posizione OFF, innestate il freno di stazionamento, ruotate l’interruttore a chiave in posizione OFF e togliete la chiave.
Montate il pannello di comando che avete rimosso al punto 5 di Preparazione all’installazione del kit dell’interruttore della PDF sulla macchina.