Important: Voimanulosoton kytkin on sama kuin leikkuuyksikn kyttnottokytkin.
CALIFORNIA
Proposition 65 Warning
Tämä tuote sisältää kemikaaleja, jotka Kalifornian osavaltion tietojen mukaan aiheuttavat syöpää, synnynnäisiä epämuodostumia tai lisääntymiseen liittyvää haittaa.
Akun navat tai metallitykalut voivat aiheuttaa oikosulun koskettaessaan metalliosia, mist voi seurata kipinit. Kipint voivat saada akun kaasut rjhtmn ja aiheuttaa siten henkilvahingon.
Kun irrotat tai asennat akun, l anna akun napojen koskettaa koneen metalliosia.
l anna metallitykalujen aiheuttaa oikosulkua akun napojen ja laitteen metalliosien vlille.
Akun kaapeleiden virheellinen asennus voi vahingoittaa laitetta ja kaapeleita aiheuttaen kipinit. Kipint voivat saada akun kaasut rjhtmn ja aiheuttaa siten henkilvahingon.
Irrota aina akun (musta) miinuskaapeli ennen (punaisen) pluskaapelin irrottamista.
Kytke aina akun pluskaapeli (punainen) ennen miinuskaapelia (musta).
Etsi koneen kytkentkaavio. Katso tuotteen kyttopas, osaluettelo, huolto-opas tai kytkentkaavio-opas.
Siirr kone tasaiselle alustalle.
Laske leikkuuyksikt, kytke seisontajarru, sammuta moottori ja irrota virta-avain.
Irrota akun miinuskaapeli akusta. Katso koneen kyttopas.
Kyt voimanulosoton kytkint koneen ohjauspaneelista.

Kirjoita alla olevaan piirien tunnistustaulukkoon 5-istukkaiseen liittimeen (Figure 1) kytkettyjen johtimien eristeiden vrit, jotka vastaavat voimanulosoton kytkimen kosketinten kirjaimia:
Note: Koneen voimanulosoton kytkimen 5-istukkaisessa liittimess on joko nelj tai viisi johdinta.
| Kytkimen kosketinpiirit | Kirjoita johtimen eristeen vri alla olevaan kenttn: |
|---|---|
| (esimerkki) | (esimerkki) |
| A | |
| B (merkitse 5-istukkaisen liittimen johdin) | |
| C (merkitse 5-istukkaisen liittimen johdin) | |
| D | |
| E |
Merkitse shkteipill 5-istukkaisen liittimen johtimet, jotka on kohdistettu voimanulosoton kytkimen piirienB ja C koskettimiin (Figure 1).
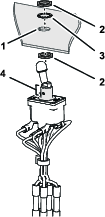
Irrota 5-istukkainen liitin voimanulosoton kytkimest.
Irrota vastamutteri ja sishammastettu varmistuslaatta, joilla voimanulosoton kytkin on kiinnitetty ohjauspaneeliin.
Irrota voimanulosoton kytkin ohjauspaneelista.
Vaiheeseen tarvittavat osat:
| Sovittimen johdinsarja | 1 |
| Voimanulosoton kytkin | 1 |
Note: Sovittimen johdinsarjan johtimilla on eristeiden vrej erilaisille koneille. Sovittimen johdinsarjasta tarvitaan enintn viisi johdinta.
Tunnista sovittimen johdinsarjan johtimien vrit, joita ei ole koneen johdinsarjassa voimanulosoton kytkimen 5-istukkaisessa liittimess (Figure 2).

Irrota johtimet, joissa on vaiheessa 1 mritetyt eristeiden vrit.
Katkaise johtimet voimanulosoton 5-istukkaisen liitimen lhelt (Figure 3).

Kuori 9mm eristett vaiheessa 1 katkaistujen johtimien pist.
Kohdista vaiheessa 2 kuorittujen johtimien eristeiden vrit johdinsarjan sovittimen eristeiden vrien kanssa (Figure 3).
Aseta johdin jatkoliittimeen ja purista liitin (Figure 3).
Kutista jatkoliittimen eristin kuumailmapuhaltimella.
Toista vaiheet 3–5 voimanulosoton kytkinpiirien jljell oleville johtimille (Figure 3).
Paikanna kiilaurat uudessa ja vanhassa voimanulosoton kytkimess (Figure 4).

Kun kiilaurat ovat kohdakkain, paikanna koskettimet uudessa ja vanhassa voimanulosoton kytkimess (Figure 5).

Irrota piirinB ruuvi ja varmistuslaatta uudesta voimanulosoton kytkimest (Figure 5).
Katso kohdassa Voimanulostoton kytkimen irrotus olevaa piirien tunnistustaulukkoa ja asenna kytkimen kosketinpiirilleB (merkitty teipill) varatut johdinsarjan sovittimen rengasliittimet uuteen voimanulosoton kytkimeen koneruuvilla ja varmistuslaatalla (Figure 6).

Irrota piirinC ruuvi ja varmistuslaatta uudesta voimanulosoton kytkimest (Figure 5).
Katso kohdassa 5-istukkaisen liittimen irrotus olevaa piirien tunnistustaulukkoa ja asenna kytkimen kosketinpiirilleC (merkitty teipill) varatut johdinsarjan sovittimen rengasliittimet uuteen voimanulosoton kytkimeen koneruuvilla ja varmistuslaatalla (Figure 6).
Katso piirien tunnistustaulukkoa ja asenna kosketinpiireilleA, D ja tarvittaessa E varatut rengasliittimet uuteen voimanulosoton kytkimeen koneruuveilla ja varmistuslaatoilla (Figure 5 ja Figure 6).
Kytke akun miinuskaapeli akkuun. Katso koneen kyttopas.
Siirr voimanulosoton kytkin PLL-asentoon.
Kynnist moottori.
Moottori ei saa kynnisty, kun voimanulosoton kytkin on PLL-asennossa.
Important: Jos moottori kynnistyy, kytke seisontajarru, sammuta moottori, irrota virta-avain ja tarkista voimanulosoton kytkimen johdinliitnnt.
Siirr voimanulosoton kytkin POIS-asentoon.
Kynnist moottori.
Tarkasta kytkimen toiminta siirtmll voimanulosoton kytkin PLL- ja POIS-asentoon useita kertoja.
Aseta voimanulosoton kytkin PLL-asentoon ja nouse istuimelta.
Moottorin pit sammua.
Important: Jos moottori ei sammu, kytke seisontajarru, sammuta moottori, irrota virta-avain ja tarkista johdinliitnnt.
Siirr voimanulosoton kytkin POIS-asentoon, kytke seisontajarru, knn virta-avain PYSYTYS-asentoon ja irrota avain.
Asenna kohdan Voimanulosoton kytkinsarjan asennuksen valmistelu vaiheessa 5 irrotettu ohjauspaneeli koneeseen.