Important: Le terme commande de PDF est l'quivalent de commande d'engagement de l'unit de coupe de coupe.
CALIFORNIA
Proposition 65 Warning
Ce produit contient une ou des substances chimiques considérées par l'état de Californie comme capables de provoquer des cancers, des anomalies congénitales ou d'autres troubles de la reproduction.
Les bornes de la batterie ou les outils en mtal peuvent causer des courts-circuits au contact des pices mtalliques et produire des tincelles. Les tincelles peuvent provoquer l'explosion des gaz de la batterie et vous blesser.
Lors du retrait ou de la mise en place de la batterie, les bornes ne doivent toucher aucune partie mtallique de la machine.
vitez de crer des courts-circuits entre les bornes de la batterie et les parties mtalliques de la machine avec des outils en mtal.
S'ils sont mal achemins, les cbles de la batterie peuvent subir des dommages ou endommager la machine et produire des tincelles. Les tincelles peuvent provoquer l'explosion des gaz de la batterie et vous blesser.
Dbranchez toujours le cble ngatif (noir) de la batterie avant le cble positif (rouge).
Connectez toujours le cble positif (rouge) de la batterie avant le cble ngatif (noir).
Localisez le schma de cblage de votre machine; voir le manuel de l'utilisateur, le catalogue de pices, le manuel d'entretien ou le manuel des schmas lectriques de votre produit.
Amenez la machine sur un sol plat et horizontal.
Abaissez les units de coupe, serrez le frein de stationnement, coupez le moteur et enlevez la cl.
Dbranchez le cble ngatif de la batterie; voir le Manuel de l'utilisateur de votre machine.
Accdez la commande de PDF dans le le panneau de commande de la machine.

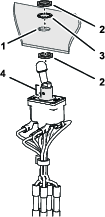
Dans le tableau d'identification des circuits ci-aprs, notez les couleurs des gaines isolantes des fils relis au connecteur 5 douilles (Figure 1) et correspondant aux lettres des contacts de la commande de PDF:
Note: 4 ou 5 fils peuvent tre relis au connecteur 5 douilles de la commande de PDF de votre machine.
| Circuits de contact de commande | Notez la couleur de la gaine isolante dans l'emplacement ci-dessous: |
|---|---|
| (exemple) | (exemple) |
| A | |
| B (reprer le fil du connecteur 5 douilles) | |
| C (reprer le fil du connecteur 5 douilles) | |
| D | |
| E |
Utilisez du ruban lectrique pour reprer les fils du connecteur 5 douilles aligns sur les contacts des circuits B et C de la commande de PDF (Figure 1).
Dposez le connecteur 5 douilles de la commande de PDF.
Retirez l'crou de blocage et la rondelle-frein crans intrieurs qui fixent la commande de PDF au panneau de commande.
Dposez la commande de PDF du panneau de commande.
Pièces nécessaires pour cette opération:
| Faisceau de cblage d'adaptateur | 1 |
| Commande de PDF | 1 |
Note: Le faisceau d'adaptateur comporte des fils gains de diffrentes couleurs qui correspondent divers types de machines. Vous n'aurez besoin que de 5 des fils du faisceau de cblage d'adaptateur.
Sur le connecteur 5 douilles de la commande de PDF, identifiez les couleurs des fils du faisceau d'adaptateur qui n'existent pas pour le faisceau de la machine (Figure 2).

Retirez les fils gains dans la couleur trouve l'opration 1.
Sur le connecteur 5 douilles de commande de PDF, coupez les fils tout prs du connecteur (Figure 3).

Dnudez sur 9mm l'extrmit des fils que vous avez coups l'opration 1.
Associez la couleur de la gaine des fils que vous avez dnuds l'opration 2 et celle des fils de l'adaptateur de faisceau (Figure 3).
Insrez le fil dans le connecteur pissure bout bout et sertissez le connecteur (Figure 3).
Avec un pistolet air chaud, rtrcissez les gaines isolantes du connecteur pissure bout bout.
Rptez les oprations 35 pour les fils restants des circuits de la commande de PDF (Figure 3).
Identifiez les rainures de dtrompage dans l'ancienne et la nouvelle commande de PDF (Figure 4).

Alignez les rainures de dtrompage puis identifiez l'emplacement des contacts sur l'ancienne et la nouvelle commande de PDF (Figure 5).

Retirez la vis et la rondelle-frein du circuit B sur la nouvelle commande de PDF (Figure 5).
En vous reportant au tableau d'identification des circuits sous Dpose de la commande de PDF, assemblez les cosses en anneau de l'adaptateur de faisceau du circuit B de contact de la commande (repr par du ruban lectrique) sur la nouvelle commande de PDF au moyen de la vis d'assemblage et de la rondelle-frein (Figure 6).

Retirez la vis et la rondelle de blocage du circuit C sur la nouvelle commande de PDF (Figure 5).
En vous reportant au tableau d'identification des circuits sous Dpose du connecteur 5 douilles, assemblez les cosses en anneau de l'adaptateur de faisceau du circuit C de contact de la commande (repr par du ruban lectrique) sur la nouvelle commande de PDF au moyen de la vis d'assemblage et de la rondelle-frein (Figure 6).
En vous reportant au tableau d'identification des circuits, assemblez les cosses en anneau des circuits de contact A, D et, le cas chant, E sur la nouvelle commande de PDF au moyen des vis d'assemblage et des rondelles-frein (Figure 5 et Figure 6).
Si ce n'est dj fait, vissez un crou de blocage sur la nouvelle commande de PDF (Figure 7).

Alignez la rainure de dtrompage de la commande et l'ergot dtrompeur dans l'ouverture du panneau, puis insrez la commande dans le panneau (Figure 7).
Assemblez la commande sur le panneau l'aide de la rondelle crans intrieurs et l'crou de blocage (Figure 7).
Rebranchez le cble ngatif de la batterie; voir le Manuel de l'utilisateur de votre machine.
Placez la commande de PDF en position ENGAGE.
Dmarrez le moteur.
Le moteur ne doit pas dmarrer quand la commande de PDF est en position ENGAGE.
Important: Si le moteur dmarre, serrez le frein de stationnement, coupez le moteur, enlevez la cl et vrifiez les connexions des fils sur la commande de PDF.
Placez la commande de PDF en position DSENGAGE.
Dmarrez le moteur.
Faites alterner plusieurs fois la commande de PDF entre les positions ENGAGE et DSENGAGE pour vrifier le fonctionnement de la commande.
Placez la commande de PDF en position ENGAGE et soulevez-vous du sige.
Le moteur doit s'arrter.
Important: Si le moteur continue de tourner, serrez le frein de stationnement, coupez le moteur, enlevez la cl et vrifiez les connexions des fils.
Placez la commande de PDF en position DSENGAGE, serrez le frein de stationnement, tournez la cl la position ARRT et enlevez la cl.
Reposez le panneau de commande que vous avez dposez l'opration 5 de Prparatifs d'installation du kit commande de PDF sur la machine.