Important: Der Begriff Zapfwellenschalter entspricht dem Aktivierungsschalter fr die Schneideinheit.
CALIFORNIA
Proposition 65 Warning
Dieses Produkt enthält eine Chemikalie oder Chemikalien, die laut den Behörden des Staates Kalifornien krebserregend wirken, Geburtsschäden oder andere Defekte des Reproduktionssystems verursachen.
Batteriepole und Metallwerkzeuge knnen an metallischen Teilen Kurzschlsse verursachen, was Funken erzeugen kann. Funken knnen zum Explodieren der Batteriegase fhren, was Verletzungen zur Folge haben kann.
Vermeiden Sie, wenn Sie eine Batterie ein- oder ausbauen, dass die Batteriepole mit metallischen Maschinenteilen in Berhrung kommen.
Vermeiden Sie Kurzschlsse zwischen metallischen Werkzeugen, den Batteriepolen und metallischen Maschinenteilen.
Das unsachgeme Verlegen der Batteriekabel kann zu Schden an der Maschine und den Kabeln fhren und Funken erzeugen. Funken knnen zum Explodieren der Batteriegase fhren, was Verletzungen zur Folge haben kann.
Klemmen Sie immer das Minuskabel (schwarz) ab, bevor Sie das Pluskabel (rot) abklemmen.
Klemmen Sie immer zuerst das (rote) Pluskabel an, bevor Sie das (schwarze) Minuskabel anklemmen.
Ermitteln Sie das Kabelschaltbild fr Ihre Maschine, siehe Bedienungsanleitung, Ersatzteilkatalog, Wartungsanleitung oder Elektroschaltbild fr Ihr Produkt.
Stellen Sie die Maschine auf einer ebenen Flche ab.
Senken Sie die Schneideinheiten ab, aktivieren die Feststellbremse, stellen den Motor ab und ziehen den Schlssel ab.
Klemmen Sie das Minuskabel von der Batterie ab, siehe die Bedienungsanleitung fr die Maschine.
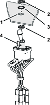
Greifen Sie auf den Zapfwellenschalter im Armaturenbrett der Maschine zu.

Notieren Sie in der folgenden Schaltkreisidentifizierungstabelle die Isolierungsfarben fr die Kabel, die am 5-Buchsen-Stecker (Figure 1) fr den zugehrigen Kontaktbuchstaben des Zapfwellenschalters angeschlossen sind:
Note: Ihre Maschine hat entweder vier Kabel oder fnf Kabel am 5-Buchsen-Stecker fr den Zapfwellenschalter.
| Schalterkontakt-Schaltkreise | Notieren Sie die Farbe der Kabelisolierung unten: |
|---|---|
| (Beispiel) | (Beispiel) |
| A | |
| B (Markierung des 5-Buchsen-Stecker-Anschlusskabels) | |
| C (Markierung des 5-Buchsen-Stecker-Anschlusskabels) | |
| D | |
| E |
Markieren Sie die Kabel des 5-Buchsen-Steckers, der mit den Kontakten des Zapfwellenschalters, Schaltkreis B und C, ausgefluchtet ist, mit Elektroband (Figure 1).
Ziehen Sie den 5-Buchsen-Stecker vom Zapfwellenschalter ab.
Nehmen Sie die Klemmmutter und die Innenzahnscheibe ab, mit denen der Zapfwellenschalter am Armaturenbrett befestigt ist.
Nehmen Sie den Zapfwellenschalter aus dem Armaturenbrett heraus.
Für diesen Arbeitsschritt erforderliche Teile:
| Adapterkabelbaum | 1 |
| Zapfwellenschalter | 1 |
Note: Der Adapterkabelbaum hat Kabel mit Isolierungsfarben fr zahlreiche Maschinen. Sie bentigen hchstens fnf Kabel des Adapterkabelbaums.
Identifizieren Sie die Kabelfarben des Adapterkabelbaums, die nicht am Maschinenkabelbaum am 5-Buchsen-Stecker fr den Zapfwellenschalter vorhanden sind (Figure 2).

Entfernen Sie die Kabel mit den Isolierungsfarben, die Sie in Schritt 1 gefunden haben.
Schneiden Sie am 5-Buchsen-Stecker fr die Zapfwelle die Kabel nahe am Stecker ab (Figure 3).

Entfernen Sie 9mm der Isolierung von den Enden der Kabel, die Sie in Schritt 1 abgeschnitten haben.
Paaren Sie die Isolierungsfarben der Kabel, die Sie in Schritt 2 abgezogen haben, mit den Isolierungsfarben der Kabel im Kabelbaumadapter (Figure 3).
Stecken Sie das Kabel in den Kabelmuffenstecker und klemmen Sie den Stecker mit einem Crimpwerkzeug fest (Figure 3).
Schrumpfen Sie die Isolierung des Kabelmuffensteckers mit einer Heisluftpistole
Wiederholen Sie die Schritte 3 bis 5 fr die restlichen Kabel an den Schaltkreisen des Zapfwellenschalters (Figure 3).
Identifizieren Sie die Keilnutschlitze in den neuen und alten Zapfwellenschaltern (Figure 4).

Fluchten Sie die Keilnutschlitze aus und identifizieren Sie die Kontaktstellen der neuen und alten Zapfwellenschalter (Figure 5).

Entfernen Sie die Schraube und Sicherungsscheibe fr Schaltkreis B vom neuen Zapfwellenschalter (Figure 5).
Montieren Sie mithilfe der Schaltkreisidentifizierungstabelle in Entfernen des Zapfwellenschalters die Kabelschuhe des Kabelbaumadapters fr die Schalterkontakt-Schaltkreise B (mit Band markiert) mit der Gewindeschraube und der Sicherungsscheibe am neuen Zapfwellenschalter (Figure 6).

Entfernen Sie die Schraube und Sicherungsscheibe fr Schaltkreis C vom neuen Zapfwellenschalter (Figure 5).
Montieren Sie mithilfe der Schaltkreisidentifizierungstabelle in Entfernen des 5-Buchsen-Steckers die Kabelschuhe des Kabelbaumadapters fr die Schalterkontakt-C (mit Band markiert) mit der Gewindeschraube und der Sicherungsscheibe am neuen Zapfwellenschalter (Figure 6).
Montieren Sie mithilfe der Schaltkreisidentifizierungstabelle die Kabelschuhe fr die Kontaktschaltkreise A, D und ggf. E mit der Gewindeschraube und den Sicherungsscheiben am neuen Zapfwellenschalter (Figure 5 und Figure 6).
Schrauben Sie (falls nicht vorhanden) eine Klemmmutter auf den neuen Zapfwellenschalter (Figure 7).

Fluchten Sie die Keilnut des Schalters mit dem Keil in der ffnung des Armaturenbretts aus und setzen Sie den Schalter in das Armaturenbrett ein (Figure 7).
Befestigen Sie den Schalter mit der Innenzahnscheibe und Klemmmutter am Armaturenbrett (Figure 7).
Schlieen Sie das Minuskabel an die Batterie an, siehe die Bedienungsanleitung fr die Maschine.
Stellen Sie den Zapfwellenschalter in die EIN-Stellung.
Lassen Sie den Motor an.
Der Motor sollte nicht anspringen, wenn der Zapfwellenschalter in der EIN-Stellung ist.
Important: Wenn der Motor anspringt, aktivieren Sie die Feststellbremse, stellen den Motor ab, ziehen den Schlssel ab und prfen Sie die Kabelanschlsse am Zapfwellenschalter.
Stellen Sie den Zapfwellenschalter in die AUS-Stellung.
Lassen Sie den Motor an.
Stellen Sie den Zapfwellenschalter mehrmals in die EIN- und AUS-Stellung, um die Funktion des Schalters zu prfen.
Stellen Sie den Zapfwellenschalter in die EIN-Stellung und stehen Sie vom Sitz auf.
Der Motor sollte abstellen.
Important: Wenn der Motor weiter luft, aktivieren Sie die Feststellbremse, stellen den Motor ab, ziehen den Schlssel ab und prfen Sie die Kabelanschlsse.
Stellen Sie den Zapfwellenschalter in die AUS-Stellung, aktivieren die Feststellbremse, drehen das Zndschloss in die AUS-Stellung und ziehen den Schlssel ab.
Montieren Sie das Armaturenbrett, das Sie in Schritt 5 in Vorbereiten der Installation des Zapfwellenschalters entfernt haben, an der Maschine.