Important: El trmino "interruptor de la TDF" es equivalente al trmino "interruptor/mando de engranado de la(s) unidad(es) de corte".
CALIFORNIA
Proposition 65 Warning
Este producto contiene una o más sustancias químicas que el Estado de California considera causantes de cáncer, defectos congénitos o trastornos del sistema reproductor.
Los bornes de la batera o las herramientas metlicas podran hacer cortocircuito con un componente metlico, causando chispas. Las chispas podran hacer explotar los gases de la batera, causando lesiones personales.
Al retirar o colocar la batera, no deje que los bornes toquen ninguna parte metlica de la mquina.
No deje que las herramientas metlicas hagan cortocircuito entre los bornes de la batera y las partes metlicas de la mquina.
Un enrutado incorrecto de los cables de la batera podra daar la mquina y los cables, causando chispas. Las chispas podran hacer explotar los gases de la batera, causando lesiones personales.
Desconecte siempre el cable negativo (negro) de la batera antes de desconectar el cable positivo (rojo).
Conecte siempre el cable positivo (rojo) de la batera antes de conectar el cable negativo (negro).
Localice el esquema de cableado de la mquina; consulte el Manual del operador, el Catlogo de piezas, el Manual de Mantenimiento o el Manual del esquema elctrico de su producto.
Lleve la mquina a una superficie nivelada.
Baje las unidades de corte, ponga el freno de estacionamiento, apague el motor y retire la llave.
Desconecte el cable negativo de la batera; consulte el Manual del operador de la mquina.
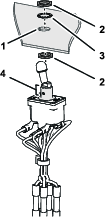
Acceda al interruptor de la TDF en el panel de control de la mquina.

En la siguiente tabla de identificacin de circuitos, anote el color del aislante del cable conectado al conector hembra de 5 vas (Figure 1) que corresponde a cada contacto identificado con letra del interruptor de TDF:
Note: Su mquina puede tener 4 o 5 cables conectados al conector hembra de 5 vas del interruptor de la TDF.
| Circuitos de los contactos del interruptor | Anote el color del aislante en el espacio siguiente: |
|---|---|
| (ejemplo) | (ejemplo) |
| A | |
| B (marque el cable del conector hembra de 5 vas) | |
| C (marque el cable del conector hembra de 5 vas) | |
| D | |
| E |
Utilice cinta elctrica para marcar los cables del conector hembra de 5 vas que corresponden a los contactos B y C del interruptor de la TDF (Figure 1).
Desconecte el conector hembra de 5 vas del interruptor de la TDF.
Retire la contratuerca y la arandela de freno dentada que sujeta el interruptor de la TDF al panel de control.
Retire el interruptor de la TDF del panel de control.
Piezas necesarias en este paso:
| Arns de cables del adaptador | 1 |
| Interruptor de la TDF | 1 |
Note: El arns de cables del adaptador tiene cables con aislantes de diferentes colores para una variedad de mquinas. Necesitar slo 5 cables del arns de cables del adaptador.
Identifique los colores de los cables del arns de cables del adaptador que no se encuentran en el arns de cables de la mquina, en el conector hembra de 5 vas del interruptor de la TDF (Figure 2).

Elimine los cables con los colores de aislante que identific en el paso 1.
En el conector hembra de 5 vas de la TDF, corte los cables junto al conector (Figure 3).

Pele 9 mm de los extremos de los cables que cort en el paso 1.
Empareje el color del aislante de los cables que pel en el paso 2 con el aislante de los cables del adaptador del arns de cables (Figure 3).
Introduzca el cable en el conector de empalme, y crimpe el conector (Figure 3).
Utilice una pistola de calor para retraer el aislante del conector de empalme
Repita los pasos 3 a 5 con los dems cables de los circuitos del interruptor de la TDF (Figure 3).
Identifique los chaveteros de los interruptores de la TDF nuevo y antiguo (Figure 4).

Con los chaveteros alineados, identifique los puntos de contacto de los interruptores de la TDF nuevo y antiguo (Figure 5).

Retire el tornillo y la arandela de freno del circuito B del interruptor de la TDF nuevo (Figure 5).
Usando la tabla de identificacin de circuitos de Retirada del interruptor de la TDF, conecte el terminal de anillo del adaptador del arns de cables del circuito del contacto B (marcado con cinta) al interruptor de la TDF nuevo, usando un tornillo y una arandela de freno (Figure 6).

Retire el tornillo y la arandela de freno del circuito C del interruptor de la TDF nuevo (Figure 5).
Usando la tabla de identificacin de circuitos de Retirada del conector hembra de 5 vas, conecte el terminal de anillo del adaptador del arns de cables del circuito del contacto C (marcado con cinta) al interruptor de la TDF nuevo, usando un tornillo y una arandela de freno (Figure 6).
Usando la tabla de identificacin de circuitos, conecte los terminales de anillo de los circuitos de los contactos A, D, y (en su caso) E al interruptor de la TDF nuevo con tornillos y arandelas de freno (Figure 5 y Figure 6).
Conecte el cable negativo de la batera a la batera; consulte el Manual del operador de la mquina.
Ponga el interruptor de la TDF en la posicin de ENGRANADO.
Arranque el motor.
El motor no debe arrancar cuando el interruptor de la TDF est en la posicin de ENGRANADO.
Important: Si el motor arranca, ponga el freno de estacionamiento, apague el motor, retire la llave y compruebe las conexiones de los cables del interruptor de la TDF.
Ponga el interruptor de la TDF en la posicin de DESENGRANADO.
Arranque el motor.
Mueva el interruptor de la TDF a la posicin de ENGRANADO y luego a DESENGRANADO varias veces para comprobar el funcionamiento del interruptor.
Ponga el interruptor de la TDF en la posicin de ENGRANADO y levntese del asiento.
El motor debe apagarse.
Important: Si el motor sigue funcionando, ponga el freno de estacionamiento, apague el motor, retire la llave y compruebe las conexiones de los cables.
Ponga el interruptor de la TDF en la posicin de DESENGRANADO, ponga el freno de estacionamiento, mueva el interruptor de encendido a la posicin de DESCONECTADO y retire la llave.
Monte en la mquina el panel de control que retir en el paso 5 de Preparacin para la instalacin del kit de interruptor de la TDF.