Important: Udtrykket kraftudtagskontakt svarer til kontakt til aktivering af klippeenhed.
CALIFORNIA
Proposition 65 Warning
Dette produkt indeholder et eller flere kemikalier, der ifølge staten Californien er kræftfremkaldende og giver medfødte defekter eller forplantningsskader.
Batteripoler og metalvrktj kan kortslutte mod metaldele og forrsage gnister. Gnister kan f batterigasserne til at eksplodere og medfre personskade.
Nr batteriet skal fjernes eller monteres, m batteriets poler ikke berre nogen metaldele p maskinen.
Metalvrktj m ikke kortslutte mellem batteripolerne og maskinens metaldele.
Forkert batterikabelfring kan danne gnister og beskadige maskinen og kablerne. Gnister kan f batterigasserne til at eksplodere og medfre personskade.
Frakobl altid batteriets sorte minuskabel, fr du frakobler det rde pluskabel.
Tilkobl altid batteriets (rde) pluskabel, fr du tilkobler det (sorte) minuskabel.
Find ledningsdiagrammet til maskinen. Se betjeningsvejledningen, reservedelskataloget, servicevejledningen eller vejledningen til ledningsdiagrammet til dit produkt.
Parker maskinen p en plan overflade.
Snk klippeenhederne, aktiver parkeringsbremsen, sluk for motoren, og tag nglen ud.
Kobl minuskablet fra batteriet. Se betjeningsvejledningen til din maskine.
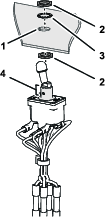
Find kraftudtagskontakten p maskinens kontrolpanel.

I kredslbsidentifikationstabellen nedenfor skal du angive isoleringsfarverne p de ledninger, som er tilsluttet stikket med 5 sokler (Figure 1), ud for de tilknyttede kontaktbogstaver for kraftudtagskontakten:
Note: Maskinen kan have enten 4 eller 5 ledninger ved stikket med 5 sokler til kraftudtagskontakten.
| Kontakt til kredslb | Angiv farverne p ledningsisoleringen i felterne nedenfor: |
|---|---|
| (eksempel) | (eksempel) |
| A | |
| B (markr ledningen til stikket med 5 sokler) | |
| C (markr ledningen til stikket med 5 sokler) | |
| D | |
| E |
Brug eltape til at markere ledningerne til stikket med 5 sokler, som er rettet ind efter kraftudtagskontaktens kredslb B- og C-kontakter (Figure 1).
Tag stikket med 5 sokler ud af kraftudtagskontakten.
Fjern kontramtrikken og den indvendige tandlseskive, som fastgr kraftudtagskontakten til kontrolpanelet.
Fjern kraftudtagskontakten fra kontrolpanelet.
Dele, der skal bruges til dette trin:
| Adapterledningsnet | 1 |
| Kraftudtagskontakt | 1 |
Note: Adapterledningsnettet har ledninger med isoleringsfarver til en rkke forskellige maskiner. Du skal kun bruge 5 ledninger fra adapterledningsnettet.
Find de ledningsfarver i adapterledningsnettet, som ikke er i maskinens ledningsnet ved stikket med 5 sokler til kraftudtagskontakten (Figure 2).

Fjern de ledninger, som har de isoleringsfarver, du fandt i trin 1.
Ved stikket med 5 sokler til kraftudtaget skal du klippe ledningerne over tt p stikket (Figure 3).

Skrl 9 mm isolering af enderne af de ledninger, som du klippede over i trin 1.
Match isoleringsfarven p de ledninger, du skrllede i trin 2, med isoleringsfarven p ledningerne i ledningsnetadapteren (Figure 3).
St ledningen i splejsestikket, og krymp stikket (Figure 3).
Brug en varmepistol til at krympe isoleringen i splejsestikket
Gentag trin 3 til 5 for de resterende ledninger i kredslbene til kraftudtagskontakten (Figure 3).
Find kilegangsrillerne i den nye og gamle kraftudtagskontakt (Figure 4).

Ret kilegangsrillerne ind efter hinanden, og find kontaktpositionerne for den nye og gamle kraftudtagskontakt (Figure 5).

Fjern skruen og lseskiven til kredslb B fra den nye kraftudtagskontakt (Figure 5).
Brug kredslbsidentifikationstabellen i Fjernelse af kraftudtagskontakten, og saml ledningsnetadapterens ringklemmer for kontaktkredslb B (markeret med tape) p den nye kraftudtagskontakt ved hjlp af maskinskruen og lseskiven (Figure 6).

Fjern skruen og lseskiven til kredslb C fra den nye kraftudtagskontakt (Figure 5).
Brug kredslbsidentifikationstabellen i Fjernelse af stikket med 5 sokler, og saml ledningsnetadapterens ringklemmer for kontaktkredslb C (markeret med tape) p den nye kraftudtagskontakt ved hjlp af maskinskruen og lseskiven (Figure 6).
Brug kredslbsidentifikationstabellen, og saml ringklemmerne for kontaktkredslb A, D og (hvis relevant) E p den nye kraftudtagskontakt ved hjlp af maskinskruerne og lseskiverne (Figure 5 og Figure 6).
Kobl minuskablet til batteriet. Se betjeningsvejledningen til din maskine.
St kraftudtagskontakten i positionen ON (til).
Start motoren.
Motoren m ikke starte, nr kraftudtagskontakten er i positionen ON (til).
Important: Hvis motoren starter, skal du aktivere parkeringsbremsen, slukke motoren, tage nglen ud og kontrollere ledningsforbindelserne ved kraftudtagskontakten.
St kraftudtagskontakten i positionen OFF (fra).
Start motoren.
St skiftevis kraftudtagskontakten i positionen ON (til) og OFF (fra) flere gange for at afprve kontaktens funktion.
St kraftudtagskontakten i positionen ON (til), og rejs dig fra sdet.
Motoren br slukke.
Important: Hvis motoren fortsat krer, skal du aktivere parkeringsbremsen, slukke motoren, tage nglen ud og kontrollere ledningsforbindelserne.
St kraftudtagskontakten i positionen OFF (fra), aktiver parkeringsbremsen, st tndingskontakten i positionen OFF (fra), og tag nglen ud.
Fastgr det kontrolpanel, som du fjernede i trin 5 i Forberedelse til installation af kraftudtagskontaktsttet, p maskinen.