Peças necessárias para este passo:
| Conjunto do tubo esquerdo | 1 |
| Conjunto do tubo direito | 1 |
| Parafuso de carroaria | 8 |
| Anilha de cabea chata | 8 |
| Porca de bloqueio | 8 |
| Rampa de carga | 2 |
| Espaador | 2 |
| Parafuso de cabea sextavada | 2 |
| Tubo de borracha | 2 |
| Porca | 2 |
| Suporte do trinco | 2 |
| Parafuso do suporte | 4 |
| Porca do suporte | 4 |
| Barra da roda estreita | 4 |
| Parafuso (para modelos com nmeros de srie anterior a 220000001) | 6 |
Eleve e prenda o atrelado.
Retire as 4 porcas de roda que fixam os pneus e retire os pneus para aceder s barras das rodas.
Se equipado, retire os fixadores que prendem os insertos padro parte inferior da rampa e retire os insertos (Figure 1).

Remova os batentes, barras das rodas e suportes do reboque (Figure 1).
Note: Guarde os batentes do reboque, suportes e ferragens para instalao posterior.
Prenda os suportes de montagem do conjunto dos tubos nos furos quadrados em cada lado do reboque com quatro parafusos de carroaria, anilhas chatas e porcas de bloqueio (Figure 2). Posicione os conjuntos dos tubos de forma a que os tubos cruzados fiquem na retaguarda.
Note: Nos reboques com nmeros de srie anteriores a 220000001: todos os furos de montagem da tubagem no se encontram nos lados do reboque e tm de ser montados da seguinte forma:
Prenda o furo traseiro superior no suporte de montagem da tubagem no furo quadrado superior traseiro no lado do reboque.
Posicione a tubagem de forma a que fique paralela com a parte superior do reboque.
Utilizando os suportes de tubagem como modelos, localize, marque e faa trs furos de 9,9 mm de dimetro na parte lateral do reboque.
Prenda os suportes de montagem da tubagem no lado do reboque com 3 parafusos 3/8 x 3/4 pol. (em vez dos parafusos de carroaria), anilhas chatas e porcas de bloqueio.

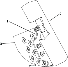
Monte uma rampa de carga na traseira de cada conjunto de tubo com um parafuso 3/6 x 2-1/2 pol., espaador e porca de bloqueio (Figure 2).
Instale um parafuso de cabea sextavada atravs de cada um dos furos centrais nas rampas de carga e atravs dos dois tubos de borracha (Figure 4).
Posicione um suporte de bloqueio em cada lado da rampa de forma a que alinhe com o lado inferior das rampas de carga, engate com os pinos revestidos nas rampas de carga e alinhe com os furos na rampa (Figure 2 e Figure 4). S utilizado um conjunto de furos de montagem por suporte de bloqueio.
Monte sem apertar cada suporte de bloqueio na rampa com parafusos de cabea flangeada 5/16 x 3/4 pol. e porcas flangeadas (Figure 2 e Figure 4).
Note: Se a pega da rampa interferir com o dispositivo de fixao de montagem do suporte de bloqueio, amole a extremidade da pega para expor o furo, como necessrio (Figure 3). Retoque a pintura danificada.

Elevao e bloqueio da rampa. Ajuste os suportes de bloqueio de forma a que engatem nos pinos e aperte os parafusos e porcas (Figure 2 e Figure 4).

Monte as barras das rodas estreitas viradas para cima nos furos de montagem em cada lado do reboque, utilizando os suportes e dispositivos de fixao removidos no passo 4 (Figure 2).
Note: Certifique-se de que os suportes esto paralelos com a parte superior da estrutura do reboque.
Note: Nos reboques com nmeros de srie anteriores a 220000001: tm de ser adquiridos 2 novos suportes de barra, pea n. 105–5395 e 2 clipes de reteno, pea n. 99–6204 para substituir os componentes existentes no reboque.
Eleve e desa as barras de rodas estreitas para assegurar que so instaladas corretamente; as barras devem mover-se suavemente e no devem deslizar para fora dos suportes.
Instale os pneus que foram removidos no passo 2; aperte as porcas das rodas com 108,5 N∙m.
Peças necessárias para este passo:
| Vedante | 2 |
| Roda da calha | 4 |
| Clipe de roda | 4 |
Retire as rodas de transporte existentes dos veios das rodas no cortador de relva (se instalado).
Apenas no Greensmaster Flex 18 ou 21, proceda da seguinte forma:
Insira uma roda da calha em cada eixo e prenda-a com um clipe de roda (Figure 6).
Important: As mquinas da srie Flex 1800/1820 e 2100/2120 requerem um desvio de roda diferente de todos os outros cortadores Toro. Leia e siga as instrues de montagem moldadas nos lados das rodas.

Desa as rampas de carga, deslize as mquinas para as calhas e prenda as rodas nos batentes das rodas (Figure 7).

Note: Ao rebocar apenas um cortador, monte as barras das rodas no conjunto de furos de montagem do meio no reboque.