Deler som er nødvendige for dette trinnet:
| Venstre rrenhet | 1 |
| Hyre rrenhet | 1 |
| Lseskrue | 8 |
| Flat skive | 8 |
| Lsemutter | 8 |
| Lasterampe | 2 |
| Avstandsstykke | 2 |
| Sekskantskrue | 2 |
| Gummirr | 2 |
| Mutter | 2 |
| Lsebrakett | 2 |
| Brakett skrue | 4 |
| Brakettmutter | 4 |
| Smal hjulstang | 4 |
| Hodeskrue (for modeller fr serienummer 220000001) | 6 |
Hev og fest tilhengeren.
Fjern de fire hakemutrene som fester dekkene, og fjern dekkene for f tilgang til hjulstengene.
Fjern festene som fester standardinnleggene til bunnen av rampen (hvis utstyrt med dette), og fjern innleggene (Figure 1).

Fjern de eksisterende tilhengersperrene, hjulstengene og brakettene fra tilhengeren (Figure 1).
Note: Ta vare p tilhengersperrene, brakettene og monteringsdelene for senere montering.
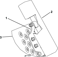
Fest monteringsbrakettene for rrenhetene til de firkantede hullene p hver side av tilhengeren med (4) lseskruer, flate skiver og lsemuttere (Figure 2). Plasser rrenhetene slik at tverrhylsene er plassert bak.
Note: P tilhengere med serienumre fr 220000001 er ikke alle monteringshullene for rrenheter p sidene av tilhengeren, og monteringen m foretas p flgende mte:
Fest det vre hullet bak p monteringsbraketten for rrenheten i det vre, bakre firkantede hullet p siden av tilhengeren.
Plasser rrenheten slik at den er parallell med toppen av tilhengeren.
Bruk monteringsbrakettene fr rrenheter som mal, og finn, marker og bor tre hull med diameter p 9,9mm p siden av tilhengeren.
Fest monteringsbrakettene for rrenhetene p hver side av tilhengeren med tre 3/8x 3/4tommes hodeskruer (i stedet for lseskruene), flat skive og lsemuttere.

Monter en lasterampe p hver rrenhet med en 3/6x 2tommes hodeskrue, skive og lsemutter (Figure 2).
Monter en sekskantskrue i hvert av de fire midtre hullene i lasterampen og gjennom de to gummirrene (Figure 4).
Plasser en lsebrakett p hver side av rampen slik at den er p linje med undersiden av lasterampene, aktiver med de smurte pinnene i lasterampene og juster dem p linje med hullene i lasterampen (Figure 2 og Figure 4). Det brukes kun ett sett monteringshull per lsebrakett.
Monter hver lsebrakett lst til rampen med 5/16 x tommes flenshodeskruer og flensmuttere (Figure 2 og Figure 4).
Note: Hvis rampen er i veien for monteringsfestet til lsebraketten, kan du slipe av enden av hndtaket for avdekke hullet, om ndvendig (Figure 3). Lakker over delagt maling.

Hev og ls rampen. Juster lsebrakettene slik at de griper p pinnene, og stram flensskruene og mutterne (Figure 2 og Figure 4).

Monter de smale hjulstengene rettet oppover mot monteringshullene p hver side av tilhengeren ved hjelp av brakettene og festene du fjernet i trinn 4 (Figure 2).
Note: Pse at brakettene er i flukt med toppen av tilhengerrammen.
Note: P tilhengere med serienummer fr 220000001 m du kjpe to nye stangbraketter, delenr. 105-5395, og to nye festeklemmer, delenr. 99-6204, for erstatte de eksisterende komponentene p tilhengeren.
Hev og senk de smale hjulstengene for sikre at de er korrekt montert. Stengene skal kunne beveges jevnt og skal ikke kunne gli ut av brakettene.
Monter dekkene som ble fjernet i trinn 2, og stram hakemutterene til 108,5 Nm.
Deler som er nødvendige for dette trinnet:
| Filttetning | 2 |
| Skinnehjul | 4 |
| Hjulklemme | 4 |
Fjern de eksisterende standard transporthjulene fra hjulakslene p Greensmower (hvis utstyrt med dette).
Kun p Greensmaster Flex 18- eller 21-maskiner, fortsett som flger:
Sett et skinnehjul inn p hver aksel og fest det med en hjulklemme (Figure 6).
Important: Flex 1800/1820- og 2100/2120-serien bruker et annet sett for fjerning av hjul enn alle andre Toro Greensmowers. Les og flg monteringsinstruksjonene som er stpt inn i p siden av hjulene.

Senk lasterampene, rull maskinen p skinnene og fest hjulene i hjulsperrene (Figure 7).

Note: Nr du kun har n maskin p tilhengeren, monter da hjulstengene p det midtre settet av monteringshull p tilhengeren.