Benodigde onderdelen voor deze stap:
| Linkerbuis | 1 |
| Rechterbuis | 1 |
| Slotbout | 8 |
| Platte ring | 8 |
| Borgmoer | 8 |
| Oprijplaat | 2 |
| Afstandsstuk | 2 |
| Zeskantschroef | 2 |
| Rubberen buis | 2 |
| Moer | 2 |
| Vergrendelbeugel | 2 |
| Beugelschroef | 4 |
| Beugelmoer | 4 |
| Smalle wielstang | 4 |
| Inbusbout (voor modellen met een serienummer lager dan 220000001) | 6 |
Til de aanhanger op en bevestig deze.
Verwijder de 4 wielmoeren waarmee de wielen bevestigd zijn en verwijder de wielen om bij de wielstangen te komen.
Verwijder (indien aanwezig) de bevestigingsmiddelen waarmee de standaard inzetstukken onderaan de oprijplaat zijn gemonteerd en verwijder de inzetstukken (Figure 1).

Verwijder de aanwezige stops voor de aanhanger, de wielstangen en de beugels van de aanhanger (Figure 1).
Note: Bewaar de stops voor de aanhanger, de beugels en het bevestigingsmateriaal voor latere montage.
Bevestig de montagebeugels van de buisconstructie met 4 slotbouten, platte ringen en borgmoeren in de vierkante openingen aan beide kanten van de aanhanger (Figure 2). Plaats de buisconstructies zo dat de dwarsbuizen naar achteren zijn gericht.
Note: Bij aanhangers met een serienummer tot 220000001 bevinden niet alle montageopeningen voor de buisconstructie zich in de zijkanten van de aanhanger. Dit kunt u als volgt oplossen:
Bevestig de bovenste opening in de achterkant van de montagebeugel voor de buisconstructie aan de bovenste, achterste vierkante opening aan de zijkant van de aanhanger.
Plaats de buisconstructie zo, dat deze parallel loopt met de bovenkant van de aanhanger.
Gebruik de montagebeugels voor de buisconstructie als sjabloon om de plaats te bepalen en af te tekenen voor 3 openingen met een diameter van 9,9mm die u aan weerszijden van de aanhanger boort.
Bevestig de montagebeugels van de buisconstructie aan weerszijden van de aanhanger met 3 inbusbouten ("x") in plaats van de slotbouten, platte ringen en borgmoeren.

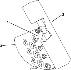
Monteer een oprijplaat aan de achterkant van elke buisconstructie met een inbusbout van 3/6"x2", een afstandsstuk en een borgmoer (Figure 2).
Monteer een inbusschroef in alle middelste gaten in de oprijplaten en in de 2 rubberen buizen (Figure 4).
Plaats een vergrendelbeugel aan beide zijden van de oprijplaat zodat de beugels uitgelijnd zijn met de onderkant van de oprijplaten, bevestig met de gecoate pennen in de oprijplaten en lijn uit met de openingen in de oprijplaat (Figure 2 en Figure 4). Gebruik maar n set van de montageopeningen per vergrendelbeugel.
Monteer de vergrendelbeugels losjes aan de oprijplaat met flenskopschroeven van 5/16"x" en flensmoeren (Figure 2 en Figure 4).
Note: Als de handgreep van de hellingbaan in contact komt met de bevestiging van de vergrendelbeugel, kunt u indien nodig het uiteinde van de handgreep bijslijpen (Figure 3). Werk de lak bij.

Breng de hellingbaan omhoog en vergrendel deze. Zorg ervoor dat de vergrendelbeugels op de pennen aangrijpen en draai de flensschroeven en moeren vast (Figure 2 en Figure 4).

Monteer de smalle wielstangen naar boven wijzend in de montageopeningen aan beide kanten van de aanhanger. Gebruik hiervoor de beugels en het bevestigingsmateriaal dat u verwijderd hebt in stap4 (Figure 2).
Note: Zorg ervoor dat de beugels gelijk komen met de bovenkant van het frame van de trailer.
Note: Bij aanhangers met een serienummer lager dan 220000001 moet u twee nieuwe stangbeugels (onderdeelnummer 105-5395) en twee nieuwe bevestigingsclips (onderdeelnummer 99-6204) aanschaffen om de op de aanhanger aanwezige onderdelen te vervangen.
Beweeg de smalle wielstangen naar boven en naar beneden om te controleren of ze juist gemonteerd zijn; de stangen moeten soepel bewegen en mogen niet uit de beugels kunnen schuiven.
Plaats de wielen die u verwijderd hebt in stap2; draai de wielmoeren aan met een torsie van 108,5Nm.
Benodigde onderdelen voor deze stap:
| Viltring | 2 |
| Railwiel | 4 |
| Wielklem | 4 |
Verwijder de bestaande standaard transportwielen van de wielassen van de greensmaaier (indien aanwezig).
Ga uitsluitend bij Greensmaster Flex 18 of 21 machines als volgt te werk:
Plaats een railwiel op elke as en bevestig het met een wielclip (Figure 6).
Important: De Flex 1800/1820 en 2100/2120 serie machines hebben een andere wielstand nodig dan alle andere Toro greensmaaiers. Lees de montage-instructies die in de zijkant van de wieltjes zijn geperst en volg deze op.

Laat de oprijplaten zakken, rol de machines op de rails en bevestig de wielen in de wielstops (Figure 7).

Note: Als u slechts 1 machine vervoert, monteer dan de wielstangen in de middelste serie montageopeningen in de aanhanger.