Delar som behövs till detta steg:
| Vnster rrmontering | 1 |
| Hger rrmontering | 1 |
| Vagnskruv | 8 |
| Planbricka | 8 |
| Lsmutter | 8 |
| Lastramp | 2 |
| Distansbricka | 2 |
| Sexkantsskruv | 2 |
| Gummirr | 2 |
| Mutter | 2 |
| Lsfste | 2 |
| Fstskruv | 4 |
| Fstmutter | 4 |
| Smal hjulstng | 4 |
| Huvudskruv (modeller med lgre serienummer n 220000001) | 6 |
Hj upp och skra slpet.
Ta bort de fyra hjulmuttrarna som fster dcken och lossa dcken fr att komma t hjulstngerna.
Ta i frekommande fall bort fstelementen som fster standardinsatserna lngst ned p rampen och ta bort insatserna (Figure 1).

Ta bort de befintliga slpstoppen, hjulstngerna och fstena frn slpet (Figure 1).
Note: Spara slpstoppen, fstena och fstelementen fr senare montering.
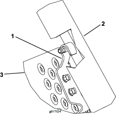
Fst rrets monteringsfsten vid de fyrkantiga hlen p respektive sida av slpet med fyra vagnsskruvar, planbrickor och lsmuttrar (Figure 2). Placera rrmonteringen s att kryssrren riktas bakt.
Note: Slp med lgre serienummer n 220000001: alla rrmonteringens monteringshl sitter inte p slpets sidor och den mste d monteras s hr:
Fst det vre bakre hlet av rrmonteringens monteringsfste vid det vre bakre fyrkantiga hlet p slpets sida.
Placera rrmonteringen s att den r parallell med slpets ovankant.
Anvnd rrmonteringens monteringsfsten som mallar, och mt ut, markera och borra tre hl med en diameter p 9,9 mm p var sida av slpet.
Fst rrmonteringens monteringsfsten p respektive sida av slpet med tre huvudskruvar (xtum) i stllet fr vagnsskruvar samt planbrickor och lsmuttrar.

Montera en lastramp p baksidan av respektive rrmontering med en huvudskruv (3/6x 2tum), distansbricka och lsmutter (Figure 2).
Montera en sexkantsskruv i respektive mitthl i lastramperna genom de tv gummirren (Figure 4).
Placera ett lsfste p var sida av rampen i linje med lastrampernas underkant, haka fast dem p de smorda tapparna p lastramperna och rikta in dem efter rampens hl (Figure 2 och Figure 4). Endast en uppsttning monteringshl per lsfste anvnds.
Montera respektive lsfste lst vid rampen med huvudskruvar med flns (5/16xtum) och flnsmuttrar (Figure 2 och Figure 4).
Note: Om rampens handtag inkrktar p lsfstets monteringsfste slipar du vid behov ned handtagets nde s att hlet syns (Figure 3). Bttra p lacken.

Hj upp och ls fast rampen. Justera lsfstena s att de hakas fast p tapparna och dra t flnsskruvarna och muttrarna (Figure 2 och Figure 4).

Montera de smala hjulstngerna riktade uppt mot monteringshlen p respektive sida av slpet, med de fsten och fstelement som du tog bort i steg 4 (Figure 2).
Note: Kontrollera att fstena r i jmnhjd med slpramens ovankant.
Note: Slp med lgre serienummer n 220000001: Du mste kpa tv nya stngbeslag, artikelnr 105-5395, och tv nya fstklmmor, artikelnr 99-6204, fr att erstta befintliga delar p slpet.
Hj och snk de smala hjulstngerna fr att skerstlla att de sitter som de ska. Stngerna ska rra sig jmnt och inte kunna glida ut ur fstena.
Montera dcken som du tog bort i steg 2, och dra t hjulmuttrarna till 108,5Nm.
Delar som behövs till detta steg:
| Filtbricka | 2 |
| Skenhjul | 4 |
| Hjulklmma | 4 |
Ta bort de befintliga hjulen fr standardtransport frn greenklipparens hjulaxlar (i frekommande fall).
Fortstt s hr (endast p Greensmaster Flex 18- eller 21-maskiner):
Montera ett skenhjul p respektive axel och fst med en hjulklmma (Figure 6).
Important: Fr maskiner i serierna Flex 1800/1820 och 2100/2120 behvs ett annat inpressningsdjup n fr alla andra Toro-greenklippare. Ls och flj monteringsanvisningarna som prglats p sidan av hjulen.

Snk ned lastramperna, rulla upp maskinerna p skenorna och fst hjulen i hjulstoppen (Figure 7).

Note: Om du endast har en maskin p slp kan du montera hjulstngerna i den mellersta uppsttningen monteringshl p slpet.