Vaiheeseen tarvittavat osat:
| Vasen putkikokoonpano | 1 |
| Oikea putkikokoonpano | 1 |
| Lukkopultti | 8 |
| Litte aluslaatta | 8 |
| Lukkomutteri | 8 |
| Lastausramppi | 2 |
| Vlikappale | 2 |
| Kuusiokantaruuvi | 2 |
| Kumiputki | 2 |
| Mutteri | 2 |
| Lukitustuki | 2 |
| Kannattimen ruuvi | 4 |
| Kannattimen mutteri | 4 |
| Kapea pyrtanko | 4 |
| Kantaruuvi (mallit, joiden sarjanumero on pienempi kuin 220000001) | 6 |
Nosta ja kiinnit pervaunu.
Irrota nelj pyrnmutteria, joilla renkaat on kiinnitetty. Irrota renkaat, jotta pyrtankoihin pstn ksiksi.
Jos varusteena, irrota kiinnittimet, joilla vakiosiskkeet on kiinnitetty rampin alaosaan, ja irrota siskkeet (Figure 1).

Irrota vanhat pervaunun pysyttimet, pyrtangot ja kannattimet pervaunusta (Figure 1).
Note: Sst pervaunun pysyttimet, kannattimet ja kiinnitystarvikkeet myhemp asennusta varten.
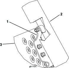
Kiinnit putkikokoonpanon asennuskiinnikkeet pervaunun molemmilla puolilla oleviin nelikulmaisiin reikiin neljll lukkopultilla, littell aluslaatalla ja lukkomutterilla (Figure 2). Aseta putkikokoonpanot niin, ett poikkiputket ovat takana.
Note: Pervaunuissa, joiden sarjanumero on pienempi kuin 220000001, kaikki putkikokoonpanon kiinnitysreit eivt ole pervaunun kyljiss, ja kiinnitys on tehtv seuraavasti:
Kiinnit putkikokoonpanon asennuskiinnikkeen ylempi takareik pervaunun kyljess takana olevaan ylimpn nelikulmaiseen reikn.
Sijoita putkikokoonpano niin, ett se ja pervaunun ylreuna ovat samansuuntaiset.
Kyt putkikokoonpanon asennuskiinnikkeit mallina ja merkitse sek poraa pervaunun kuhunkin kylkeen kolme reik, joiden halkaisija on 0,390tuumaa (9,9mm).
Kiinnit putkikokoonpanon asennuskiinnikkeet pervaunun kuhunkin kylkeen kolmella kantaruuvilla (tuumaa) lukkopulttien, litteiden aluslaattojen ja lukkomuttereiden sijaan.

Kiinnit lastausramppi kunkin putkikokoonpanon takaosaan 3/62-tuuman kantaruuvilla, vlikappaleella ja lukkomutterilla (Figure 2).
Asenna kuusiokantaruuvi lastausramppien jokaisen keskirein ja kahden kumiputken lpi (Figure 4).
Asenna lukitustuki rampin molemmille puolille niin, ett ne ja lastausramppien alapuoli ovat kohdakkain, kiinnittyvt lastausramppien pinnoitettuihin tappeihin ja kohdistuvat rampin reikiin (Figure 2 ja Figure 4). Kutakin lukitustukea kohti kytetn vain yksi kiinnitysreiki.
Kiinnit kukin lukitustuki lyhsti ramppiin 5/16tuuman laippakantaruuveilla ja laippamuttereilla (Figure 2 ja Figure 4).
Note: Jos rampin kahva on lukitustuen kiinnittimen tiell, hio tarvittaessa kahvan pt, kunnes reik tulee nkyviin (Figure 3). Korjaa maalipinnan vauriot.

Nosta ramppi ja lukitse se paikalleen. Sd lukitustukia niin, ett ne ovat kiinni tapeissa, ja kirist laipparuuvit ja -mutterit (Figure 2 ja Figure 4).

Kiinnit kapeat pyrtangot ylspin osoittaen pervaunun molempien kylkien kiinnitysreikiin tuilla ja kiinnittimill, jotka irrotettiin vaiheessa 4 (Figure 2).
Note: Varmista, ett tuet ovat tasassa pervaunun rungon ylosan kanssa.
Note: Pervaunuissa, joiden sarjanumero on aikaisempi kuin 220000001, on hankittava kaksi uutta tangon tukea (osanumero 105-5395) ja kaksi uutta pidikett (osanumero 99-6204) pervaunussa olevien vanhojen osien tilalle.
Nosta ja laske kapeita pyrtankoja sen varmistamiseksi, ett ne on asennettu oikein. Tankojen tulisi liikkua sujuvasti, eivtk ne saa liukua ulos tuista.
Asenna vaiheessa 2 irrotetut renkaat. Kirist pyrnmutterit momenttiin 108,5Nm.
Vaiheeseen tarvittavat osat:
| Huopatiiviste | 2 |
| Kiskopyr | 4 |
| Sokka | 4 |
Irrota kuljetuspyrt Greensmower-leikkurin pyrnakseleista (jos asennettu).
Seuraava koskee vain Greensmaster Flex 18- ja 21 -koneita:
Asenna pyrkiskot akseleille ja kiinnit sokalla (Figure 6).
Important: Flex 1800/1820/2100/2120 -sarjan koneissa on kytettv eri keskisyvyytt kuin kaikissa muissa Toro Greensmower -malleissa. Perehdy pyrien sivuille merkittyihin kiinnitysohjeisiin ja noudata niit.

Laske lastausrampit, tynn koneet kiskoille ja kiinnit pyrt pyrien pysyttimiin (Figure 7).

Note: Jos pervaunulla on tarkoitus kuljettaa vain yht konetta, kiinnit pyrtangot pervaunun keskimmisiin kiinnitysreikiin.