Dele, der skal bruges til dette trin:
| Venstre rr | 1 |
| Hjre rr | 1 |
| Brddebolt | 8 |
| Flad spndeskive | 8 |
| Lsemtrik | 8 |
| Lsserampe | 2 |
| Afstandsbsning | 2 |
| Sekskantskrue | 2 |
| Gummislange | 2 |
| Mtrik | 2 |
| Lsebeslag | 2 |
| Beslag – skrue | 4 |
| Beslagets mtrik | 4 |
| Smal hjulstang | 4 |
| Maskinskrue (til modeller fr serienr. 220000001) | 6 |
Hv og fastgr anhngeren.
Fjern de 4hjulmtrikker, der fastgr dkkene, og fjern dkkene for at f adgang til hjulstngerne.
Hvis maskinen er udstyret med fastgrelsesanordninger, der fastgr standardindsatserne til rampens bund, skal disse samt indsatserne fjernes (Figure 1).

Fjern de eksisterende anhngerstop, hjulstnger og beslag fra anhngeren (Figure 1).
Note: Gem anhngerstoppene, beslagene samt skruer og mtrikker til senere montering.
Fastgr rrenes monteringsbeslag i de firkantede huller i begge sider af anhngeren med 4brddebolte, flade spndeskiver og lsemtrikker (Figure 2). Anbring rrene, s krydsrrene er placeret bagud.
Note: P anhngere med serienumre fr 220000001: Ikke alle monteringshuller til rrene er tilgngelige i anhngerens side og skal monteres som flger:
Fastgr det verste, bageste hul i rrets monteringsbeslag i det verste, bageste firkantede hul i anhngerens side.
Anbring rret sledes, at det er parallelt med toppen af anhngeren.
Brug rrets monteringsbeslag som skabelon, og find, markr og bor 3huller med en diameter p 9,9mm i hver side af anhngeren.
Fastgr rrets monteringsbeslag p hver side af anhngeren med 3maskinskruer p (3/8x ") i stedet for brddeboltene, spndeskiverne og lsemtrikkerne.

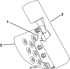
Monter en lsserampe i bagenden af hvert rr med en maskinskrue p 3/6x 2", afstandsbsning og lsemtrik (Figure 2).
St en sekskantskrue gennem de midterste huller i lsseramperne og gennem de 2gummislanger (Figure 4).
Anbring et lsebeslag p hver side af rampen, s de flugter med lsserampernes underside, griber ind i de smurte stifter i lsseramperne og flugter med hullerne i rampen (Figure 2 og Figure 4). Kun et st monteringshuller skal bruges pr. lsebeslag.
Monter hvert lsebeslag lst p rampen med flangehovedskruer p 5/16x" og flangemtrikker (Figure 2 og Figure 4).
Note: Hvis rampens hndtag generer lsebeslagets monteringsholder, skal du slibe hndtagets ende af for at blotlgge hullet, alt efter behov (Figure 3). Reparer malingen.

Lft og ls rampen. Juster lsebeslagene, s de griber ind i stifterne, og stram flangeskruerne og mtrikkerne (Figure 2 og Figure 4).

Monter de smalle hjulstnger vendt opad til monteringshullerne i hver side af anhngeren ved hjlp af de beslag og fastgrelsesanordninger, du fjernede i trin 4 (Figure 2).
Note: Srg for, at beslagene flugter med toppen af anhngerstellet.
Note: P anhngere med serienumre fr 220000001: Kb 2nye stangbeslag (delnr. 105-5395) og 2nye lseclips (delnr. 99-6204) som erstatning for de eksisterende komponenter p anhngeren.
Hv og snk de smalle hjulstnger for at sikre, at de er monteret korrekt. Stngerne br bevge sig gnidningsfrit og br ikke kunne glide ud af beslagene.
Monter dkkene, der blev fjernet i trin2. Tilspnd hjulmtrikkerne med et moment p 108,5Nm.
Dele, der skal bruges til dette trin:
| Filtttning | 2 |
| Skinnehjul | 4 |
| Hjulclips | 4 |
Fjern de eksisterende standardtransporthjul fra hjulakslerne p greensmoweren (hvis udstyret hermed).
Gr flgende p Greensmaster Flex 18- eller 21-maskiner:
Indst et skinnehjul p hver aksel, og fastgr det med en hjulclips (Figure 6).
Important: Maskiner i Flex 1800/1820- og 2100/2120-serien krver en anden hjulforskydning end alle andre Toro Greensmowers. Ls og flg monteringsvejledningerne, der er prget i hjulenes sider.

Snk lsseramperne, rul maskinerne p skinnerne, og fastgr hjulene i hjulstopklodserne (Figure 7).

Note: Nr der kun kres med n maskine p anhngeren, skal hjulstngerne monteres i det midterste st huller p anhngeren.