Wartung
Empfohlener Wartungsplan
| Wartungsintervall | Wartungsmaßnahmen |
|---|---|
| After the first 10 operating hours |
|
| After the first 250 operating hours |
|
| Every 50 hours |
|
| Every 200 hours |
|
Warnung:
Wenn Sie den Zndschlssel im Zndschloss stecken lassen, knnte eine andere Person den Motor versehentlich anlassen und Sie und Unbeteiligte schwer verletzen.
Ziehen Sie vor Wartungsarbeiten den Schlssel ab.
Schmierung
Einfetten und Schmieren der Maschine
-
Stellen Sie die Maschine auf eine ebene Flche, kuppeln die Zapfwelle aus und aktivieren die Feststellbremse.
-
Stellen Sie vor dem Verlassen der Bedienungsposition den Motor ab, ziehen den Schlssel ab und warten, bis alle beweglichen Teile zum Stillstand gekommen sind.
-
Reinigen Sie die Schmiernippel mit einem Lappen.
Note: Kratzen Sie bei Bedarf Lack vorne von den Nippeln ab.
-
Stecken Sie eine Fettspritze auf jeden Nippel und pumpen Sie solange Fett in die Nippel, bis das Fett aus den Lagern austritt.
-
Wischen Sie berflssiges Fett ab.
Warten der elektrischen Anlage
Important: Wenn Sie an der Elektrik arbeiten, klemmen Sie immer die Batteriekabel (zuerst das Minuskabel (-)) ab, um eine Beschdigung der elektrischen Leitungen durch Kurzschlsse zu vermeiden.
Prfen der Sicherungen
Anweisungen fr die Sicherungen finden Sie in der Bedienungsanleitung, die der Kabine beilag.
Wenn die Maschine elektrische Probleme hat, prfen Sie die Sicherungen. Nehmen Sie jede Sicherung einzeln aus dem Sicherungskasten und prfen Sie, ob die Sicherung offen (durchgebrannt) ist. Wenn Sie eine Sicherung ersetzen mssen, verwenden Sie immer Sicherungen desselben Typs und derselben Spannung , sonst knnte die Elektroanlage beschdigt werden.
Note: Wenn eine Sicherung oft durchbrennt, haben Sie mglicherweise einen Kurzschluss in der Elektroanlage. Sie sollten sie von einem qualifizierten Kundendienstmechaniker warten lassen.
Warten des Antriebssystems
Prfen des Reifendrucks
Important: Prfen Sie den Druck in den Reifen, bevor Sie die Maschine einsetzen.
Stellen Sie sicher, dass der Reifendruck 2,41 bar ist, siehe Figure 131.
Note: Ein ungleicher Reifendruck kann zu einem Verlust des Antriebs fhren. Bei einem Verlust des Antriebs kann der Reifendruck auf 3,45 bar erhht werden, um die Kettenspannung zu erhhen.

Reinigung der Kabine
Important: Passen Sie in der Nhe von Kabinendichtungen und Lampen auf (Figure 132). Halten Sie bei der Verwendung eines Hochdruckreinigers das Strahlrohr mindestens 0,6m von der Maschine entfernt. Verwenden Sie keinen Hochdruckreiniger direkt an Kabinendichtungen oder unter dem hinteren berhang.

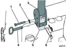
Reinigen der Luftfilter
-
Nehmen Sie die Daumenschrauben und Gitter vom internen Kabinenfilter und den hinteren Kabinenfiltern ab (Figure 133 und Figure 134).


-
Blasen Sie saubere, lfreie Druckluft durch die Filter, um sie zu reinigen.
Important: Wenn ein Filter ein Loch, Riss oder andere Schden hat, wechseln Sie ihn aus.
-
Setzen Sie die Filter und Gitter ein und befestigen Sie diese mit den Daumenschrauben.




















































































































