保守
推奨される定期整備作業
| 整備間隔 | 整備手順 |
|---|---|
| After the first 10 operating hours |
|
| After the first 250 operating hours |
|
| Every 50 hours |
|
| Every 200 hours |
|
警告
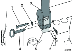
始動キーをつけたままにしておくと、誰でもいつでもエンジンを始動させることができ、危険である。
整備・調整作業の前には必ず始動キーを抜いておくこと。
潤滑
グリスアップと注油
-
平らな場所に駐車し、PTOを解除し、駐車ブレーキを掛ける。
-
エンジンを停止させ、キーを抜き取り、各部が完全に停止したのを確認してから運転位置を離れる。
-
グリスニップルをウェスできれいに拭く。
Note: フィッティング前部にペイントなどが付着している場合は完全に除去する。
-
グリスガンをフィッティングにセットし、グリスがベアリングからはみ出てくるまで注入する。
-
はみ出したグリスはきれいにふき取る。
電気系統の整備
Important: 電気系統の整備を行うときは必ずバッテリーケーブルを取り外してください。その際、ショートを防止するため、必ずマイナス(-)ケーブルを先に取り外してください。
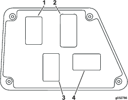
ヒューズの点検
ヒューズについてはキャブに付属する オペレーターズマニュアル を参照してください。
マシンの電気系統に問題があると思われる場合には、まずヒューズを点検してください。ヒューズを1個ずつ外して溶断していないかどうか点検する。ヒューズの交換が必要な場合には、必ず現在使用中のものと 同じタイプ、同じ電流規格のものを使用してください;ヒューズの規格が合わないとマシンの電気系統全体を破損させる恐れがあります。
Note: ヒューズが何度も飛ぶ場合には、その電気回路のどこかにショートが発生していることが考えられますので専門の整備士に整備を依頼してください。
走行系統の整備
タイヤ空気圧を点検する
Important: エンジン運転する前に、前後のタイヤの空気圧を点検してください。
タイヤ空気圧が 2.4 bar(2.45 kg/cm2=35 psi)であることを確認してください;Figure 131を参照。
Note: タイヤ空気圧がそろっていないと十分な走行力が得られません。うまく走れない場合には、タイヤの空気圧を 3.45 bar(3.5 kg/cm2 = 50 psi)まで上げてみてください。

Cabキャブの清掃
Important: キャブのシール部分とライト部分に注意してください(Figure 132)。圧力洗浄機を使用する場合は、洗浄機のノズルをキャブから少なくとも 60cm 離して洗浄してください。キャブのシール部分、ライト、後部のオーバーハングに高圧洗浄機の水を直接吹き付けないでください。

エアフィルタの清掃
-
キャブ内とキャブ後部のエアフィルタについているつまみねじを外して、格子を取り外す(Figure 134とFigure 133)。


-
フィルタをエアで吹いて清掃する(エアにオイルが含まれていないことを確認)。
Important: 破れている場合や汚れがひどい場合はフィルタを交換する。
-
フィルタと格子を取り付け、つまみねじで元通りに固定する。




















































































































