Údržba
Doporučený harmonogram údržby
| Servisní interval | Postup při údržbě |
|---|---|
| After the first 10 operating hours |
|
| After the first 250 operating hours |
|
| Every 50 hours |
|
| Every 200 hours |
|
Důležité upozornění
Jestlie ponechte kl ve spnai zapalovn, me kdokoli spustit motor azpsobit vm nebo okolostojcm osobm vn zrann.
Ped provdnm jakkoli drby vythnte kl ze spnae zapalovn.
Mazání
Mazn stroje
-
Umstte stroj na rovn povrch, vypnte vvodov hdel azathnte parkovac brzdu.
-
Ne opustte provozn pozici, vypnte motor, vythnte kl ze zapalovn apokejte, dokud se nezastav vechny pohybujc se sti.
-
Hadrem oistte maznice.
Note: Odstrate ppadnou barvu zpedn strany maznice.
-
Pipojte mazac pistoli kmaznici aaplikujte mazivo do maznic, dokud nezane vytkat zloisek.
-
Pebyten mazivo otete.
Údržba elektrického systému
Important: Pi prci selektrickm systmem vdy odpojte kabely baterie, nejdve zporn kabel (-), aby nedolo kppadnmu pokozen kabele vdsledku zkratu.
Kontrola pojistek
Pokyny tkajc se pojistek naleznete vprovozn pruce dodvan skabinou.
Pokud ustroje zjistte problmy selektrickm systmem, zkontrolujte pojistky. Postupn vyjmte jednotliv pojistky z pojistkovho bloku a pesvdte se, zda nejsou peruen (splen). Pokud potebujete vymnit pojistku, pouijte vdy stejn typ ostejnmjmenovitm proudu, jako m nahrazovan pojistka, jinak me dojt kpokozen elektrickho systmu..
Note: Pokud dochz kastmu splen pojistky, mohlo dojt ke zkratu velektrickm systmu aje nutn servisn zkrok proveden kvalifikovanm servisnm technikem.
Údržba hnací soustavy
Kontrola tlaku vpneumatikch
Important: Tlak vzduchu vzadnch pneumatikch zkontrolujte ped pouitm stroje.
Pesvdte se, zda tlak vzduchu v pneumatikch odpovd hodnot 2,41bar; viz Figure 131.
Note: Nerovnomrn tlak vzduchu vpneumatikch me zapinit ztrtu tahovho vkonu. Dojde-li ke ztrt tahovho vkonu stroje, zvenm tlaku vpneumatikch na 3,45bar je mon zvit napnut psu.

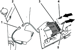
itn kabiny
Important: V oblasti tsnn a svtel kabiny si ponejte velmi opatrn (Figure 132). Pokud pouvte tlakovou myku, ty myky udrujte od stroje ve vzdlenosti alespo 0,6m. Tlakovou mykou nemyjte pmo tsnn kabiny a svtla nebo spodn st zadnho pevislho konce.

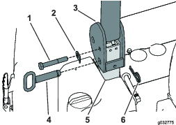
itn vzduchovch filtr
-
Demontujte kdlov rouby amky ze vzduchovho filtru vkabin ivzduchovho filtru vzadn sti kabiny (Figure 133 aFigure 134).


-
Vyistte filtry tak, e je vyfoukte istm stlaenm vzduchem bez obsahu oleje.
Important: Je-li nkter zfiltr drav, roztren nebo jinak pokozen, vymte jej.
-
Namontujte filtry amky aupevnte je kdlovmi rouby.




















































































































