Manutenzione
Programma di manutenzione raccomandato
| Cadenza di manutenzione | Procedura di manutenzione |
|---|---|
| After the first 10 operating hours |
|
| After the first 250 operating hours |
|
| Every 50 hours |
|
| Every 200 hours |
|
Avvertenza
Se lasciate la chiave nell'interruttore di accensione, qualcuno potrebbe accidentalmente avviare il motore e ferire gravemente voi o gli astanti.
Togliete la chiave dall'interruttore di accensione prima di ogni intervento di manutenzione.
Lubrificazione
Ingrassaggio e lubrificazione della macchina
-
Spostate la macchina su terreno pianeggiante, disinnestate la PDF e innestate il freno di stazionamento.
-
Prima di scendere dalla postazione di guida spegnete il motore, togliete la chiave dall'accensione e attendete che si fermino tutte le parti in movimento.
-
Pulite i raccordi d’ingrassaggio con un cencio.
Note: Togliete eventuali tracce di vernice davanti al raccordo.
-
Collegate una pistola di ingrassaggio al raccordo e pompate del grasso nei raccordi finch non inizia a fuoriuscire dai cuscinetti.
-
Pulite eventuale grasso in eccesso.
Manutenzione dell'impianto elettrico
Important: Prima di ogni intervento sull'impianto elettrico, scollegate sempre i cavi della batteria (prima il cavo negativo (-)) per impedire danni a causa di cortocircuiti.
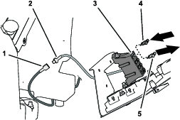
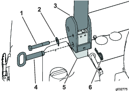
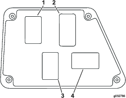
Verifica dei fusibili
Fate riferimento al Manuale dell'operatore fornito con la cabina per conoscere le istruzioni relative ai fusibili.
Se la macchina accusa problemi di carattere elettrico, controllate i fusibili. Uno alla volta, rimuovete ciascun fusibile dal portafusibili e verificate il fusibile per determinare se aperto (saltato). Se dovete sostituire un fusibile, utilizzate sempre un fusibile dello stesso tipo e amperaggio nominale del fusibile che state sostituendo, altrimenti potreste danneggiare l'impianto elettrico.
Note: Se un fusibile salta frequentemente, potreste avere un cortocircuito nell'impianto elettrico e dovete far effettuare la manutenzione da un tecnico della manutenzione qualificato.
Manutenzione del sistema di trazione
Controllo della pressione degli pneumatici
Important: Controllate la pressione dell'aria negli pneumatici prima dell'avvio della macchina.
Controllate che la pressione dell'aria negli pneumatici sia pari a 2,41`bar; fate riferimento a Figure 131.
Note: Una pressione dell'aria disomogenea negli pneumatici pu causare una perdita di trazione. Se la macchina perde trazione, aumentate la pressione dell'aria nello pneumatico a 3,45 bar per aumentare la tensione dei cingoli.

Pulizia della cabina
Important: Prestate attenzione alle guarnizioni e alle luci della cabina (Figure 132). Se utilizzate una lancia a pressione, mantenete l'asta di lavaggio ad almeno 0,6m di distanza dalla macchina. Non utilizzate la lancia a pressione direttamente sulle guarnizioni o le luci della cabina o sotto la sporgenza posteriore.

Pulizia dei filtri dell'aria
-
Rimuovete le viti a testa zigrinata e le griglie sia dal filtro dell'aria interno alla cabina, sia da quello sulla parte posteriore della cabina (Figure 133 e Figure 134).


-
Pulite i filtri soffiando aria compressa pulita e priva di tracce d'olio attraverso gli stessi.
Important: Se un filtro presenta un buco, uno strappo o un altro tipo di danno, sostituitelo.
-
Montate i filtri e le griglie e fissateli con le viti a testa zigrinata.




















































































































