Entretien
Programme d'entretien recommandé
| Périodicité d'entretien | Procédure d'entretien |
|---|---|
| After the first 10 operating hours |
|
| After the first 250 operating hours |
|
| Every 50 hours |
|
| Every 200 hours |
|
Attention
Si vous laissez la cl dans le commutateur d'allumage, quelqu'un pourrait mettre le moteur en marche et vous blesser gravement, ainsi que les personnes proximit.
Avant tout entretien, retirez la cl de contact.
Lubrification
Graissage et lubrification de la machine
-
Amenez la machine sur une surface plane et horizontale, dsengagez la PDF et serrez le frein de stationnement.
-
Avant de quitter la position d'utilisation, coupez le moteur, retirez la cl de contact et attendez l'arrt complet de toutes les pices mobiles.
-
Nettoyez les graisseurs avec un chiffon.
Note: Grattez la peinture qui pourrait se trouver l'avant du graisseur.
-
Raccordez une pompe graisse au graisseur et injectez de la graisse l'intrieur jusqu' ce qu'elle commence suinter des roulements.
-
Essuyez tout excs de graisse.
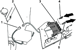
Entretien du système électrique
Important: Si vous devez travailler avec le circuit lectrique, dbranchez toujours les cbles de la batterie, en commenant par le cble ngatif (-), pour viter d'endommager le cblage en causant des courts-circuits.
Contrle des fusibles
Reportez-vous au Manuel de l'utilisateur fourni avec la cabine pour tout renseignement sur les fusibles.
Si la machine prsente des problmes lectriques, vrifiez les fusibles. Retirez chaque fusible l'un aprs l'autre du porte-fusibles et vrifiez s'ils sont ouverts (grills). Si un fusible doit tre remplac, utilisez toujours un fusible de mme type et de mme intensit que celui d'origine, sinon le systme lectrique pourrait tre endommag.
Note: Si un fusible grille frquemment, le systme lectrique comporte peut-tre un court-circuit. Demandez alors un technicien qualifi de rparer le problme.
Entretien du système d'entraînement
Contrle de la pression des pneus
Important: Contrlez la pression des pneus avant d'utiliser la machine.
Vrifiez que tous les pneus sont gonfls 2,40bar; voir Figure 131.
Note: La motricit de la machine peut tre rduite si les pneus ne sont pas tous gonfls de la mme manire. En cas de perte de motricit de la machine, augmentez la pression de gonflage 3,44bar pour accrotre la tension des chenilles.

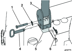
Nettoyage de la cabine
Important: Faites attention prs des joints de la cabine et des clairages (Figure 132). Si vous utilisez un nettoyeur haute pression, n'approchez pas le jet moins de 60cm de la machine. N'utilisez pas le jet haute pression directement sur les joints et les clairages de la cabine ni sur l'avance arrire.

Nettoyage des filtres air
-
Retirez les vis oreilles et les grilles des filtres air intrieur et arrire de la cabine (Figure 133 et Figure 134).


-
Nettoyez les filtres en soufflant travers de l'air comprim propre et exempt d'huile.
Important: Remplacez les filtres s'ils sont percs, dchirs ou autrement endommags.
-
Montez les filtres et les grilles, et fixez-les en place avec les vis oreilles.




















































































































