Konserwacja
Zalecany harmonogram konserwacji
| Częstotliwość serwisowania | Procedura konserwacji |
|---|---|
| After the first 10 operating hours |
|
| After the first 250 operating hours |
|
| Every 50 hours |
|
| Every 200 hours |
|
Ostrzeżenie
Jeli zostawisz kluczyk w stacyjce, kto moe przypadkowo uruchomi silnik i spowodowa powane obraenia ciaa operatora lub osb postronnych.
Przez przystpieniem do wykonywania jakichkolwiek czynnoci konserwacyjnych wyjmij kluczyk ze stacyjki.
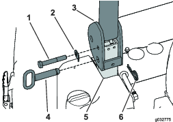
Smarowanie
Smarowanie maszyny
-
Ustaw maszyn na rwnej nawierzchni, odcz PTO i zacignij hamulec postojowy.
-
Zanim opucisz stanowisko operatora, wycz silnik, wyjmij kluczyk i zaczekaj, a wszystkie ruchome czci si zatrzymaj.
-
Oczy smarowniczki za pomoc szmatki.
Note: Usu farb z przodu smarowniczek.
-
Podcz smarownic do smarowniczki i wtocz smar do smarowniczek, a zacznie wycieka z oysk.
-
Zetrzyj dokadnie nadmiar smaru.
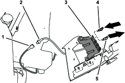
Konserwacja instalacji elektrycznej
Important: Przed prac przy ukadzie elektrycznym odcz przewody akumulatora, w pierwszej kolejnoci przewd ujemny (-), aby zapobiec moliwemu uszkodzeniu oprzewodowania przez zwarcie.
Sprawdzanie bezpiecznikw
Instrukcje dotyczce bezpiecznikw znajduj si w instrukcji obsugi doczonej do kabiny.
Jeli wystpuj jakiekolwiek problemy z instalacj elektryczn, sprawd bezpieczniki. Wyjmujc po jednym kady bezpiecznik z bloku bezpiecznikw sprawd, czy s one przerwane (spalone). Jeli bezpiecznik wymaga wymiany, zawsze uywaj bezpiecznikw tego samego typu i o takim samym prdzie znamionowym co wymieniane, w przeciwnym razie moe doj do uszkodzenia instalacji elektrycznej.
Note: Jeli bezpiecznik czsto si przepala, prawdopodobnie w instalacji elektrycznej obecne jest zwarcie, ktre powinien usun wykwalifikowany pracownik serwisu.
Konserwacja układu napędowego
Sprawdzanie cinienia w oponach
Important: Cinienie powietrza w oponach sprawdzaj przed uyciem maszyny.
Cinienie powietrza w oponach powinno wynosi 2,41bar, patrz Figure 131.
Note: Jeeli cinienie w oponach poszczeglnych k nie jest identyczne, moe doj do utraty przyczepnoci. Jeeli maszyna wykazuje obnion przyczepno, podnie cinienie powietrza w oponach do wartoci 3,45bar, aby zwikszy naprenie gsienic.

Czyszczenie kabiny
Important: Zachowaj ostrono, czyszczc uszczelki i lampy w kabinie (Figure 132). Podczas cinieniowego mycia wod lanca myjki cinieniowej powinna znajdowa si co najmniej 0,6metra od maszyny. Nie kieruj strumienia wody pod wysokim cinieniem bezporednio na uszczelki i lampy kabiny lub pod nawis tylny.

Czyszczenie filtra powietrza
-
Usu ruby skrzydekowe i kraty z obu filtrw powietrza, w kabinie i z tyu kabiny (Figure 133 i Figure 134).


-
Oczy filtry, przedmuchujc je czystym spronym powietrzem bez oleju.
Important: Jeeli ktry filtr ma dziur, jest rozdarty lub uszkodzony w inny sposb, wymie go.
-
Zamontuj filtry i krat, mocujc je za pomoc rub skrzydekowych.




















































































































