Onderhoud
Aanbevolen onderhoudsschema
| Onderhoudsinterval | Onderhoudsprocedure |
|---|---|
| After the first 10 operating hours |
|
| After the first 250 operating hours |
|
| Every 50 hours |
|
| Every 200 hours |
|
Waarschuwing
Als u het sleuteltje in het contact laat, bestaat de kans dat iemand de motor per ongeluk start waardoor u of omstanders ernstig letsel kunnen oplopen.
Verwijder het sleuteltje uit het contact voordat u onderhoudswerkzaamheden uitvoert aan de machine.
Smering
Machine smeren
-
Zet de machine op een horizontaal oppervlak, schakel de aftakas uit en stel de parkeerrem in werking.
-
Zet de motor af, verwijder het sleuteltje uit het contact en wacht totdat alle bewegende onderdelen tot stilstand zijn gekomen voordat u de bestuurderspositie verlaat.
-
Reinig de smeernippels met een doek.
Note: Verwijder indien nodig verf van de voorkant van de fitting.
-
Sluit een smeerpistool aan op de smeernippel en spuit vet in de nippels totdat er vet bij de lagers naar buiten komt.
-
Veeg overtollig vet weg.
Onderhoud elektrisch systeem
Important: Als u werkzaamheden aan het elektrische systeem verricht, moet u altijd de accukabels, de min (-) kabel eerst, loskoppelen om mogelijk beschadiging van de bedrading tengevolge van kortsluiting te voorkomen.
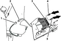
Zekeringen controleren
Raadpleeg de bij de cabine geleverde Gebruikershandleiding voor aanwijzingen in verband met zekeringen.
Als er problemen zijn met het elektrische systeem van de machine, moet u de zekeringen controleren. Verwijder alle zekeringen n voor n uit de zekeringhouder en controleer de zekeringen om te bepalen of ze gesprongen (doorgebrand) zijn. Als u een zekering moet vervangen, dient u altijd een zekering van hetzelfde type en hetzelfde ampre te plaatsen als de oude zekering, omdat anders schade aan het elektrische systeem kan ontstaan.
Note: Als er vaak een zekering doorbrandt, komt dit waarschijnlijk door een kortsluiting in het elektrische systeem en moet dit worden gerepareerd door een vakbekwame onderhoudstechnicus.
Onderhoud aandrijfsysteem
De bandenspanning controleren
Important: Controleer de luchtdruk in banden voordat u de machine gebruikt.
Controleer of de bandenspanning 2,41bar bedraagt; zie Figure 131.
Note: Ongelijke bandenspanning kan leiden tot tractieverlies. Als de machine tractie verliest, moet u de bandenspanning verhogen tot 3,45bar om de rupsbanden strakker te spannen.

De cabine reinigen
Important: Wees voorzichting in de buurt van de afdichtingen en verlichting van de cabine (Figure 132). Als u een hogedrukreiniger gebruikt, hou de spuitstok dan minstens 0,6m van de machine vandaan. Richt de hogedrukreiniger niet rechtstreeks op de afdichtingen en verlichting van de cabine of onder de overhang aan de achterzijde.

De luchtfilters reinigen
-
Verwijder de duimschroeven en de roosters van de luchtfilters in en achter de cabine (Figure 133 en Figure 134).


-
Reinig de filters door er schone, olievrije perslucht door te blazen.
Important: Als er in een filter een gat, scheur of andere beschadiging zit, moet deze worden vervangen.
-
Installeer de filters en het rooster en zet ze vast met de duimschroeven.




















































































































