Manutenção
Plano de manutenção recomendado
| Intervalo de assistência | Procedimento de manutenção |
|---|---|
| After the first 10 operating hours |
|
| After the first 250 operating hours |
|
| Every 50 hours |
|
| Every 200 hours |
|
Aviso
Se deixar a chave na ignio, algum pode ligar acidentalmente o motor e feri-lo a si ou s pessoas que se encontrarem prximo da mquina.
Retire a chave da ignio antes de efetuar qualquer manuteno.
Lubrificação
Lubrificao da mquina
-
Mova a mquina para uma superfcie nivelada, desengate a tomada de fora, e engate o travo de estacionamento.
-
Desligue o motor, retire a chave da ignio e espere at todas as partes em movimento pararem antes de sair da posio de funcionamento.
-
Limpe os encaixes de lubrificao com um trapo.
Note: Retire qualquer tinta da parte da frente do encaixe.
-
Ligue uma pistola de lubrificao ao encaixe e coloque lubrificante nos encaixes at que comear a sair massa lubrificante dos rolamentos.
-
Limpe a massa lubrificante em excesso.
Manutenção do sistema eléctrico
Important: Sempre que efetuar a manuteno do sistema eltrico, desligue sempre os cabos da bateria, o cabo negativo (-) em primeiro lugar, para evitar quaisquer danos na cablagem provocados por curto-circuitos.
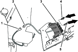
Verificao dos fusveis
Consulte o Manual do utilizador fornecido com a cabina para obter instrues sobre fusveis.
Se a mquina tiver problemas do sistema eltrico, verifique os fusveis. Um de cada vez, remova cada fusvel do bloco de fusveis e verifique-o para determinar se est aberto (queimado). Se necessitar de substituir um fusvel, utilize sempre o mesmo tipo de amperagem indicada no fusvel que est a substituir, caso contrrio, pode danificar o sistema eltrico.
Note: Se um fusvel fundir frequentemente provavelmente tem um curto-circuito no sistema eltrico pelo que necessrio que um tcnico qualificado inspecione este sistema.
Manutenção do sistema de transmissão
Verificao da presso dos pneus
Important: Verifique a presso do ar dos pneus antes de operar a mquina.
Verifique se a presso de ar nos pneus 2,41 bar; consulte Figure 131.
Note: A presso desigual dos pneus pode causar perda de trao. Se ocorrer perda de trao, aumente a presso dos pneus para 3,45 bar para aumentar a tenso da lagarta.

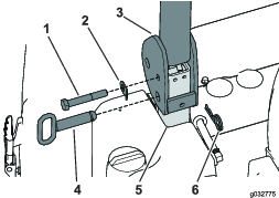
Limpe a cabina
Important: Tome as devidas precaues nas luzes e rolamentos da cabina (Figure 132). Se utilizar uma mquina de presso de gua, mantenha a vareta de lavagem a, pelo menos, 0,6m da mquina. No utilize a mquina de presso de gua diretamente nos vedantes da cabina e das luzes ou sob a consola traseira.

Limpeza dos filtros do ar
-
Remova os parafusos de aperto manual e as grelhas dos filtros de ar interior e traseiro da cabina (Figure 133 e Figure 134).


-
Para limpar os filtros, sopre com ar comprimido livre de leos.
Important: Se qualquer dos filtros tiver furos, desgaste ou qualquer outro dano, substitua o filtro.
-
Instale os filtros nas grelhas, segurando-os com os parafusos de aperto manual.




















































































































