Vedlikehold
Anbefalt vedlikeholdsplan
| Vedlikeholdsintervall | Vedlikeholdsprosedyre |
|---|---|
| After the first 10 operating hours |
|
| After the first 250 operating hours |
|
| Every 50 hours |
|
| Every 200 hours |
|
Advarsel
Hvis du lar nkkelen st i tenningsbryteren, kan noen utilsiktet starte motoren, noe som kan pfre deg eller andre alvorlige skader.
Fjern nkkelen fra tenningsbryteren fr du begynner med eventuelt vedlikeholdsarbeid.
Smøring
Smre maskinen
-
Flytt maskinen til en jevn flate, koble fra kraftuttaket og sett p parkeringsbremsen.
-
Fr du forlater frerplassen m du stanse motoren, ta ut nkkelen av tenningen og vente til alle bevegelige deler str stille.
-
Trk av smreniplene med en fille.
Note: Fjern eventuell maling av fremsiden av koblingene.
-
Fest en fettspryte til koblingen og pfr smrefett i smreniplene til det tyter ut av lagrene.
-
Trk bort overfldig smrefett.
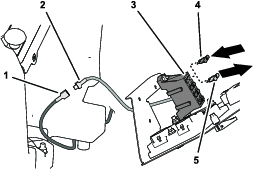
Vedlikehold av elektrisk system
Important: Nr du vedlikeholder det elektriske systemet, m du alltid koble fra batteriledninger, negative (-) kabler frst, for forhindre at kortslutninger skal forrsake skader p ledningene.
Kontrollere sikringene
Se i den vedlagte Brukerhndboken for instruksjoner om sikringer.
Hvis maskinen har problemer med det elektriske systemet, sjekk sikringene. Fjern sikringene hver for seg fra sikringsblokken, og sjekk sikringen for avgjre om den er pen (gtt). Hvis du m skifte en sikring, bruk alltid samme type og av samme strmstyrke som sikringen du skal erstatte, ellers kan det fre til skade p det elektriske systemet.
Note: Hvis en sikring gr ofte, er det antageligvis en kortslutning i det elektriske systemet, og du br f en kvalifisert servicetekniker til utfre service p det.
Vedlikehold av drivsystem
Kontrollere trykket i dekkene
Important: Kontroller lufttrykket i dekkene fr maskinen brukes.
Sjekk at lufttrykket i dekkene er 2,4 bar. Se Figure 131.
Note: Ujevnt lufttrykk i dekkene kan fre til redusert veigrep. Hvis maskinen mister veigrepet, k lufttrykket i dekkene til 3,4 bar for oppn bedre grep.

Rengjre frerhuset
Important: Vr forsiktig rundt frerhusets tetninger og lys (Figure 132). Hvis du bruker en trykkvasker, hold vaskestaven minst 0,6m fra maskinen. Ikke bruk hytrykksvasker direkte p frerhusets tetninger og lys eller under det bakre overhenget.

Rengjre luftfiltrene
-
Fjern vingeskruene og ristene fra luftfiltrene i og bak frerhuset (Figure 133 ogFigure 134).


-
Rengjr filtrene ved blse ren, oljefri, komprimert luft gjennom dem.
Important: Filtre med hull, rifter eller andre skader m skiftes ut.
-
Monter filtrene og risten, og fest dem med vingeskruene.




















































































































