Mantenimiento
Calendario recomendado de mantenimiento
| Intervalo de mantenimiento y servicio | Procedimiento de mantenimiento |
|---|---|
| After the first 10 operating hours |
|
| After the first 250 operating hours |
|
| Every 50 hours |
|
| Every 200 hours |
|
Advertencia
Si usted deja la llave en el interruptor de encendido, alguien podra arrancar el motor accidentalmente y causar lesiones graves a usted o a otras personas.
Retire la llave del interruptor de encendido antes de realizar ninguna operacin de mantenimiento.
Lubricación
Engrase y lubricacin de la mquina
-
Mueva la mquina a una superficie nivelada, desengrane la TDF y ponga el freno de estacionamiento.
-
Pare el motor, retire la llave de contacto y espere a que se detengan todas las piezas en movimiento antes de abandonar el puesto del operador.
-
Limpie con un trapo los puntos de engrase.
Note: Rasque cualquier pintura de la parte delantera del acoplamiento.
-
Conecte una pistola de engrasar a cada punto de engrase y bombee grasa en stos hasta que la grasa empiece a rezumar de los cojinetes.
-
Limpie la grasa sobrante.
Mantenimiento del sistema eléctrico
Important: Siempre que vaya a trabajar con el sistema elctrico, desconecte los cables de la batera, primero el cable negativo (-), para evitar posibles daos al cableado debido a cortocircuitos.
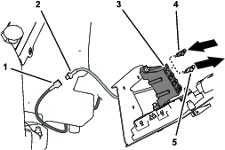
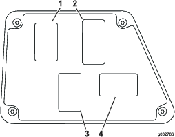
Comprobacin de los fusibles
Consulte las instrucciones sobre los fusibles del Manual del operador suministrado con la cabina.
Si la mquina tiene problemas relacionados con el sistema elctrico, compruebe los fusibles. Retire cada fusible, uno por uno, del bloque de fusibles, y compruebe el fusible para determinar si est fundido. Si es necesario cambiar un fusible, utilice siempre un fusible del mismo tipo y amperaje que el fusible que est sustituyendo; si no, podra daar el sistema elctrico.
Note: Si un fusible se funde frecuentemente, es posible que haya un cortocircuito en el sistema elctrico, y ste debe ser revisado por un tcnico de mantenimiento cualificado.
Mantenimiento del sistema de transmisión
Comprobacin de la presin de los neumticos
Important: Compruebe la presin de los neumticos antes de utilizar la mquina.
Compruebe que la presin de los neumticos es de 2,40 bar; consulte Figure 131.
Note: Una presin desigual en los neumticos puede causar una prdida de traccin. Si la mquina pierde traccin, aumente la presin de aire del neumtico a 3,44 bar para aumentar la tensin de las orugas.

Limpieza de la cabina
Important: Tenga cuidado alrededor de las juntas y las luces de la cabina (Figure 132). Si est utilizando un lavador a presin, mantenga la vara al menos a 0,6m de distancia de la mquina. No utilice un lavador a presin directamente sobre las juntas y las luces de la cabina o bajo el voladizo trasero.

Limpieza de los filtros de aire
-
Retire los tornillos moleteados y las rejillas que cubren el filtro interior y el filtro trasero de la cabina (Figure 133 y Figure 134).


-
Limpie los filtros con aire comprimido limpio y libre de aceite.
Important: Si cualquiera de los dos filtros est agujereado, desgarrado o tiene otros desperfectos, cmbielo.
-
Instale los filtros y las rejillas, y sujtelos con los tornillos.




















































































































