Техническое обслуживание
Рекомендуемый график(и) технического обслуживания
| Периодичность технического обслуживания | Порядок технического обслуживания |
|---|---|
| After the first 10 operating hours |
|
| After the first 250 operating hours |
|
| Every 50 hours |
|
| Every 200 hours |
|
Предупреждение
.
.
Смазка
-
, .
-
, , .
-
, .
Note: .
-
, .
-
.
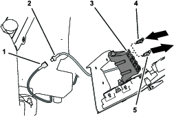
Техническое обслуживание электрической системы
Important: ( [–]), - .
. , .
, . , , (). , , , .
Note: , .
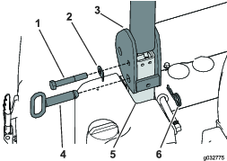
Техническое обслуживание приводной системы
Important: (Figure 132). , 0,6 . .

-


-
.
Important: , , .
-
, .





















































































































