Underhåll
Rekommenderat underhåll
| Underhållsintervall | Underhållsförfarande |
|---|---|
| After the first 10 operating hours |
|
| After the first 250 operating hours |
|
| Every 50 hours |
|
| Every 200 hours |
|
Varning
Om du lmnar nyckeln i tndningslset kan ngon starta motorn av misstag och skada dig eller ngon annan person allvarligt.
Ta ut nyckeln ur tndningslset innan du utfr ngot underhll.
Smörjning
Smrja maskinen
-
Stll maskinen p ett plant underlag, koppla ur kraftuttaget och lgg i parkeringsbromsen.
-
Stng av motorn, ta ut nyckeln ur tndningslset och vnta tills alla rrliga delar har stannat innan du kliver ur frarstet.
-
Torka av smrjnipplarna med en trasa.
Note: Skrapa bort eventuell frg frn nipplarnas framndar.
-
Anslut en fettspruta till nippeln och spruta in fett i nipplarna tills det brjar sippra ut ur lagren.
-
Torka av verfldigt fett.
Underhålla elsystemet
Important: Nr du arbetar med elsystemet ska du alltid koppla loss den negativa (–) batterikabeln frst fr att undvika att ledningarna skadas genom kortslutning.
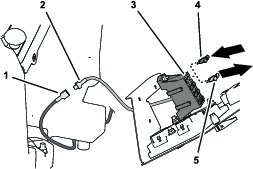
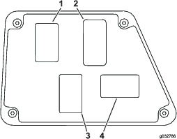
Kontrollera skringarna
Anvisningar om skringarna finns i bruksanvisningen som medfljer hytten.
Om maskinen har ngot problem i elsystemet kontrollerar du skringarna. Ta ut en skring i taget frn skringsblocket och kontrollera om den r ppen (har gtt). Om du behver byta en skring ska du alltid anvnda en skring av samma typ och med samma strmstyrka som den du byter ut, annars kan du skada elsystemet.
Note: Om skringarna ofta gr r det mjligt att det finns en kortslutning i det elektriska systemet, och du br d lta en behrig servicetekniker underska klipparen.
Underhålla drivsystemet
Kontrollera dcktrycket
Important: Kontrollera lufttrycket i dcken innan du kr maskinen.
Kontrollera att lufttrycket r 2,4 bar. Se Figure 131.
Note: Om lufttrycket i dcken r ojmnt kan det leda till att maskinen frlorar drivkraft. Om maskinen frlorar drivkraft ska du ka lufttrycket i dcket till 3,44 bar fr att ka larvbandens spnning.

Rengra hytten
Important: Var frsiktig runt hyttens ttningar och lampor (Figure 132). Om du anvnder en hgtryckstvtt, hll sprutan p minst 60cm avstnd frn maskinen. Anvnd inte hgtryckstvtten direkt p hyttens ttningar, lampor och p det bakre verhnget.

Rengra luftfiltren
-
Ta bort vingskruvarna och gallren frn luftfiltren i hytten och bakom hytten (Figure 133 och Figure 134).


-
Rengr filtren genom att blsa ren, oljefri tryckluft genom dem.
Important: Om ngot filter har ett hl, en reva eller ngon annan skada ska det bytas ut.
-
Montera filtren och gallren, och fst dem med vingskruvarna.




















































































































