Техническое обслуживание
Смазка машины
Регулярно закачивайте в 5 масленок, расположенных на каждом режущем блоке (Рисунок 22), литиевую смазку № 2.
Две точки смазки расположены на переднем валике, две — на заднем валике и одна — на шлице двигателя барабана.
Note: Смазка режущих блоков непосредственно после их промывки поможет удалить воду из подшипников и продлить срок их службы.
-
Протрите все масленки чистой ветошью.
-
Вводите смазку до появления чистой смазки из уплотнений роликов и предохранительного клапана подшипника.
-
Удалите излишки смазки.

Затыловочное шлифование барабана
Ширина витка барабана составляет от 1,3 до 1,5 мм, он заточен затыловочным шлифованием под 30 градусов.
Когда ширина витка становится больше 3 мм, выполните следующие действия:
-
Произведите 30-градусное затыловочное шлифование всех ножей барабана, пока не будет достигнута ширина витка 1,3 мм (Рисунок 23 и Рисунок 24).


-
Произведите шлифование методом вращения барабана, чтобы получить биение барабана <0,025 мм.
Note: При этом ширина витка немного увеличится.
Note: Чтобы после заточки барабана и/или неподвижного ножа их кромки оставались острыми как можно дольше, проверьте контакт барабана с неподвижным ножом еще раз после скашивания двух фарвэев, так как при скашивании удаляются все заусенцы, что может привести к нарушению зазора между барабаном и неподвижным ножом и тем самым ускорить износ.
Обслуживание неподвижного ножа
Эксплуатационные пределы неподвижного ножа приведены в следующей таблице.
Important: Эксплуатация режущего блока с неподвижным ножом, параметры которого ниже «эксплуатационного предела», может привести к неудовлетворительному результату скашивания и снижению прочности конструкции неподвижного ножа при ударах.
| Таблица эксплуатационного предела неподвижного ножа | ||||
| Неподвижный нож | № по каталогу | Высота режущей кромки неподвижного ножа* | Эксплуатационный предел* | Углы заточки Верхний/передний углы |
| Низкая высота скашивания (дополнительно) | 121-3167 (18 дюймов) 110-4084 (22 дюйма) | 5,6 мм | 4,8 мм | 10/5 градусов |
| Низкая высота скашивания EdgeMax® (модель 03485)(модель 03487) | 137-0830 (18 дюймов) 137-0832 (22 дюйма) | 5,6 мм | 4,8 мм | 10/5 градусов |
| Расширенная низкая высота скашивания (дополнительно) | 120-1640 (22 дюйма) | 5,6 мм | 4,8 мм | 10/10 градусов |
| Расширенная низкая высота скашивания EdgeMax® (дополнительно) | 119-4280 (22 дюйма) | 5,6 мм | 4,8 мм | 10/10 градусов |
| EdgeMax® (модель 03484)(Модель 03486) | 137-0831 (18 дюймов) 137-0833 (22 дюйма) | 6,9 мм | 4,8 мм | 10/5 градусов |
| Стандартный (дополнительно) | 121-3166 (18 дюймов) 108-9096 (22 дюйма) | 6,9 мм | 4,8 мм | 10/5 градусов |
| Для сложных условий работы (дополнительно) | 110-4074 (22 дюйма) | 9,3 мм | 4,8 мм | 10/5 градусов |
Рекомендованные верхние и передние углы заточки неподвижного ножа (Рисунок 25)

Note: Все измерения эксплуатационного предела неподвижного ножа выполняются относительно нижней части неподвижного ножа (Рисунок 26).

Проверка верхнего угла заточки
При заточке неподвижных ножей очень важно обеспечить получение правильного угла.
Используйте индикатор угла (№ детали 131-6828 по каталогу Toro) и крепление для индикатора угла (номер детали 131-6829 по каталогу Toro), чтобы проверить угол, который обеспечивает устройство для заточки, и при несовпадении скорректируйте его.
-
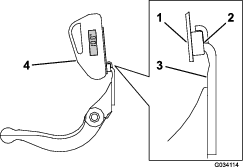
Установите индикатор угла на нижней стороне неподвижного ножа, как показано на Рисунок 27.

-
Нажмите кнопку Alt Zero (Нулевая высота) на индикаторе угла.
-
Установите крепление индикатора угла на кромке неподвижного ножа так, чтобы кромка магнита совпала с кромкой неподвижного ножа (Рисунок 28).
Note: При выполнении действий, описанных в данном пункте, цифровой дисплей должно быть видно с той же стороны, что и при выполнении действий, описанных в пункте 1.

-
Установите индикатор угла на крепление, как показано на Рисунок 28.
Note: Угол, получаемый с помощью устройства для заточки, не должен отличаться более чем на 2 градуса от рекомендованного верхнего угла заточки.
Техническое обслуживание неподвижного ножа
Демонтаж неподвижного ножа
-
Поверните регулировочные винты планки неподвижного ножа против часовой стрелки, чтобы отодвинуть неподвижный нож от барабана (Рисунок 29).

-
Ослабьте гайку натяжения пружины так, чтобы шайба не нажимала на планку неподвижного ножа (Рисунок 29).
-
С каждой стороны машины ослабьте контргайку, крепящую болт планки неподвижного ножа (Рисунок 30).

-
Удалите все болты планки неподвижного ножа, потяните планку вниз и отсоедините ее от машинного болта (Рисунок 30).
Note: Не забудьте о наличии двух нейлоновых шайб и одной штампованной стальной шайбы с каждой стороны планки неподвижного ножа (Рисунок 31).

Сборка планки неподвижного ножа
-
Установите неподвижный нож, расположив монтажные проушины между шайбой и регулятором неподвижного ножа.
-
Прикрепите планку неподвижного ножа к боковым пластинам с помощью болтов планки неподвижного ножа (гаек на болтах) и 6 шайб.
Note: Установите нейлоновую шайбу с каждой стороны выступа боковой пластины. На каждую нейлоновую шайбу установите стальную шайбу (Рисунок 31).
-
Затяните болты неподвижного ножа с моментом от 37 до 45 Н∙м.
Note: Затяните контргайки так, чтобы наружные стальные шайбы перестали вращаться и осевой люфт был устранен, но не перетягивайте контргайки и не деформируйте боковые пластины. На внутренней стороне пластин шайбы могут быть установлены с зазором.
-
Затяните гайку натяжения пружины так, чтобы пружина полностью сжалась, затем отверните ее на 1/2 оборота (Рисунок 32).

Обслуживание HD системы двухточечной регулировки (DPA)
-
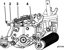
Снимите все детали; см. Инструкцию по установке для HD комплекта DPA, модель 120-7230, и Рисунок 33.
-
Нанесите противозадирный состав на внутреннюю поверхность втулки на центральной раме режущего блока (Рисунок 33).
-
Совместите выступы фланцевых втулок с прорезями в раме и установите втулки (Рисунок 33).
-
Установите волнистую шайбу на вал регулятора и вставьте вал регулятора во фланцевые втулки, установленные в раме режущего блока (Рисунок 33).
-
Закрепите вал регулятора с помощью плоской шайбы и контргайки (Рисунок 33). Затяните контргайку с моментом от 20 до 27 Н∙м.
Note: Вал регулятора планки неподвижного ножа имеет левостороннюю резьбу.
-
Нанесите противозадирный состав на резьбу винта регулятора планки неподвижного ножа, который вставляется в вал регулятора. Заверните винт регулятора планки неподвижного ножа в вал регулятора.
-
Установите на винт регулятора, не затягивая, закаленную шайбу, пружину и гайку натяжения пружины.
-
Установите неподвижный нож, расположив монтажные проушины между шайбой и регулятором планки неподвижного ножа.
-
Прикрепите планку неподвижного ножа к боковым пластинам с помощью болтов планки неподвижного ножа (гаек на болтах) и 6 шайб следующим образом:
-
Установите нейлоновую шайбу с каждой стороны выступа боковой пластины.
-
На нейлоновые шайбы установите стальные шайбы (Рисунок 33).
-
Затяните болты планки неподвижного ножа с моментом от 37 до 45 Н∙м.
-
Затяните контргайки так, чтобы наружные стальные шайбы перестали вращаться и осевой люфт был устранен, но не перетягивайте и не деформируйте боковые пластины.
Note: На внутренней стороне пластин шайбы могут быть установлены с зазором (Рисунок 31).
-
-
Затяните гайку на каждом узле регулировки планки неподвижного ножа до полного сжатия пружины, а затем отпустите гайку на 1/2 оборота (Рисунок 32).
-
Повторите эту процедуру на другой стороне режущего блока.
-
Отрегулируйте контакт барабана с неподвижным ножом.

Обслуживание валика
Для обслуживания валика предусмотрены ремонтный комплект валика и набор инструментов для ремонта валика (Рисунок 34). Ремонтный комплект валика включает в себя все подшипники, гайки подшипника, внутренние и внешние уплотнения для ремонта валика.Набор инструментов для ремонта валика включает в себя все инструменты и инструкции по установке, необходимые для ремонта валика, с помощью ремонтного комплекта валика. См. каталог деталей или свяжитесь со своим поставщиком для получения помощи по данному вопросу.





















