Manutenção
Lubrificação da máquina
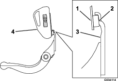
Lubrifique regularmente os cinco bocais de lubrificação em cada unidade de corte (Figura 22), com massa n.º 2 para utilizações gerais, à base de lítio.
Há dois pontos de lubrificação no rolo frontal, rolo traseiro e um na estria do motor do cilindro.
Note: Lubrificar as unidades de corte imediatamente após a lavagem ajuda a purgar a água dos rolamentos e aumenta a duração dos mesmos.
-
Limpe cada bocal de lubrificação com um trapo limpo.
-
Aplique lubrificação até que se veja lubrificante limpo a sair dos vedantes do rolo e da válvula de descarga do rolamento.
-
Elimine o excesso de massa lubrificante.

Amolação de retificação do cilindro
O cilindro tem uma largura de 1,3 a 1,5 mm e uma amolação de retificação de 30 graus.
Quando a dimensão da folga é superior a 3 mm de largura, faça o seguinte:
-
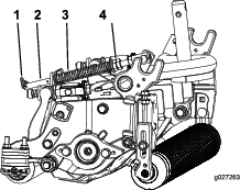
Aplique uma amolação de retificação de 30 graus em todas as lâminas do cilindro até que a folga tenha uma largura de 1,3 mm (Figura 23 e Figura 24).


-
Amole o cilindro para obter uma deslocação do cilindro <0,025 mm.
Note: Isto causa que a folga aumente ligeiramente.
Note: Para aumentar a longevidade da afiação da extremidade do cilindro e lâmina – após a amolação do cilindro e/ou lâmina – verifique novamente o contacto entre cilindro e lâmina depois de cortar dois fairways, uma vez que qualquer rebarba é eliminada o que pode criar uma folga indevida entre cilindro e lâmina e acelerar, desta forma, o desgaste.
Assistência à lâmina
Os limites de assistência à lâmina encontram-se no quadro seguinte.
Important: O funcionamento da unidade de corte com a lâmina abaixo do “limite de assistência” pode causar um fraco aspecto após o corte e reduzir a integridade estrutural da lâmina para impactos.
| Quadro de limite de assistência à lâmina | ||||
| Lâmina de corte | Peça nº | Altura do topo da lâmina* | Limite de assistência* | Ângulos de amolaçãoÂngulo superior/frontal |
| Baixa altura de corte (Opcional) | 121–3167 (46 cm)110–4084 (56 cm) | 5,6 mm | 4,8 mm | 10/5 graus |
| Baixa altura de corte EdgeMax® (Modelo 03485)(Modelo 03487) | 137-0830 (46 cm)137-0832 (56 cm) | 5,6 mm | 4,8 mm | 10/5 graus |
| Baixa altura extensível de corte (Opcional) | 120-1640 (56 cm) | 5,6 mm | 4,8 mm | 10/10 graus |
| Baixa altura EdgeMax® extensível de corte (Opcional) | 119-4280 (56 cm) | 5,6 mm | 4,8 mm | 10/10 graus |
| EdgeMax® (modelo 03484)(Modelo 03486) | 137-0831 (46 cm)137-0833 (56 cm) | 6,9 mm | 4,8 mm | 10/5 graus |
| Standard (opcional) | 121-3166 (46 cm)108-9096 (56 cm) | 6,9 mm | 4,8 mm | 10/5 graus |
| Pesados (opcional) | 110-4074 (56 cm) | 9,3 mm | 4,8 mm | 10/5 graus |
Recomendado para ângulos superiores e frontais da lâmina de corte (Figura 25)

Note: Todas as medidas dos limites de assistência da lâmina se referem à parte inferior da lâmina (Figura 26)

Verificar o ângulo de amolação superior
O ângulo que utiliza para amolar as lâminas de corte é muito importante.
Utilize o indicador de ângulo (peça Toro n.º 131-6828) e a montagem do indicador do ângulo (peça Toro n.º 131-6829) para verificar o ângulo que o seu amolador produz e depois corrija qualquer imprecisão no amolador.
-
Coloque o indicador de ângulo no lado inferior da lâmina de corte, como se ilustra na Figura 27.

-
Pressione o botão Alt Zero no indicador de ângulo.
-
Coloque a montagem do indicador de ângulo na extremidade da lâmina de corte para que a extremidade do íman fique alinhada com a extremidade da lâmina de corte (Figura 28).
Note: O ecrã digital deve ser visível do mesmo lado durante este passo como era no passo 1.

-
Coloque o indicador de ângulo na montagem, como se mostra na Figura 28.
Note: Este é o ângulo que o seu amolador produz e deve estar a 2 graus do ângulo de amolação superior recomendado.
Manutenção da barra de apoio
Remoção da barra de apoio
-
Rode os parafusos de ajuste da barra de apoio no sentido contrário ao dos ponteiros do relógio, para afastar a lâmina de corte do cilindro (Figura 29).

-
Faça recuar a porca da mola tensora até que a anilha deixe de estar sob tensão contra a barra de apoio (Figura 29).
-
Desaperte a porca de bloqueio que segura a cavilha da barra de apoio, em cada um dos lados da máquina (Figura 30).

-
Remova cada uma das cavilhas da barra de apoio, de modo permitir puxá-la e retirá-la da máquina (Figura 30).
Note: Guarde as duas anilhas de nylon e anilha de aço prensado de cada uma das extremidades da barra de apoio (Figura 31).

Montagem da barra de apoio
-
Instale a barra de apoio, posicionando as aletas de montagem entre a anilha e o ajustador da barra de apoio.
-
Fixe a barra de apoio a cada um dos lados da placa lateral com as cavilhas (porcas nas cavilhas) e com as 6 arruelas.
Note: Coloque uma anilha de nylon de cada lado da placa lateral. Coloque uma arruela de aço no exterior de cada uma das arruelas de nylon (Figura 31).
-
Aperte os parafusos da barra de apoio com uma força de 37 a 45 N·m.
Note: Aperte as porcas até que a anilha de aço exterior pare de rodar e a folga seja removida, mas não aperte em demasiado nem desvie as placas laterais. As anilhas podem ter uma folga interna.
-
Aperte a porca da mola tensora até que a mola fique recolhida; em seguida, desaperte meia volta (Figura 32).

Assistência ao Ajuste de Dois Pontos HD (DPA)
-
Retire todas as peças; consulte as Instruções de instalação do Kit DPA HD Modelo 120-7230 e Figura 33.
-
Aplique composto antigripagem no interior da área dos casquilhos na estrutura unidade de corte central (Figura 33).
-
Alinhe as chaves nos casquilhos das flanges com as ranhuras na estrutura e instale os casquilhos (Figura 33).
-
Instale uma anilha ondulada no veio do ajustador e deslize o veio para os casquilhos da flange na estrutura da unidade de corte (Figura 33).
-
Prenda o veio ajustador com uma anilha plana e uma porca de bloqueio (Figura 33). Aperte a porca de bloqueio com uma força de 20 a 27 N m.
Note: O veio do ajustador da barra de apoio possui roscas esquerdas.
-
Aplique composto antigripagem nas roscas do parafuso do ajustador da barra de apoio que encaixa no veio do ajustador. Enrosque o parafuso do ajustador da barra de apoio no veio do ajustador.
-
Instale sem apertar a anilha reforçada, mola e porca tensora da mola no parafuso do ajustador.
-
Instale a barra de apoio, posicionando as aletas de montagem entre a anilha e o ajustador da barra de apoio.
-
Fixe a barra de apoio a cada placa lateral com os parafusos (porcas nos parafusos) e com as 6 anilhas da seguinte forma:
-
Coloque uma anilha de nylon de cada lado da placa lateral.
-
Coloque uma arruela de aço no exterior de cada uma das arruelas de nylon (Figura 33).
-
Aperte os parafusos da barra de apoio com uma força de 37 a 45 N·m.
-
Aperte as porcas até que a anilha de aço exterior pare de rodar e a folga seja removida, mas não aperte em demasiado nem desvie as placas laterais.
Note: As anilhas podem ter uma folga interna (Figura 31).
-
-
Aperte a porca em cada conjunto de ajustador da barra de apoio até que a mola de compressão esteja totalmente comprimida e, em seguida, desaperte a porca 1/2 volta (Figura 32).
-
Repita o procedimento no lado oposto da unidade de corte.
-
Ajustar a lâmina de corte ao cilindro.

Manutenção do rolo
O kit de remontagem de rolo e o kit de ferramentas de remontagem de rolo (Figura 34) estão disponíveis para fazer a manutenção do rolo. O kit do rolo inclui todos os rolamentos, porcas dos rolamentos, vedantes internos e externos necessários para remontar um rolo.O kit inclui todas as ferramentas e as instruções de instalação necessárias à remontagem de um rolo com o Kit de remontagem de rolo. Consulte o Catálogo de peças ou contacte o distribuidor para obter ajuda.





















