Kunnossapito
Koneen voitelu
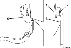
Voitele kunkin leikkuuyksikön viisi rasvanippaa (Kuva 22) säännöllisesti litiumpohjaisella yleisrasvalla nro 2.
Eturullassa on kaksi voitelupistettä, takarullassa on kaksi voitelupistettä, ja kelamoottorin urassa on yksi voitelupiste.
Note: Kun leikkuuyksiköt rasvataan heti pesun jälkeen, vesi saadaan poistettua paremmin laakereista, mikä pidentää laakereiden käyttöikää.
-
Pyyhi kukin rasvanippa puhtaalla kankaalla.
-
Levitä rasvaa, kunnes puhdasta rasvaa alkaa tihkua rullan tiivisteistä ja laakerin rajoitusventtiilistä.
-
Pyyhi pois ylimääräinen rasva.

Kelan takatahkoaminen
Uudessa kelassa on 1,3–1,5 mm:n kierreleveys ja 30 asteen takatahkous.
Kun kierreleveys on suurempi kuin 3 mm, on tehtävä seuraavat toimenpiteet:
-
Tee kaikkiin kelan lehtiin 30 asteen takatahkous, kunnes kierreleveys on 1,3 mm (Kuva 23 ja Kuva 24).


-
Hio kelaa, kunnes sen jättö on <0,025 mm.
Note: Tämä kasvattaa hieman kierreleveyttä.
Note: Kelan ja kiinteän terän leikkuureunan pysymistä terävänä voi pidentää tarkistamalla kelan ja/tai kiinteän terän hionnan jälkeen kelan ja kiinteän terän kosketuksen uudelleen kahden väylän leikkaamisen jälkeen. Tämä poistaa mahdolliset jäysteet, jotka voivat aiheuttaa virheellisen kelan ja kiinteän terän välyksen ja siten nopeuttaa kulumista.
Kiinteän terän huolto
Kiinteän terän huoltorajat on lueteltu seuraavassa taulukossa.
Important: Leikkuuyksikön käyttö kiinteän terän ollessa huoltorajan alapuolella voi heikentää leikkuujälkeä ja kiinteän terän rakenteellista lujuutta.
| Kiinteän terän huoltorajat | ||||
| Kiinteä terä | Osanro | Kiinteän terän kielekkeen korkeus* | Huoltoraja* | HiontakulmatYlä- ja etuosan kulmat |
| Alhainen leikkuukorkeus (lisävaruste) | 121-3167 (46 cm)110-4084 (56 cm) | 5,6 mm | 4,8 mm | 10/5 astetta |
| EdgeMax® alhainen leikkuukorkeus (malli 03485)(malli 03487) | 137-0830 (46 cm)137-0832 (56 cm) | 5,6 mm | 4,8 mm | 10/5 astetta |
| Pitkä alhainen leikkuukorkeus (lisävaruste) | 120-1640 (56 cm) | 5,6 mm | 4,8 mm | 10/10 astetta |
| Pitkä EdgeMax® alhainen leikkuukorkeus (lisävaruste) | 119-4280 (56 cm) | 5,6 mm | 4,8 mm | 10/10 astetta |
| EdgeMax® (malli 03484)(malli 03486) | 137-0831 (46 cm)137-0833 (56 cm) | 6,9 mm | 4,8 mm | 10/5 astetta |
| Vakio (lisävaruste) | 121-3166 (46 cm)108-9096 (56 cm) | 6,9 mm | 4,8 mm | 10/5 astetta |
| Raskas käyttö (lisävaruste) | 110-4074 (56 cm) | 9,3 mm | 4,8 mm | 10/5 astetta |
Kiinteän terän ylä- ja etuosan suositellut hiontakulmat (Kuva 25)

Note: Kaikki kiinteän terän huoltorajan mitat on mitattu kiinteän terän pohjasta (Kuva 26)

Yläosan hiontakulman tarkistus
Kiinteän terän hiontakulma on erittäin tärkeä.
Hiontalaitteen kulma on tarkistettava kulman osoittimella (Toro-osanro 131-6828) ja kulman osoittimen kiinnittimellä (Toro-osanro 131-6829), ja mahdollinen epätarkkuus on korjattava.
-
Aseta kulman osoitin kiinteän terän alaosaan kuvan mukaisesti (Kuva 27).

-
Paina kulman osoittimen Alt Zero -painiketta.
-
Aseta kulman osoittimen kiinnitin kiinteän terän reunaan siten, että magneetin reuna kiinnittyy kiinteän terän reunaan (Kuva 28).
Note: Digitaalinäytön tulee näkyä samalta puolelta tämän vaiheen aikana kuin vaiheessa 1.

-
Aseta kulman osoitin kiinnittimeen kuvan mukaisesti (Kuva 28).
Note: Tämä on hiontalaitteen kulma, joka saa poiketa enintään kaksi astetta suositellusta yläosan hiontakulmasta.
Runkopalkin huolto
Runkopalkin irrotus
-
Käännä runkopalkin säätöruuveja vastapäivään, jotta kiinteä terä siirtyy etäämmälle kelasta (Kuva 29).

-
Löysää jousen kiristysmutteria, kunnes aluslaatta ei ole enää painunut runkopalkkia vasten (Kuva 29).
-
Löysää runkopalkin pultin lukkomutteria koneen molemmilta puolilta (Kuva 30).

-
Irrota kaikki runkopalkin pultit, jotta runkopalkki voidaan vetää alaspäin ja irrottaa konepultista (Kuva 30).
Note: Ota talteen kaksi nailonista aluslaattaa ja yksi stanssattu aluslaatta runkopalkin kummastakin päästä (Kuva 31).

Runkopalkin kokoaminen
-
Asenna runkopalkki asettamalla asennuskorvakkeet aluslaatan ja runkopalkin säätimen väliin.
-
Kiinnitä runkopalkki molempiin sivulevyihin runkopalkin pulteilla (pulteissa mutterit) ja kuudella aluslaatalla.
Note: Aseta nailoninen aluslaatta sivulevyn keskiön kummallekin puolelle. Aseta teräksinen aluslaatta jokaisen nailonisen aluslaatan ulkopuolelle (Kuva 31).
-
Kiristä runkopalkin pultit momenttiin 37–45 N∙m.
Note: Kiristä lukkomuttereita, kunnes ulompi teräksinen aluslaatta ei enää käänny eikä päittäisvälystä enää ole, mutta älä kiristä liikaa äläkä taivuta sivulevyjä. Sisäpuolella olevissa aluslaatoissa saa olla rako.
-
Kiristä jousen kiristysmutteria, kunnes jousi on painunut kokoon, ja löysää sitten mutteria puoli kierrosta (Kuva 32).

Kaksipistesäädettävien HD-leikkuuyksiköiden huolto
-
Irrota kaikki osat (katso HD-DPA-sarjan mallin 120–7230 asennusohjeet ja Kuva 33).
-
Levitä lukkiintumisenestoainetta holkin alueen sisäpuolelle leikkuuyksikön keskirunkoon (Kuva 33).
-
Kohdista laippaholkkien ulokkeet rungon koloihin ja asenna holkit (Kuva 33).
-
Asenna jousialuslaatta säätimen akseliin ja liu’uta säätimen akseli laippaholkkeihin leikkuuyksikön rungossa (Kuva 33).
-
Kiinnitä säätimen akseli litteällä aluslaatalla ja lukkomutterilla (Kuva 33). Kiristä lukkomutteri momenttiin 20–27 N∙m.
Note: Runkopalkin säätimen akselissa on vasenkätiset kierteet.
-
Levitä lukkiintumisenestoainetta säätimen akseliin sopivan runkopalkin säätöruuvin kierteisiin. Kierrä runkopalkin säätöruuvi säätimen akseliin.
-
Asenna karkaistu aluslaatta, jousi ja jousen kiristysmutteri löysästi säätöruuviin.
-
Asenna runkopalkki asettamalla asennuskorvakkeet aluslaatan ja runkopalkin säätimen väliin.
-
Kiinnitä runkopalkki molempiin sivulevyihin runkopalkin pulteilla (pulteissa mutterit) ja kuudella aluslaatalla seuraavasti:
-
Aseta nailoninen aluslaatta sivulevyn keskiön kummallekin puolelle.
-
Aseta teräksinen aluslaatta jokaisen nailonisen aluslaatan ulkopuolelle (Kuva 33).
-
Kiristä runkopalkin pultit momenttiin 37–45 N∙m.
-
Kiristä lukkomuttereita, kunnes ulompi teräksinen aluslaatta ei enää käänny eikä päittäisvälystä enää ole, mutta älä kiristä liikaa äläkä taivuta sivulevyjä.
Note: Sisäpuolella olevissa aluslaatoissa saa olla rako (Kuva 31).
-
-
Kiristä kunkin runkopalkin säädinkokoonpanon mutteria, kunnes painejousi on puristunut kokonaan kasaan. Löysää mutteria sitten puoli kierrosta (Kuva 32).
-
Tee sama leikkuuyksikön toisessa päässä.
-
Kohdista kiinteä terä kelaan.

Rullan huolto
Rullan huoltoa varten on saatavana rullan korjaussarja ja rullan korjaussarjan työkalusarja (Kuva 34). Rullan korjaussarja sisältää kaikki rullan korjauksessa tarvittavat laakerit, laakerimutterit sekä sisä- ja ulkotiivisteet.Rullan korjaussarjan työkalusarja sisältää kaikki rullan korjaussarjan käytössä tarvittavat työkalut ja asennusohjeet. Lisätietoja saa osaluettelosta tai jälleenmyyjältä.





















