维护
润滑机器
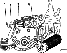
定期使用 2 号锂润滑脂润滑每个滚刀组的 5 个黄油嘴(图22)。
前滚筒和后滚筒各有 2 个润滑点,滚刀马达花键有 1 个润滑点。
Note: 冲洗之后应立即润滑滚刀组,有助于将水清理出轴承,并延长轴承寿命。
-
使用干净的抹布擦拭每个黄油嘴。
-
涂抹润滑脂,直至滚筒密封件和轴承释放阀外面看得到润滑脂。
-
擦掉多余的润滑脂。

铲磨滚刀
维护底刀
底刀使用极限列于下图中。
Important: 在使用极限以下使用带底刀的滚刀组,造成的影响可能包括导致剪后外观欠佳,并降低底刀结构的完整性。
| 底刀使用极限图 | ||||
| 底刀 | 零件号 | 底刀缘高度* | 维修限值* | 研磨角度顶面角∕前角 |
| 低剪(可选) | 121-3167(46cm)110-4084(56cm) | 5.6mm | 4.8mm | 10/5 度 |
| EdgeMax® 低前(型号 03485)(型号 03487) | 137-0830(46cm)137-0832(56cm) | 5.6mm | 4.8mm | 10/5 度 |
| 低剪延伸(可选) | 120-1640(56cm) | 5.6mm | 4.8mm | 10/10 度 |
| EdgeMax® 低剪延伸(可选) | 119-4280(56cm) | 5.6mm | 4.8mm | 10/10 度 |
| EdgeMax® (型号 03484)(型号 03486) | 137-0831(46cm)137-0833(56cm) | 6.9mm | 4.8mm | 10/5 度 |
| 标配(可选) | 121-3166(46cm)108-9096(56cm) | 6.9mm | 4.8mm | 10/5 度 |
| 重载(可选) | 110-4074(56cm) | 9.3mm | 4.8mm | 10/5 度 |
建议的顶面和前底刀研磨角度(图25)

Note: 请参看底刀底部,了解所有底刀使用极限衡量参数(图26)

维护底刀架
拆除底刀架
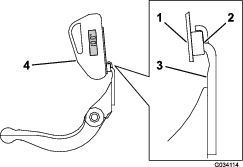
维护 HD 双点调节器 (DPA)
-
拆除所有零件;请参阅 HD DPA 套件(型号 120–7230)安装说明和图33。
-
将防粘剂涂抹到滚刀组中心滚刀组框架(图33)的轴套区内侧。
-
将凸缘轴套上的键与机架的槽对准,然后安装轴套(图33)。
-
将一个波形垫圈安装到调节器轴上,然后将调节器轴滑入滚刀组机架中的凸缘轴套内(图33)。
-
用扁平垫圈和锁紧螺母固定调节器轴(图33)。上紧锁紧螺母扭矩至 20~27N·m。
Note: 底刀架调节器轴采用左旋螺纹。
-
将防粘剂涂抹到安装在调节器轴中的底刀架调节器螺丝的螺纹上。将底刀架调节器螺丝旋入调节器轴。
-
将硬化垫圈、弹簧和弹簧加压螺母宽松地安装到调节器螺丝上。
-
安装底刀架,将安装吊耳固定在垫圈与底刀架调节器之间。
-
使用底刀架螺栓(螺栓上带螺母)和 6 个垫圈(共 个)将底刀架固定在两个侧板上,如下所示:
-
将尼龙垫圈放在侧板凸起的一侧。
-
在两个尼龙垫圈的外侧各放一个钢垫圈(图33)。
-
上紧底刀架螺栓扭矩至 37~45N·m。
-
拧紧锁紧螺母,直至外部钢垫圈停止旋转且两侧不再松动,但不要拧得过紧或导致侧板变形。
Note: 内侧的垫圈可能有空隙(图31)。
-
-
旋紧每个底刀架调节器总成上的螺母,直到加压弹簧完全压缩,然后往回松开 1/2 圈(图32)。
-
对滚刀组的另一端重复相同的步骤。
-
调节底刀与滚刀。

维护滚筒
维护滚筒可用滚筒翻新套件和滚筒翻新工具套件(图34)。滚筒翻新套件包括翻新滚筒所需的所有轴承、轴承螺母、内密封件和外密封件。滚筒翻新工具箱包括使用滚筒翻新套件翻新滚筒所需的所有工具和安装说明。请参阅您的零件目录,或联系您的经销商寻求帮助。





























