Manutenzione
Lubrificazione della macchina
Lubrificate i 5 raccordi d'ingrassaggio su ogni apparato di taglio (Figura 22) utilizzando grasso al litio n. 2.
Sono presenti 2 punti di lubrificazione sul rullo anteriore, 2 sul rullo posteriore e 1 sulla scanalatura del motore dei cilindri.
Note: La lubrificazione degli apparati di taglio subito dopo il lavaggio contribuisce ad eliminare l’acqua dai cuscinetti e ad aumentarne la vita utile.
-
Con uno straccio pulito passare ciascun raccordo di ingrassaggio.
-
Applicate il grasso fino a quando non esce grasso pulito dalle guarnizioni dei rulli e dalla valvola di sfogo dei cuscinetti.
-
Eliminate il grasso in eccesso con uno straccio.

Rettifica del cilindro
Il cilindro ha una larghezza a terra di 1,3-1,5 mm e una rettifica di 30 gradi.
Quando la larghezza a terra supera i 3 mm, effettuate quanto segue:
-
Applicate una rettifica di 30 gradi su tutte le lame dei cilindri fino a quando la larghezza a terra non è pari a 1,3 mm (Figura 23 e Figura 24).


-
Molate per rotazione il cilindro per ottenere una sporgenza dei cilindri di <0,025 mm.
Note: Ciò fa sì che la larghezza a terra aumenti leggermente.
Note: Per estendere la durata di affilatura del bordo del cilindro e della controlama, dopo la molatura del cilindro e/o della controlama, controllate nuovamente il contatto tra cilindro e controlama dopo aver tosato 2 fairway, dal momento che saranno rimosse eventuali bavature che possono creare un gioco tra cilindro e controlama non corretto e pertanto accelerarne l'usura.
Manutenzione della controlama
I limiti di servizio della controlama sono elencati nella tabella riportata di seguito.
Important: L’uso dell’apparato di taglio con la controlama al di sotto del limite di servizio può comportare un aspetto dopo il taglio di scarsa qualità e ridurre l’integrità strutturale della controlama in caso di urti.
| Tabella dei limiti di servizio della controlama | ||||
| Controlama | N. cat. | Altezza tagliente controlama* | Limite di servizio* | Angoli di affilaturaAngoli superiore/anteriore |
| Altezza di taglio ridotta (Optional) | 121-3167 (46 cm)110-4084 (56 cm) | 5,6 mm | 4,8 mm | 10/5 gradi |
| Altezza di taglio ridotta EdgeMax® (Modello 03485)(Modello 03487) | 137-0830 (46 cm)137-0832 (56 cm) | 5,6 mm | 4,8 mm | 10/5 gradi |
| Superiore range di altezza di taglio ridotta (Optional) | 120-1640 (56 cm) | 5,6 mm | 4,8 mm | 10/10 gradi |
| Superiore range di altezza di taglio ridotta EdgeMax® (Optional) | 119-4280 (56 cm) | 5,6 mm | 4,8 mm | 10/10 gradi |
| EdgeMax® (Modello 03484)(Modello 03486) | 137-0831 (46 cm)137-0833 (56 cm) | 6,9 mm | 4,8 mm | 10/5 gradi |
| Standard (Optional) | 121-3166 (46 cm)108-9096 (56 cm) | 6,9 mm | 4,8 mm | 10/5 gradi |
| Servizio pesante (Optional) | 110-4074 (56 cm) | 9,3 mm | 4,8 mm | 10/5 gradi |
Angoli di affilatura superiore e anteriore raccomandati della controlama (Figura 25)

Note: Tutte le misure relative al limite di assistenza della controlama vengono prese dall’estremità inferiore della controlama (Figura 26)

Verifica dell'angolo di affilatura superiore
L'angolo che utilizzate per affilare le vostre controlame è molto importante.
Utilizzate il goniometro (n. cat. Toro 131-6828) e il relativo supporto (n. cat. Toro 131-6829) per verificare l'angolo prodotto dalla vostra mola e poi rettificatelo in caso di eventuali imprecisioni.
-
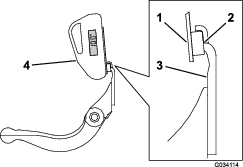
Posizionate il goniometro sul lato inferiore della controlama, come illustrato nella Figura 27.

-
Premete il pulsante Alt Zero sul goniometro.
-
Posizionate il supporto del goniometro sul bordo della controlama, in modo che il bordo del magnete corrisponda a quello della controlama (Figura 28).
Note: Durante questa fase il display digitale deve essere visibile dallo stesso lato della fase 1.

-
Posizionate il goniometro sul supporto, come illustrato nella Figura 28.
Note: Questo è l'angolo prodotto dalla vostra mola e dovrebbe rientrare entro 2 gradi dall'angolo di affilatura superiore raccomandato.
Manutenzione della barra di appoggio
Rimozione della barra di appoggio
-
Ruotate le viti di regolazione della barra di appoggio in senso antiorario per allontanare la controlama dal cilindro (Figura 29).

-
Allentate il dado di tensione della molla finché la rondella non sarà più in tensione contro la barra di appoggio (Figura 29).
-
Su ciascun lato della macchina, allentate il dado di bloccaggio che fissa il bullone della barra di appoggio (Figura 30).

-
Togliete ciascun bullone della barra di appoggio consentendo alla barra di appoggio di essere tirata verso il basso e rimossa dal bullone della macchina (Figura 30).
Note: Considerate 2 rondelle in nylon e 1 rondella in acciaio stampato su ciascun lato della barra di appoggio (Figura 31).

Assemblaggio della barra di appoggio
-
Montate la barra di appoggio, posizionando gli attacchi di montaggio tra la rondella e il regolatore della barra di appoggio.
-
Fissate la barra di appoggio su ciascuna piastra laterale mediante gli appositi bulloni (dadi sui bulloni) e 6 rondelle.
Note: Collocate una rondella in nylon su ciascun lato della flangia di estremità della piastra laterale. Posizionate una rondella in acciaio all’esterno di ciascuna rondella in nylon (Figura 31).
-
Serrate i bulloni della barra di appoggio a un valore compreso tra 37 e 45 N∙m.
Note: Serrate i dadi di bloccaggio finché la rondella in acciaio esterna non cesserà di ruotare e il gioco di estremità verrà eliminato, ma non serrate eccessivamente o non deviate le piastre laterali. Le rondelle all’interno possono avere del gioco.
-
Serrate il dado di tensione della molla finché la molla non si schiaccia, quindi allentate di 1/2 giro (Figura 32).

Revisione dei regolatori a due punti HD (DPA).
-
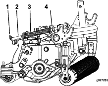
Rimuovete tutte le parti; fate riferimento alle Istruzioni per l'installazione del kit DPA HD Modello 120-7230 e a Figura 33.
-
Applicate del lubrificante antigrippaggio all'interno dell'elemento in cui vanno montate le boccole, sul telaio centrale dell'apparato di taglio (Figura 33).
-
Allineate le chiavette sulle boccole flangiate alle scanalature sul telaio e montate le boccole (Figura 33).
-
Montate una rondella ondulata sull'albero del dispositivo di regolazione e inserite l'albero all'interno delle boccole flangiate sul telaio dell'apparato di taglio (Figura 33).
-
Fissate l'albero del dispositivo di regolazione con una rondella piana e un dado di bloccaggio (Figura 33). Serrate il dado di bloccaggio a un valore compreso tra 20 e 27 N∙m.
Note: L'albero del dispositivo di regolazione della barra di appoggio è sinistrorso.
-
Applicate un composto antigrippaggio sui filetti della vite del dispositivo di regolazione della barra di appoggio che si innesta nell'albero del dispositivo di regolazione. Avvitate la vite del dispositivo di regolazione della barra di appoggio nell'albero.
-
Montate, senza serrare, la rondella rinforzata, la molla e il dado di tensione della molla sulla vite del dispositivo di regolazione.
-
Montate la barra di appoggio, posizionando gli attacchi di montaggio tra la rondella e il regolatore della barra di appoggio.
-
Fissate la barra di appoggio su ciascuna piastra laterale mediante gli appositi bulloni (dadi sui bulloni) e 6 rondelle nel modo seguente:
-
Collocate una rondella in nylon su ciascun lato della flangia di estremità della piastra laterale.
-
Posizionate una rondella in acciaio all’esterno di ciascuna rondella in nylon (Figura 33).
-
Serrate i bulloni della barra di appoggio a un valore compreso tra 37 e 45 N∙m.
-
Serrate i dadi di bloccaggio finché la rondella in acciaio esterna non cesserà di ruotare e il gioco di estremità verrà eliminato, ma non serrate eccessivamente o non deviate le piastre laterali.
Note: Le rondelle all’interno possono avere del gioco (Figura 31).
-
-
Serrate il dado su ciascun gruppo di regolazione della barra di appoggio fino a comprimere completamente la molla di compressione, quindi allentate il dado di 1/2 giro (Figura 32).
-
Ripetete l'operazione sull'altra estremità dell'apparato di taglio.
-
Regolate la controlama rispetto al cilindro.

Manutenzione del rullo
Per la manutenzione del rullo sono disponibili un Kit di ricostruzione rullo e un Kit utensili per ricostruzione rullo (Figura 34). Il Kit di ricostruzione rullo include tutti i cuscinetti, i dadi dei cuscinetti, le guarnizioni interne ed esterne necessari per ricostruire un rullo.Il Kit utensili per ricostruzione rullo include tutti gli utensili e le istruzioni d’installazione necessari per ricostruire un rullo con il Kit di ricostruzione rullo. Fate riferimento al Catalogo di ricambi o contattate il vostro distributore per assistenza.





















