Onderhoud
Machine smeren
Smeer de 5 smeernippels van elk maaidek (Figuur 22) met nr. 2 vet op basis van lithium.
Er zijn 2 smeerpunten op de voorrol, 2 op de achterrol en 1 aan de sleuf van de motor van de messenkooi.
Note: Smeer de maaidekken onmiddellijk nadat u deze hebt gewassen. Hierdoor wordt het water afgevoerd uit de lagers en wordt hun levensduur verlengd.
-
Veeg alle smeernippels af met een schone doek.
-
Breng smeervet aan totdat er schoon vet uit de afdichtingen van de rol en de ontlastklep van het lager komt.
-
Veeg eventueel overtollig vet weg.

Hoekslijpen van de messenkooi
De messenkooi heeft een platte zijkant van 1,3 tot 1,5 mm en een hoek van 30 graden.
Wanneer de platte zijkant groter dan 3 mm wordt, doe dan het volgende:
-
Slijp alle messen onder een hoek van 30 graden tot de platte zijkant 1,3 mm breed is (Figuur 23 en Figuur 24).


-
Draaislijp de messenkooi tot de onregelmatigheid van de messen niet meer dan 0,025 mm bedraagt.
Note: Hierdoor wordt de platte zijkant een beetje groter.
Note: Om de messenkooi en het ondermes langer scherp te houden – na het slijpen van de messenkooi en/of het ondermes – controleert u het contact tussen de messenkooi en het ondermes opnieuw nadat u 2 fairways gemaaid hebt; bramen zullen immers worden verwijderd, wat onjuiste speling tussen de messenkooi en het ondermes tot gevolg kan hebben en de slijtage kan versnellen.
Onderhoud van het ondermes
De servicelimieten voor het ondermes staan in de volgende tabel.
Important: Als het maaidek wordt gebruikt met het ondermes na de onderhoudslimiet, kan dit leiden tot een slecht maairesultaat en het ondermes minder bestand tegen stoten maken.
| Tabel met onderhoudslimiet voor snijplaat | ||||
| Snijplaat | Onderdeelnr. | Hoogte snijplaatlip * | Onderhoudslimiet* | SlijphoekenBoven-/Voorhoeken |
| Lage maaihoogte (optioneel) | 121-3167 (46 cm)110-4084 (56 cm) | 5,6 mm | 4,8 mm | 10/5 graden |
| EdgeMax® lage maaihoogte (model 03485)(model 03487) | 137-0830 (46 cm)137-0832 (56 cm) | 5,6 mm | 4,8 mm | 10/5 graden |
| Uitgebreide lage maaihoogte (optioneel) | 120-1640 (56 cm) | 5,6 mm | 4,8 mm | 10/10 graden |
| Uitgebreide EdgeMax® lage maaihoogte (optioneel) | 119-4280 (56 cm) | 5,6 mm | 4,8 mm | 10/10 graden |
| EdgeMax® (model 03484)(Model 03486) | 137-0831 (46 cm)137-0833 (56 cm) | 6,9 mm | 4,8 mm | 10/5 graden |
| Standaard (optioneel) | 121-3166 (46 cm)108-9096 (56 cm) | 6,9 mm | 4,8 mm | 10/5 graden |
| Heavy-duty (optioneel) | 110-4074 (56 cm) | 9,3 mm | 4,8 mm | 10/5 graden |
Aanbevolen slijphoeken voor bovenkant en voorzijhet ondermes (Figuur 25)

Note: Alle metingen voor de onderhoudslimiet van het ondermes hebben betrekking op de onderkant van het ondermes (Figuur 26)

De slijphoek aan de bovenkant controleren
De slijphoek voor de ondermessen is zeer belangrijk.
Gebruik de hoekindicator (Toro onderdeelnummer. 131-6828) en de steun van de hoekindicator (Toro onderdeelnummer. 131-6829) om de hoek die uw slijpmachine produceert te controleren en corrigeer vervolgens de onnauwkeurigheid van de slijpmachine.
-
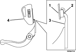
Plaats de hoekindicator op de onderkant van het ondermes, zoals getoond in Figuur 27.

-
Druk op de Alt Zero knop op de hoekindicator.
-
Plaats de steun van de hoekindicator op de rand van het ondermes zodat de rand van de magneet past op de rand van het ondermes (Figuur 28).
Note: Gedurende deze stap moet de digitale uitlezing zichtbaar zijn van dezelfde kant als in stap 1.

-
Plaats de hoekindicator op de steun zoals getoond in Figuur 28.
Note: Dit is de hoek die uw slijpmachine produceert en deze moet binnen twee graden van de aanbevolen slijphoek aan de bovenkant zijn.
Onderhoud van het ondermes
Het ondermes verwijderen
-
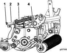
Draai de stelschroeven van het ondermes linksom om het ondermes weg te trekken van de messenkooi (Figuur 29).

-
Draai de veerspanningsmoer uit totdat de ring niet meer tegen de snijbalk is geklemd (Figuur 29).
-
Draai de borgmoer van de ondermesbalkbout op beide zijden van de machine los (Figuur 30).

-
Verwijder beide snijbalkbouten zodat de snijbalk omlaag kan worden getrokken en uit de machine worden verwijderd (Figuur 30).
Note: Bewaar de 2 nylon ringen en de stalen ring op beide uiteinden van de snijbalk (Figuur 31).

De ondermesbalk monteren
-
Plaats het ondermes en zorg ervoor dat de montagelippen zich tussen de ring en de stelschroef van het ondermes bevinden.
-
Zet de snijbalk vast aan beide zijplaten met de snijbalkbouten (moeren op de bouten) en 6 ringen.
Note: Plaats een nylon ring aan elke zijde van de naaf van de zijplaat. Plaats een stalen ring op de buitenkant van beide nylon ringen (Figuur 31).
-
Draai de bouten van de snijbalk vast met een koppel van 37 tot 45 N·m.
Note: Draai de borgmoeren vast tot de buitenste stalen ring stopt met draaien en er geen eindspeling meer is, maar draai de moeren niet te vast en zorg ervoor dat de zijplaten niet vervormen. De ringen aan de binnenkant mogen speelruimte hebben.
-
Draai de veerspanningsmoer vast totdat de veer is ingedrukt; draai deze vervolgens een 1/2 slag terug (Figuur 32).

Onderhoud uitvoeren aan de zwaar uitgevoerde tweepuntsafstelling (DPA)
-
Verwijder alle onderdelen; raadpleeg Aanwijzingen voor montage van DPA-set modelnr. 120-7230 en Figuur 33.
-
Breng anti-seize pasta aan op de binnenkant van de bushouder op het middelste frame van het maaidek (Figuur 33).
-
Lijn de spieën van de flensbussen uit met de openingen in het frame en monteer de bussen (Figuur 33).
-
Monteer een golfring op de afstelas en schuif de afstelas in de flensbussen in het frame van het maaidek (Figuur 33).
-
Zet de afstelas vast met een platte ring en een borgmoer (Figuur 33). Draai de borgmoer vast met een koppel van 20 tot 27 N·m.
Note: De afstelas van het ondermes heeft linksdraaiende schroefdraad.
-
Breng anti-seize pasta aan op de schroefdraad van de stelschroef van het ondermes die in de afstelas gaat. Schroef de stelschroef van het ondermes in de afstelas.
-
Monteer de geharde ring, veer en veerspanningsmoer losjes op de stelschroef.
-
Plaats het ondermes en zorg ervoor dat de montagelippen zich tussen de ring en de stelschroef van het ondermes bevinden.
-
Zet het ondermes als volgt vast aan beide zijplaten met het ondermesbouten (moeren op de bouten) en 6 ringen:
-
Plaats een nylon ring aan elke zijde van de naaf van de zijplaat.
-
Plaats een stalen ring op de buitenkant van beide nylon ringen (Figuur 33).
-
Draai de bouten van het ondermes vast met een koppel van 37 tot 45 Nm.
-
Draai de borgmoeren vast tot de buitenste stalen ring stopt met draaien en er geen eindspeling meer is, maar draai de moeren niet te vast en zorg ervoor dat de zijplaten niet vervormen.
Note: De ringen aan de binnenkant mogen speelruimte hebben (Figuur 31).
-
-
Draai de moer van elke snijplaatafsteller vast tot de drukveer volledig ingedrukt is. Draai vervolgens de moer een halve slag los (Figuur 32).
-
Herhaal deze procedure aan de andere kant van de eenheid.
-
Stel het contact tussen ondermes en messenkooi af.

Onderhoud van de rol
Er zijn een revisieset voor de rol en een gereedschapsset voor revisie van de rol (Figuur 34) verkrijgbaar om de rol een onderhoudsbeurt te geven. De revisieset omvat alle lagers, lagermoeren en binnen- en buitenpakkingen die nodig zijn om een rol te reviseren.De gereedschapsset bevat alle werktuigen en montage-instructies die nodig zijn om een rol te reviseren met de revisieset. Zie de onderdelencatalogus of neem contact op met uw Toro-dealer als u hulp nodig heeft.





















