| Maintenance Service Interval | Maintenance Procedure |
|---|---|
| After each use |
|
This machine is designed to mix mortar, plaster, fireproofing material, grout, and other small-grained Portland cement products. A vehicle equipped with an appropriate pintle hitch or ball hitch can tow the machine.
Read this information carefully to learn how to operate and maintain your product properly and to avoid injury and product damage. You are responsible for operating the product properly and safely.
You may contact Toro directly at www.Toro.com for product safety and operation training materials, accessory information, help finding a dealer, or to register your product.
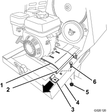
Whenever you need service, genuine Toro parts, or additional information, contact an Authorized Service Dealer or Toro Customer Service and have the model and serial numbers of your product ready. Figure 1 identifies the location of the model and serial numbers on the product. Write the numbers in the space provided.
Important: With your mobile device, you can scan the QR code on the serial number decal (if equipped) to access warranty, parts, and other product information.

This manual identifies potential hazards and has safety messages identified by the safety-alert symbol (Figure 2), which signals a hazard that may cause serious injury or death if you do not follow the recommended precautions.

This manual uses 2 words to highlight information. Important calls attention to special mechanical information and Note emphasizes general information worthy of special attention.
It is a violation of California Public Resource Code Section 4442 or 4443 to use or operate the engine on any forest-covered, brush-covered, or grass-covered land unless the engine is equipped with a spark arrester, as defined in Section 4442, maintained in effective working order or the engine is constructed, equipped, and maintained for the prevention of fire.
The enclosed engine owner's manual is supplied for information regarding the US Environmental Protection Agency (EPA) and the California Emission Control Regulation of emission systems, maintenance, and warranty. Replacements may be ordered through the engine manufacturer.
Tire Information—The DOT tire information is located on the side of each tire. This information gives load and speed ratings. Replacement tires should have the same or better ratings; refer to Specifications to ensure that the tires on your machine meet or exceed the weight requirements of your machine.
CALIFORNIA
Proposition 65 Warning
The engine exhaust from this product contains chemicals known to the State of California to cause cancer, birth defects, or other reproductive harm.
Use of this product may cause exposure to chemicals known to the State of California to cause cancer, birth defects, or other reproductive harm.
Improper use or maintenance by the operator or owner can result in injury. To reduce the potential for injury, comply with these safety instructions and always pay attention to the safety-alert symbol (Figure 2), which means: Caution, Warning, or Danger—personal safety instruction. Failure to comply with the instruction may result in personal injury or death.
This product is capable of amputating hands. Always follow all safety instructions to avoid serious injury or death.
Machining or handling stone, masonry, concrete, metal, and other materials can generate dust, mists, and fumes containing chemicals, such as silica, known to cause serious or fatal injury or illness, such as respiratory disease, silicosis, cancer, birth defects, or other reproductive harm.
Control dust, mist, and fumes at the source where possible. Use water for dust suppression whenever possible.
Use good work practices and follow the recommendations of the manufacturer or suppliers, OSHA, and other occupational and trade associations.
Always follow respiratory precautions.
When you cannot eliminate the hazards from inhalation, you and all bystanders should wear a respirator approved by OSHA for the material that you are handling.
Engine exhaust contains carbon monoxide, which is lethal if inhaled.
Do not run the engine indoors or in an enclosed area.
Park the machine on a level surface, shut off the engine, wait for all moving parts to stop, and allow the machine to cool before adjusting, cleaning, storing, or repairing the machine.
Read and understand the contents of this Operator’s Manual before you start the engine. Ensure that everyone using this product knows how to use it and understands the warnings.
Become familiar with the safe operation of the equipment, operator controls, and safety signs.
All operators and mechanics should be trained. The owner is responsible for training them.
Never let children or untrained people operate or service the equipment. Local regulations may restrict the age of the operator.
The owner/user can prevent and is responsible for accidents or injuries to people or damage to property.
Check with your local county or state towing safety regulations before towing the machine.
To reduce the possibility of an accident while transporting the machine on public roads, ensure that the towing vehicle is mechanically sound and in good operating condition.
Shut off the engine before transporting the machine.
When towing with a ball hitch, ensure that it is the proper size for the hitch coupler on the machine.
When towing with a pintle hitch, ensure that the eye of the tow pole is the correct dimension for the pintle hook.
Inspect the hitch and coupling for wear. Do not tow the machine with damaged or worn hitches, couplings, chains, or other components.
Check the air pressure of the tires on the towing vehicle and adjust the pressure as needed.
Check the tire tread and sidewall for damage and wear and replace the tire if necessary.
Properly attach the safety chains to the towing vehicle by crossing the chains and removing any extra slack.
Ensure that the directional and brake lights are working properly (if equipped).
Ensure that the directional, backup, and brake lights of the tow vehicle are working properly (if equipped).
Before towing, ensure that your machine is correctly and securely attached to the towing vehicle.
Ensure that the safety chains are properly secured to the vehicle, and leave enough slack for turning.
Do not carry any material in the machine when towing.
Avoid sudden stops and starts. This can cause skidding or jackknifing. Smooth, gradual starts and stops improves towing.
Avoid sharp turns to prevent rolling. Tow only with a vehicle that has a hitch designed for towing. Do not attach towed equipment except at the hitch point.
Do not tow the machine faster than 88 km/h (55 mph).
Use caution when backing up; use a spotter outside the vehicle to guide you.
Do not allow anyone to sit or ride on the machine.
Disconnect the machine from the tow vehicle before using it.
Place chocks underneath the tires to prevent them from rolling while the machine is parked.
Become familiar with the safe operation of the equipment, operator controls, and safety signs.
Use only accessories and attachments approved by the manufacturer.
Wear personal protective equipment and appropriate clothing including:
Hard hat
Respirator or dust mask
Face shield
Safety glasses
Hearing protection
Safety shoes
Long pants
Shirt with long sleeves that are tight at the wrists
Tight-fitting gloves without drawstrings or loose cuffs
Wear appropriate clothing, including eye protection; long pants; substantial, slip-resistant footwear; and hearing protection. Tie back long hair and do not wear loose jewelry.
Ensure that the machine is on a level surface before operating it.
Chock the tires of the machine to prevent unintended movement.
Before every use, do the following:
Inspect the coupler, ball, and hitch.
Ensure that all lights are functioning properly (if equipped).
Ensure that the tires are properly inflated.
Ensure that the lug nuts are tight and torqued properly.
Ensure that the machine is properly secured.
Use extreme care in handling fuel. It is flammable and its vapors are explosive.
Extinguish all cigarettes, cigars, pipes, and other sources of ignition.
Use only an approved fuel container.
Do not remove the fuel cap or fill the fuel tank while the engine is running or hot.
Do not add or drain fuel in an enclosed space.
Do not store the machine or fuel container where there is an open flame, spark, or pilot light, such as on a water heater or other appliance.
If you spill fuel, do not attempt to start the engine; avoid creating any source of ignition until the fuel vapors have dissipated.
Use your full attention while operating the machine. Do not engage in any activity that causes distractions; otherwise, injury or property damage may occur.
Do not run an engine in an enclosed or poorly ventilated area.
Operate the machine only in good lighting conditions.
Before starting the machine, ensure that there are no people or obstacles near or under the machine.
Shut off the engine before leaving the machine for any reason.
Never leave a running machine unattended. Always shut off the engine and verify that all moving parts have stopped.
Chock the tires of the machine or keep it attached to the towing vehicle when it is not in use.
Keep your hands away from any moving parts. Keep your feet away from the tires and the front post.
Do not operate the machine under the influence of alcohol or drugs.
Do not place your hands or any solid object into the drum when the machine is in operation.
Do not touch parts that may be hot from operation. Allow them to cool before attempting to maintain, adjust, or service the machine.
Never move the machine while the engine is running.
Keep the cowl closed and latched during operation.
Ensure that all the guards and shields are securely in place before operating the machine.
If the mixing paddles strike an object or if the machine starts making an unusual noise or vibration, shut off the engine, wait for all moving parts to stop, and empty the drum. Inspect for clogging or damage. Clean, repair, and/or replace any damaged parts.
Do not change the engine governor setting or overspeed the engine.
Do not operate the machine when there is the risk of lightning.
Before performing maintenance, do the following:
Park the machine on a level surface.
Shut off the engine and wait for all movement to stop before adjusting, cleaning, or repairing the machine.
Let the engine cool before performing maintenance or storing the machine.
Disengage all power and operation controls.
Never lubricate, service, repair, or adjust the machine with the engine running.
Keep equipment materials clear from the muffler and engine to prevent fires. Clean up oil or fuel spills.
Never allow untrained personnel to service the machine.
Keep your hands, feet, and clothing away from moving parts. If possible, do not make adjustments with the engine running.
Keep all parts in good working condition and all fasteners tightened. Replace all worn or damaged decals.
Remove any buildup of grease, oil, or debris from the machine.
Stop and inspect the machine if an object enters the drum or causes another obstruction. Make all necessary repairs before starting the machine.
Do not tamper with safety devices.
Chock the tires when storing the machine.
Keep all fasteners and hose clamps securely tightened and all equipment in good condition.
Use only genuine Toro replacement parts.
![]() |
Safety decals and instructions are easily visible to the operator and are located near any area of potential danger. Replace any decal that is damaged or missing. |





Parts needed for this procedure:
| Dump handle | 1 |
| Carriage bolt | 2 |
| Nut | 2 |
Cut the cable ties to remove the dump handle from the underside of the grate.
Install the dump handle to the side of the drum using 2 carriage bolts (installed on the inside of the drum) and nuts as shown in Figure 3.

Parts needed for this procedure:
| Tow pole kit (sold separately) | 1 |
Purchase the tow pole kit (including fasteners) that meets your needs from your Authorized Service Dealer. The machine has the following tow pole options:
| Hitch Type | Length |
|---|---|
| 50 mm (2 inch) ball—stamped | 78.7 cm (31 inches) or 127 cm (50 inches) |
| 50 mm (2 inch) ball—forged | 78.7 cm (31 inches) or 127 cm (50 inches) |
| Pintle | 78.7 cm (31 inches) or 127 cm (50 inches) |
Remove the bolt and nut from the tow pole (Figure 4).

Slide the tow pole forward and align the hole in the pole with the hole in the frame fitting (Figure 4).
Insert the bolt through the holes in the fitting and the pole (Figure 4).
Thread the nut onto the bolt and tighten them until they are tight against the frame fitting (Figure 4).
Note: If the self-locking nylon insert in the locknut wears with use, replace the nut with a new Grade 5 or Grade 8 locknut.
Parts needed for this procedure:
| Safety chain (included with the tow pole kit) | 1 |
| Connecting link (included with the tow pole kit) | 2 |
Safety chain and connecting link are included in the tow pole kit (sold separately); refer to Installing the Tow Pole.
Form a hook on the end of a bendable piece of rod or stiff wire (not included) and install the safety chain and connecting links as shown in Figure 5.

Note: Ensure that approximately equal lengths of safety chain extend from either side of the front post.
If the mixing paddles and wipers need adjustment, adjust the paddles and wipers; refer to Adjusting the Paddles.

Become familiar with all the controls before you start the engine and operate the machine.
Use the clutch lever to engage and disengage the paddles.

Use the drum latch to secure the drum to the mix position (upright) for mixing operations and when transporting the machine.

Use the dump handle to rotate the drum to the dump position and to rotate the drum to the mix position (upright).


The fuel valve (Figure 11) is located underneath the choke lever. Move the lever for the fuel valve to the ON position before attempting to start the engine. When you have finished mixing, shut off the engine and move the fuel-valve lever to the OFF position.

Use the choke lever (Figure 11) to start a cold engine. Before pulling the recoil-start handle, move the choke lever to the CLOSED position. Once the engine is running, move the choke lever to the OPEN position. Do not use the choke if the engine is already warmed up or if the air temperature is high.
The throttle lever (Figure 11) controls the speed (rpm) of the engine. It is located next to the choke lever. It sets the engine speed and therefore can increase and decrease the rotation speed of the mixing paddles. For best performance, set this control to the FAST position when mixing material.
The On/Off switch is located on the front of the engine.
Rotate it to the ON position to start and run the engine.
Rotate it to the OFF position to shut off the engine.

To start the engine, pull the recoil-start handle (Figure 10) quickly to turn the engine over. The engine controls described above must all be set correctly for the engine to start.
The oil-level switch is located inside the engine, and it does not allow the engine to run in the event the oil level is below the safe operating limit.
Note: Specifications and design are subject to change without notice.
| Model | 60213C | 60216C | 60220C |
| Batch Capacity | 0.17 m3 (6.0 ft3) | 0.17 m3 (6.0 ft3) | 0.23 m3 (8.0 ft3) |
| Total Volume | 0.20 m3 (7.1 ft3) | 0.20 m3 (7.1 ft3) | 0.25 m3 (9.0 ft3) |
| Drum Material | Steel | Steel | Steel |
| Length (without tow pole) | 150 cm (59 inches) | 150 cm (59 inches) | 168 cm (66 inches) |
| Width | 86 cm (34 inches) | 86 cm (34 inches) | 86 cm (34 inches) |
| Height | 142 cm (56 inches) | 142 cm (56 inches) | 142 cm (56 inches) |
| Weight | 272 kg (599 lb) | 282 kg (621 lb) | 288 kg (636 lb) |
| Axle | 86 to 117 cm (34 to 46 inches)extendable | 86 to 117 cm (34 to 46 inches)extendable | 86 to 117 cm (34 to 46 inches)extendable |
| Engine | Honda® GX160 | Honda® GX240 | Honda® GX240 |
| Drive | belt | belt | belt |
Carefully read all safety instructions and symbols in this manual, on the product decals, and other media supplied with the product. Knowing this information could help you or bystanders avoid injury.
Know how to quickly shut down the machine in an emergency.
Use a hard-hat, hearing protection, a shirt with long sleeves that are tight at the wrists, tight-fitting gloves without drawstrings or loose cuffs, eye protection, and a dust mask or respirator. A mesh visor alone does not provide sufficient eye protection; supplement with protective glasses.
This machine produces sound levels that can cause hearing loss through extended periods of exposure.
Wear hearing protection when operating this machine.

Before towing the machine, read all the information and perform all the applicable procedures to in this section to ensure safe and proper towing.
Towing the machine at high speed increases the risk of a hitch malfunction and tire failure. Higher speeds also increase the momentum of the machine and braking distance. If the machine detaches from the tow vehicle at high speed, it could cause damage to property, or injury or death to bystanders.
Do not exceed 88 km/h (55 mph) when towing the machine. For poor road conditions or inclement weather, reduce speed accordingly.
Towing the machine with material in the drum increases the risk of a hitch malfunction and tire failure. In addition, material could bounce out of the drum and hit other vehicles and/or people. Material in the drum increases the weight, which affects momentum and braking distance.
Do not tow the machine with material in the drum.
Review and understand the Safe Operating Practices.
Test the brakes of the tow vehicle before towing.
Avoid sudden starts and stops while towing the machine.
Before connecting the machine to your tow vehicle, ensure that your vehicle is prepared as follows:
Ensure that your tow vehicle has towing capacity for the weight of the machine; refer to Specifications.
Use a Class 2 or larger receiver.
Ensure that your tow vehicle has the appropriate hitch to tow the machine; options include a 50 mm (2 inch) ball hitch or a pintle hitch.
If the machine is equipped with a trailer-light kit, ensure that the electrical connector of the tow vehicle is compatible with the electrical connector of the machine. The machine uses a standard 4-pin, flat plug. If your tow vehicle has a different type of plug, obtain an adapter from an automotive parts store.
Shut off the engine and fuel valve.
Empty the drum.
Position the drum in the mix position (upright) and lock it.
Close the engine cowl and secure the cowl latches (Figure 14).

If you have adjusted the axle to the narrow position (if equipped on your model), extend the axle; refer to Adjusting the Axle Width.
Inspect the tires; refer to Inspecting the Tires.
Your machine is equipped with 1 of the following hitch types; hitch it as described in the appropriate procedure:
Stamped-ball coupler—Hitching a Stamped-Ball Coupler
Forged-ball coupler—Hitching a Forged-Ball Coupler
Pintle-hitch coupler—Hitching a Pintle-Hitch Coupler
Apply chassis grease to the socket of the coupler and the area of the clamp that contacts the ball.
Oil the pivot points and sliding surfaces of the coupler with SAE 30 motor oil.
Hitch the machine as shown in Figure 15.

Apply removable thread-locking compound to the threads of the coupler bolt to prevent the coupler handle from coming loose.
Important: Apply thread-locking compound as needed in the future.
Apply chassis grease to the socket of the coupler and the area of the clamp that contacts the ball.
Hitch the machine as shown in Figure 16.

Note: Use a wrench to keep the bolt from spinning.

Pull the safety chain through the slots in the keyholes, so that the lengths on each side are equal.
Cross both lengths of chain under the tow pole.
Note: Crossing the chains decreases the chances of the front of the machine dropping to the ground if the hitch does not hold the connection.

Connect each length of chain to the safety chain mounting point on the tow vehicle with the connecting links (Figure 19).
Important: Ensure that the chain has enough slack for turning around corners when towing the machine.
Note: Stow the excess chain inside the bottom of the front post by pushing it into the keyholes and latching the appropriate links into the keyhole slots.

Connect the electrical plug of the machine with the electrical plug of the tow vehicle (Figure 22).

Note: The machine uses a standard 4-pin, flat plug. If your tow vehicle has a different type of plug, obtain an adapter from an automotive parts store.
Ensure that the tow vehicle is in the NEUTRAL position, engage the parking brake, and start the engine.
Test the lights as follows:
Turn on the headlights of the tow vehicle.
The tail lights of the machine should illuminate.
Press the brake pedal of the tow vehicle.
The brake lights of the machine should illuminate.
Operate each turn signal of the tow vehicle in turn.
The corresponding turn-signal lights of the machine should illuminate.
If your model is equipped with an adjustable axle (Figure 22), you can adjust the axle to the narrow position to move the machine through a narrow access point, such as the gate of a fence or the doorway of a building.
The machine is not stable when towed with the axle in the narrow position.
Tow the machine with the axle in the wide position.
Important: The machine is less stable with the axle in the narrow position. Only adjust it to the narrow position when necessary to move past an obstruction, then return it to the wide position before towing or operating the machine.
Park the machine on a level surface and disconnect the machine from the tow vehicle.
Secure the machine from movement.
Empty the drum, move it to the upright position, and lock the drum.
Align a jack with an adequate lift height and weight capacity under the axle; refer to Specifications.
Lift the machine until the tires are off the ground.
Use a jack stand at each support point on the rear frame extension (Figure 21).
Mechanical or hydraulic jacks may fail to support the machine and cause serious injury.
Use jack stands when supporting the machine.

Remove the bolts and nuts that secure the inner axle to the outer axle (Figure 22).

Align the inner axle to the desired position as follows:
Secure the axle with the bolts and nuts removed previously (Figure 22) and torque them to 87 N∙m (64 ft-lb).
Park the machine on a level surface and disconnect the machine from the tow vehicle.
Ensure that all guards and paddles are in place and in good condition.
Perform all daily maintenance procedures prescribed in .
Chock the front and back of the tires to prevent the machine from moving.
Move the drum to the upright position and lock it.


In certain conditions, fuel is extremely flammable and highly explosive. A fire or explosion from fuel can burn you and others and can damage property.
Fill the fuel tanks outdoors, in an open area, when the engine is cold. Wipe up any fuel that spills.
Never fill the fuel tanks inside an enclosed trailer.
Never smoke when handling fuel and stay away from an open flame or where fuel fumes may be ignited by a spark.
Store fuel in an approved container and keep it out of the reach of children. Never buy more than a 30-day supply of fuel.
Do not operate without entire exhaust system in place and in proper working condition.
In certain conditions during fueling, static electricity can be released, causing a spark that can ignite the fuel vapors. A fire or explosion from fuel can burn you and others and can damage property.
Always place fuel containers on the ground away from your vehicle before filling.
Do not fill fuel containers inside a vehicle or on a truck or trailer bed, because interior carpets or plastic truck bed liners may insulate the container and slow the loss of any static charge.
When practical, remove equipment from the truck or trailer and refuel the equipment with its wheels on the ground.
If this is not possible, then refuel such equipment on a truck or trailer from a portable container rather than from a fuel-dispenser nozzle.
If you must use a fuel-dispenser nozzle, keep the nozzle in contact with the rim of the fuel tank or container opening at all times until fueling is complete.
Fuel is harmful or fatal if swallowed. Long-term exposure to vapors can cause serious injury and illness.
Avoid prolonged breathing of vapors.
Keep your face away from the nozzle and fuel tank opening.
Keep fuel away from your eyes and skin.
For best results, use only clean, fresh (less than 30 days old), unleaded gasoline with an octane rating of 87 or higher ((R+M)/2 rating method).
Ethanol: Gasoline with up to 10% ethanol (gasohol) or 15% MTBE (methyl tertiary butyl ether) by volume is acceptable. Ethanol and MTBE are not the same. Gasoline with 15% ethanol (E15) by volume is not approved for use. Never use gasoline that contains more than 10% ethanol by volume, such as E15 (contains 15% ethanol), E20 (contains 20% ethanol), or E85 (contains up to 85% ethanol). Using unapproved gasoline may cause performance problems and/or engine damage which may not be covered under warranty.
Do not use gasoline containing methanol.
Do not store fuel either in the fuel tank or in fuel containers over the winter unless you use a fuel stabilizer.
Do not add oil to gasoline.
Important: To reduce starting problems, add fuel stabilizer to the fuel all season, mixing it with fuel less than 30 days old; run the machine dry before storing it for more than 30 days.Do not use fuel additives other than a fuel stabilizer/conditioner. Do not use fuel stabilizers with an alcohol base such as ethanol, methanol, or isopropanol.
| Model | Fuel Tank Capacity |
|---|---|
| 60213 and 60213C | 3.1 L (0.82 US gallons) |
| 60216, 60216C, 60220, and 60220C | 5.3 L (1.40 US gallons) |
Park the machine on a level surface, shut off the engine, and allow the engine to cool.
Clean around the fuel cap and remove it (Figure 25).

Add fuel to the fuel tank until the level is at the maximum fuel level (Figure 26).
Important: This space in the tank allows fuel to expand. Do not fill the fuel tank completely full.

Install the fuel cap securely (Figure 25).
Wipe up any spilled fuel.
Before starting the machine each day, perform the Each Use/Daily procedures listed in .
Ensure that the clutch lever is in the OFF position.
Move the fuel valve to the OPEN position, all the way to the right (Figure 27).

Move the choke lever to the ON position (Figure 27).
Note: A warm or hot engine may not require choking.
Move the throttle lever 1/3 of the way toward the MAX position.
Move the engine switch to the ON position (Figure 28).

Pull the starter handle lightly until you feel resistance, then pull the handle briskly (Figure 29). Return the starter handle gently.

After the engine starts, gradually move the choke lever back to the OFF position. If the engine stalls or hesitates, move the choke back to the ON position again until the engine warms up. Then move it to the OFF position.
Move the throttle lever to the MIN position (Figure 10).
Note: If the engine has been working hard or is hot, let it idle for a minute before shutting off the engine. This helps to cool the engine before stopping. In an emergency, shut off the engine immediately.
Move the engine switch to the OFF position.
Move the fuel valve to the CLOSED position, all the way to the left.
Eye and skin contact with concrete materials and breathing the dust involved is hazardous to your health.
Ensure that there is adequate air ventilation.
Wear a dust mask to prevent inhalation of dust while using the machine; refer to Safe Operating Practices.
Avoid direct contact of cement and concrete materials with skin and eyes.
This machine is capable of amputating hands.
Stay in the operator’s position while the machine is running.
Keep all bystanders a safe distance away from the machine.
Stop the machine immediately if any people or animals enter the work area.
Never place any part of your body into a position that causes an unsafe operating condition.
Important: Do not add more material than the batch capacity of the machine; refer to Specifications.
Note: Follow the manufacturer’s instructions that are printed on the packaging of the product you are using.
Ensure that there is no old, loose material in the drum that can contaminate the batch of material; refer to Cleaning the Drum and Dumping the Material, then return the drum to the upright position.
Note: Ensure that the drum is in the mix position (upright) and the drum latch is engaged.
Move the clutch lever to the OFF position (Figure 30).
Start the engine.
Note: Allow the engine to warm up at 2/3 throttle for 1 to 2 minutes.
Set the throttle lever on the engine to the MAX position.
Move the clutch lever to the ON position (Figure 30).

Add the ingredients for the batch as follows:
Pour water into the drum through the grate.
Add the plaster, cement, or other binding material.
Note: You can open bags of cement, plaster, and binding materials by lowering the bag onto the bag splitter (Figure 31).

If you are using sand and/or other reinforcing materials, add them into the drum.
Allow the paddles to mix the material until the ingredients have a uniform appearance.
Note: If needed, add water or plaster, cement, or other binding material until the consistency of the batch is correct.
Contact with the mixing paddles could cause damage or injury.
Never put your hands inside the drum while the engine is running.
Note: When dumping a batch of material, leave the engine/motor running and the clutch in the ON position so that the rotating paddles help discharge the material.
Align a wheelbarrow or similar container of adequate capacity in the path of the drum opening.
Grasp the dump handle with your left hand (Figure 32).

Lift the handle of the drum latch (Figure 32).
With both hands on the dump handle, rotate it counterclockwise to discharge the contents of the drum (Figure 32).
Note: Allow the machine to completely discharge the contents of the drum.
Rotate the dump handle clockwise until the drum latch locks the drum in the upright position (Figure 32).
After dumping a batch of material, clean the drum to prevent dried material from contaminating the next batch of material; refer to Cleaning the Drum.
| Maintenance Service Interval | Maintenance Procedure |
|---|---|
| After each use |
|
Important: Do not strike on the drum with a shovel, hammer, or any other device to loosen any accumulated dried materials.
Move the clutch lever to the OFF position to stop the paddles.
Shut off the engine/motor.
Ensure that the drum is in the mix position (upright).
Spray the machine with water to remove any accumulated material.
Start the engine/motor.
Move the clutch lever to the ON position to start the paddles.
Dump the drum.
Failure to properly maintain the machine could result in premature failure of machine systems causing possible harm to you or bystanders.
Keep the machine well maintained and in good working order as indicated in these instructions.
Important: Refer to your engine operator's manual for additional maintenance procedures.
| Maintenance Service Interval | Maintenance Procedure |
|---|---|
| After the first 20 hours |
|
| After the first 25 hours |
|
| Before each use or daily |
|
| After each use |
|
| Every 40 hours |
|
| Every 50 hours |
|
| Every 100 hours |
|
| Every 300 hours |
|
| Monthly |
|
| Yearly or before storage |
|
| Every 2 years |
|
Shut off the engine and allow it to cool completely.
Park the machine on a level surface.
Remove the machine from the tow vehicle.
Secure the machine from movement.
Disconnect the spark-plug wire.
Pull the spark-plug wire off the terminal of the spark plug (Figure 33).

If your model has a divider plate, you may need to remove it before performing some maintenance procedures:
Open the cowl.
Use a wrench to remove the 4 bolts that secure the divider plate to the front cowl.
Note: Retain the fasteners for installing the divider plate.

To remove the divider plate, lift it upward and tilt it back so that it clears various components.
When finished performing maintenance, install the divider plate as follows:
Guide the divider plate into position against the front cowl.
Note: Start with the divider plate rotated slightly counterclockwise, and then rotate it clockwise while lowering it into position. Ensure that the divider plate is not backward.

Align the bolt holes in the divider plate and the front cowl.
Install each of the 4 bolts, and hand-tighten them to prevent cross-threading.
Tighten the bolts with a wrench until they are secure.
| Maintenance Service Interval | Maintenance Procedure |
|---|---|
| After each use |
|
| Monthly |
|
Note: The pillow-block bearings are inside the cowl—remove the divider plate if equipped) to access them; refer to Removing the Divider Plate.
Grease Type: No. 2 lithium grease.
Complete the procedures listed in Preparing the Machine for Maintenance.
Clean the area around each grease fitting with a rag and lift the plastic cap off the grease fitting (Figure 36).


Pump grease into each fitting as follows:
For the pillow-block bearings, pump 1 shot of grease into each fitting (Figure 36).
For the trunnions, pump several shots of grease into each fitting until it starts to ooze out of the bearing housing (Figure 36).
Important: Pump grease in slowly and carefully to prevent damage to the bearing seals.
Wipe up any excess grease.
| Maintenance Service Interval | Maintenance Procedure |
|---|---|
| Before each use or daily |
|
| Every 50 hours |
|
| Every 300 hours |
|
Important: Do not operate the engine without the air-filter assembly; extreme engine damage will occur.
Shut off the engine and wait for all moving parts to stop.
Disconnect the wire from the spark plug; refer to Disconnecting the Spark-Plug Wire.
Remove the nut that secures the cover (Figure 37).

Remove the cover.
Note: Be careful to prevent dirt and debris from falling into the base.
Remove the foam and paper elements from the base (Figure 37).
Remove the foam element from the paper element (Figure 37).
Inspect the foam and paper elements and replace them if they are damaged or excessively dirty.
Note: Never try to brush dirt off the paper element; brushing forces the dirt into the fibers.
Clean the foam element in warm, soapy water or in a nonflammable solvent.
Note: Do not use fuel to clean the foam element because it could create a risk of fire or explosion.
Rinse and dry the foam element thoroughly.
Dip the foam element in clean engine oil, then squeeze out the excess oil.
Note: Excess oil in the foam element restricts the air flow through the element and may reach the paper filter and clog it.
Wipe dirt from the base and the cover with a moist rag.
Note: Be careful to prevent dirt and debris from entering the air duct leading to the carburetor.
Install the air-cleaner elements and ensure that they are properly positioned.
Securely install the cover with the nut.
Toro Premium Engine Oil is available from your Authorized Toro Dealer.
Important: Use 4-cycle engine oil that meets or exceeds the requirements for API service category SJ, SL, SM, or higher.
| Model(s) | Crankcase Capacity |
|---|---|
| 60213 and 60213C | 0.58 L (19.6 oz) |
| 60216, 60216C, 60220, and 60220C | 1.1 L (1.2 US qt) |
Important: If the oil level in the crankcase is too low or too high and you run the engine, you may damage the engine. This type of damage is not covered by the warranty.
Note: Use SAE 10W-30 for general use. You can use the other viscosities shown in the chart when the average temperature in your area is within the indicated range (Figure 38).

| Maintenance Service Interval | Maintenance Procedure |
|---|---|
| Before each use or daily |
|
Park the machine on a level surface and shut off the engine.
Allow the engine to cool.
Disconnect the wire from the spark plug; refer to Disconnecting the Spark-Plug Wire.
Clean around the dipstick.
Check the oil level as shown in Figure 39.

| Maintenance Service Interval | Maintenance Procedure |
|---|---|
| After the first 25 hours |
|
| Every 100 hours |
|
Oil may be hot after the engine has been run, and contact with hot oil can cause severe personal injury.
Avoid contacting the hot engine oil when you drain it.
Shut off the engine and wait for all moving parts to stop.
Disconnect the wire from the spark plug; refer to Disconnecting the Spark-Plug Wire.
Place a drain pan under the oil-drain hole of the engine (Figure 40).

Remove the drain plug and catch the oil in the oil-drain pan (Figure 40).
When the oil has drained completely, install the drain plug with a new washer (Figure 40).
Note: Dispose of the used oil at a certified recycling center.
Remove the dipstick (Figure 41) and slowly pour oil into the fill hole until the oil reaches the upper-limit mark (bottom edge of the oil-fill hole) on the dipstick.

Replace and secure the dipstick.
Wipe up any spilled oil.
| Maintenance Service Interval | Maintenance Procedure |
|---|---|
| Every 100 hours |
|
| Every 300 hours |
|
Type: NGK BPR6ES or equivalent
Gap: 0.7 to 0.8 mm (0.028 to 0.031 inch)
Note: Use a 21 mm (13/16 inch) spark-plug wrench for removing and installing the spark plug.
Park the machine on a level surface and shut off the engine.
Ensure that the machine surfaces are cool.
Pull the spark-plug wire off the terminal of the spark plug (Figure 42).

Clean around the spark plug.
Rotate the spark plug counterclockwise using a 21 mm (13/16 inch) spark-plug wrench to remove the plug and the sealing washer (Figure 43).

Important: Do not clean the spark plug. Always replace the spark plug when it has a black coating, worn electrodes, an oily film, or cracks.
Note: If you see light brown or gray on the insulator, the engine is operating properly. A black coating on the insulator usually means that the air cleaner is dirty.
Set the gap to 0.7 to 0.8 mm (0.028 to 0.031 inch).

Important: Ensure that the gap between the side and center electrodes is correct before installing the spark plug.
Thread the spark plug clockwise into the spark-plug hole by hand.
Note: Avoid cross-threading the spark plug with the threads of the spark-plug hole.
Rotate the spark plug clockwise using a 21 mm (13/16 inch) spark-plug wrench until the plug and sealing washer are seated (Figure 43).
Tighten the spark plug as follows:
When installing an in-service spark plug, tighten the plug an additional 1/8 to 1/4 turn.
When installing a new spark plug, tighten the plug an additional 1/2 turn.
Important: A loose spark plug may cause the cylinder to overheat. An over-tight spark plug may damage the threads in the cylinder head.
Push the spark-plug wire onto the terminal of the spark plug (Figure 42).
| Maintenance Service Interval | Maintenance Procedure |
|---|---|
| Every 100 hours |
|
Note: A spark arrester is available as an option. If you require a spark arrester, contact your Authorized Service Dealer. Genuine Toro spark arresters are approved by the USDA Forestry Service.
If the engine has been running, the muffler will be hot. Contact with hot surfaces may cause personal injury.
Keep your hands, feet, face, clothing and other body parts away from the muffler and other hot surfaces until they have cooled.
Park the machine on a level surface and shut off the engine.
Allow the engine to cool.
Disconnect the wire from the spark plug; refer to Disconnecting the Spark-Plug Wire.
Remove the divider plate (if equipped); refer to Removing the Divider Plate.
Remove the 2 nuts (8 mm) and remove the muffler from the cylinder (Figure 45).

Remove the 3 screws (4 mm) from the exhaust deflector, and remove the deflector (Figure 45).
Remove the screws (5 mm and 6 mm) from the muffler protector, and remove the muffler protector (Figure 45).
Remove the screws (4 mm) from the spark arrester, and remove the spark arrester from the muffler (Figure 45).
Use a brush to carefully remove carbon deposits from the spark-arrester screen (Figure 46).
Note: Replace the spark arrester if it has breaks or holes.

Install the spark arrester, muffler protector, exhaust deflector, and muffler in the reverse order of disassembly.
Install the divider plate (if equipped); refer to Installing the Divider Plate.
The spring is under tension when installed and can cause personal injury.
Be careful when removing the spring.
Park the machine on a level surface and shut off the engine.
Allow the engine to cool.
Disconnect the wire from the spark plug; refer to Disconnecting the Spark-Plug Wire.
Remove the divider plate; refer to Removing the Divider Plate.
Remove the belt guide; refer to Removing the Belts.
Remove the belts; refer to Removing the Belts.
Using a spring-removal tool (Toro Part No. 92-5771), remove the spring from the anchor bracket on the engine deck (Figure 47).
Note: Leave the other end of the spring attached to the frame of the machine.

Remove the bolt and nut that secure the rear bracket for the engine deck hinge to the frame of the machine (Figure 48).

Lift up the rear edge of the engine deck and remove the hinge bracket (Figure 48).
Slide the engine deck rearward and out from the forward hinge bracket (Figure 49).
Note: Do not remove the forward hinge bracket.

Remove the engine and engine deck from the machine (Figure 49).
Align the engine and engine deck to the rear frame of the machine.
Note: The drive pulley on the engine must align forward.
Align the pivot on the engine deck with the forward hinge bracket (Figure 49).
Slide the engine deck forward and the pivot into the forward hinge bracket (Figure 49).
Align the rear hinge bracket with the pivot on the engine-deck hinge (Figure 49).
Lift up on the rear edge of the engine deck and slip the hinge bracket onto the pivot.
Secure the rear bracket to the frame of the machine using the bolt and nut (Figure 48) removed in step 8 of Removing the Engine.
Using a spring-removal tool (Toro Part No. 92-5771), install the tension spring to the anchor bracket on the engine deck (Figure 47).
Install the belts and belt guide; refer to Installing the Belts.
Adjust the belt guide; refer to Adjusting the Belt Guide.
Install the divider plate; refer to Installing the Divider Plate.
| Maintenance Service Interval | Maintenance Procedure |
|---|---|
| Every 100 hours |
|
| Yearly or before storage |
|
Underneath the fuel valve is a sediment cup to catch dirt in the fuel.
Park the machine on a level surface and shut off the engine.
Allow the engine to cool.
Disconnect the wire from the spark plug; refer to Disconnecting the Spark-Plug Wire.
Move the lever of the fuel valve to the OFF position, all the way to the left (Figure 50).
Unscrew the fuel-sediment cup (Figure 50).
Remove and retain the fuel filter and O-ring (Figure 50).
Note: Do not clean the O-ring in solvent.

Clean the fuel filter and sediment cup using a nonflammable solvent, and dry it carefully.
Wipe the O-ring with a clean, dry cloth.
Install the fuel filter in the bottom of the carburetor (Figure 50).
Align the O-ring in to the groove in the sediment cup and install the sediment cup to the fuel-valve housing.
Move the lever of the fuel valve to the ON position (all the way to the right) and check for leaks. If it leaks, replace the O-ring.
Remove the engine; refer to Removing the Engine.
Remove the fuel cap by rotating it counterclockwise (Figure 51).

Align a drain pan to the hinge of the engine deck.
Rotate the engine on the hinge side of the engine deck and drain the fuel from the tank (Figure 52).

Carefully lower the engine and engine deck.
Install the fuel cap.
Install the engine; refer to Installing the Engine.
Note: The left rear-facing bulb also illuminates license plate.
Use a screwdriver to remove the 4 screws from the large square lens on the light (Figure 53).

Remove the lens (Figure 53).
Push and twist the bulb counterclockwise to remove it from the socket (Figure 53).
Push a new 1157 bulb into the socket and then twist it clockwise (Figure 53).
Install the lens and the 4 screws (Figure 53).
Using a screwdriver, remove the 2 screws from the small rectangular, amber lens on the front of the light (Figure 55).

Remove the amber lens (Figure 55).
Pull the bulb out of the socket (Figure 55).
Insert a new 193 bulb into the socket (Figure 55).
Install the amber lens and the 2 screws (Figure 55).
The following table shows the appropriate air pressure for the tires as installed at the factory.
Important: Always check the information on the actual tires for the correct air pressure requirement.
| Model | Maximum Air Pressure |
|---|---|
| 60212, 60213, and 60216 | 414 kPa (60 psi) |
| 60218, 60219, and 60220 | 241 kPa (35 psi) |
| Maintenance Service Interval | Maintenance Procedure |
|---|---|
| Before each use or daily |
|
Failure to maintain correct tire pressure may result in tire failure and loss of control, resulting in property damage and serious injury or death.
Check the tire pressure frequently to ensure proper inflation. If the tires are not inflated to the correct pressure, they will wear prematurely.
Inspect the tire condition before towing and after any operating accident.
The DOT tire information is located on the side of each tire. This information gives load and speed ratings. Replacement tires should have the same or better ratings
Note: Ensure that any tires installed on your machine meet or exceed the weight requirements of your machine as listed in Specifications.
Visually inspect the tires for damage and wear (Figure 56 and Figure 57).


Ensure that the tires are inflated to the correct air pressure; refer to Tire Air Pressure.
Important: The most common cause of tire trouble is under-inflation. Maintain full air pressure.
| Maintenance Service Interval | Maintenance Procedure |
|---|---|
| After each use |
|
Torque the wheel lug nuts initially and after towing.
Torque the wheel lug nuts 108 to 122 N∙m (80 to 90 ft-lb), in the sequence shown in Figure 58.

Important: If the oil level in the reduction case is too low or too high and you run the engine, you may damage the engine or the reduction case. This type of damage is not covered by the warranty.
Oil type: 4-cycle, SAE 10W-30 motor oil
Oil API service category: SJ, SL, SM, or higher
Reduction-case capacity: 1.2 L (40 fl oz)
| Maintenance Service Interval | Maintenance Procedure |
|---|---|
| Before each use or daily |
|
Park the machine on a level surface and shut off the engine.
Allow the engine to cool.
Disconnect the wire from the spark plug; refer to Disconnecting the Spark-Plug Wire.
Remove the divider plate; refer to Removing the Divider Plate.
Locate the reduction case between the engine and the engine pulley (Figure 59).

Align a rag below the oil-level port in the side of the reduction case.
Remove the oil-level-check bolt and washer from the oil-level port (Figure 59).
If the oil level is below the threads in the oil-level port, add oil as follows:
Remove the filler bolt and washer from the filler port on the top of the reduction case (Figure 59).
Slowly pour the specified oil into the fill port until the oil level is level with the threads at the bottom of the oil-level port.
Install the filler bolt and the washer to the filler port of the reduction case, and tighten the filler bolt (Figure 59).
If the oil level is too high, allow the oil to flow out until it is flush with the threads at the bottom of the oil-level port.
When the oil is level is flush with the threads at the bottom of the oil-level port, install the oil-level-check bolt and washer to the port, and tighten the bolt (Figure 59).
Install the divider plate; refer to Disconnecting the Spark-Plug Wire.
| Maintenance Service Interval | Maintenance Procedure |
|---|---|
| After the first 20 hours |
|
| Every 100 hours |
|
Park the machine on a level surface and shut off the engine.
Allow the engine to cool.
Disconnect the wire from the spark plug; refer to Disconnecting the Spark-Plug Wire.
Remove the engine; refer to Removing the Engine.
Drain the fuel tank; refer to Draining the Fuel Tank.
Remove the filler bolt and washer from the filler port on the top of the reduction case (Figure 60).

Remove the oil-level-check bolt and washer from the oil-level port in the side of the reduction case (Figure 60).
Align a drain pan to the hinge of the engine deck (Figure 61).

Rotate the engine on the hinge side of the engine deck, and drain the oil from the reduction case (Figure 61).
Carefully lower the engine and engine deck.
Slowly pour the specified oil into the fill port until the oil level is level with the threads at the bottom of the oil-level port (Figure 59).
Install the oil-level-check bolt and washer to the oil-level port of the reduction case, and tighten the bolt (Figure 60).
Install the filler bolt and washer to the filler port of the reduction case and tighten the filler bolt (Figure 60).
Install the engine; refer to Installing the Engine.
| Maintenance Service Interval | Maintenance Procedure |
|---|---|
| After the first 25 hours |
|
| Every 40 hours |
|
Park the machine on a level surface and shut off the engine.
Allow the machine to cool.
Disconnect the wire from the spark plug; refer to Disconnecting the Spark-Plug Wire.
Remove the divider plate; refer to Removing the Divider Plate.
Move the clutch lever to the OFF position.
Examine the belts for wear or damage. If the belts are worn or damaged, replace them; refer to Replacing the Belts.
Examine the pulleys for wear, damage, and misalignment; refer to Aligning the Pulleys.
Install the divider plate; refer to Installing the Divider Plate.
Clutch air gap: 2.5 to 6.5 mm (3/32 to 1/4 inch)
Park the machine on a level surface and shut off the engine.
Allow the machine to cool.
Disconnect the wire from the spark plug; refer to Disconnecting the Spark-Plug Wire.
Move the clutch lever to the ON position.
Measure the air gap between the engine deck and the roller on the clutch (Figure 62).

If the measured air gap is not within the specified range, adjust the gap as follows:
Move the clutch lever to the OFF position.
Loosen the nuts and bolts that secure the engine to the engine deck (Figure 63).

Move the engine position as follows:
Align a straightedge across the engine pulley and the idler pulley (Figure 64).

If necessary, pivot the engine on the engine deck until the engine pulley and idler pulley are aligned to the straightedge (Figure 64).
Tighten the nuts and bolts that secure the engine to the engine deck to a torque of 18 N∙m (13 ft-lb).
Check the air gap between the engine deck and the roller on the clutch. If the air gap is not within the specified range, repeat step 6 until the air gap measurement is within the specified range.
Install the divider plate; refer to Installing the Divider Plate.
Important: Ensure that the paddles do not rotate when the clutch lever is in the OFF position.
| Maintenance Service Interval | Maintenance Procedure |
|---|---|
| Every 2 years |
|
Park the machine on a level surface and shut off the engine.
Allow the machine to cool.
Disconnect the wire from the spark plug; refer to Disconnecting the Spark-Plug Wire.
Move the clutch lever to the OFF position.
Remove the divider plate; refer to Removing the Divider Plate.
Remove the bolt that secures the belt guide to the engine, and remove the belt guide (Figure 65).

Slip the forward belt forward and off the idler pulley (Figure 66).

Slip the rear belt rearward and off the idler pulley (Figure 66).
Slip the belts off the engine pulley.
Remove the belts from the machine.
Park the machine on a level surface and shut off the engine.
Allow the machine to cool.
Disconnect the wire from the spark plug; refer to Disconnecting the Spark-Plug Wire.
Ensure that the clutch lever is in the OFF position.
Align the rear belt to the rear groove in the engine pulley.
Note: Do not align the rear belt to the idler pulley.
Align the forward belt to the forward groove of the idler pulley.
Slip the rear belt over the idler pulley and align the belt to the rear pulley groove.
Slip the forward belt over the engine pulley and align the belt to the forward pulley groove.
Check the belt tension; refer to step 4 through 6 in Adjusting the Belt Tension.
Loosely secure the belt guide to the engine (Figure 65) with the bolt that was removed in step 6 of Removing the Belts.
Adjust the belt guide; refer to Adjusting the Belt Guide.
Install the divider plate; refer to Installing the Divider Plate.
Note: To access the belt guide, remove the divider plate; refer to Removing the Divider Plate.
Guide air gap: 2.5 to 4.0 mm (3/32 to 5/32 inch)
Park the machine on a level surface and shut off the engine.
Allow the machine to cool.
Disconnect the wire from the spark plug; refer to Disconnecting the Spark-Plug Wire.
Ensure that the clutch lever is in the ON position.
Ensure that the belt tension is correct; refer to Adjusting the Belt Tension.
Check that the air gap between the belt guide and the belts is 2.5 to 4.0 mm (3/32 to 5/32 inch); refer to Figure 67.

If the air gap is not within the specified range, do the following:
Loosen the bolt that secures the belt guide to the engine (Figure 67).
Important: Ensure that the belt guide is toward the engine pulley.
Rotate the belt guide up or down until there is an air gap of 2.5 to 4.0 mm (3/32 to 5/32 inch) between the guide and each belt (Figure 67).
Important: The belt guide should not contact the belts with the clutch lever in the ON position.
Note: If the air gap between the belt guide and both belts cannot be attained, then 1 of the belts is too long.
Tighten the bolt that secures the belt guide to the engine (Figure 67).
Check the clutch operation; refer to Checking the Clutch Operation.
Install the divider plate; refer to Installing the Divider Plate.
| Maintenance Service Interval | Maintenance Procedure |
|---|---|
| Every 40 hours |
|
Important: The paddles must not rotate in an empty drum when the clutch lever is in the OFF position.
Move the clutch lever to the OFF position.
Start the engine.
If the paddles rotate with the clutch lever to the OFF position do the following:
Shut off the engine.
Check the air gap between the belt guide and the belts.
Note: If the air gap is larger than 4.0 mm (5/32 inch), decrease the gap between the belt guide and the belts; refer to Adjusting the Belt Guide.
Repeat steps 1 through 3 until all the following conditions are met:
The engine is run at 2/3 throttle.
The clutch lever is in the OFF position.
The paddles do not rotate in an empty drum while the engine is running.
Park the machine on a level surface and shut off the engine.
Allow the machine to cool.
Disconnect the wire from the spark plug; refer to Disconnecting the Spark-Plug Wire.
Remove the divider plate; refer to Removing the Divider Plate.
Place a straightedge across the face of the engine pulley and idler pulley (Figure 68).

Note: Both pulleys must be aligned flush with the straightedge.
If the pulleys are not aligned do the following:
Move the clutch lever to the OFF position.
Loosen the locknuts and setscrews that secure the idler pulley to the idler shaft (Figure 68).
Using a soft-face mallet, tap the idler pulley forward or backward along the idler shaft until the engine pulley and idler pulley are aligned to the straight edge (Figure 68).
Tighten the set screws and locknuts that secure the idler pulley to the idler shaft (Figure 68).
Install the divider plate; refer to Installing the Divider Plate.
Important: Complete the Preparing the Machine for Maintenance before adjusting any of the paddles.
Note: Over time, you may need to adjust the mixer paddles to account for wear.
Rotate a paddle from the left row of paddles around the drum and locate at the interior of the drum the smallest distance between the drum and the wiper of the paddle (Figure 69).
Mark the inside of the inside of the drum at the location that you determined in step 1.

Align the wiper of a paddle to the mark.
Loosen the carriage bolts and flanged locknuts that secure the paddle blade and wiper to the paddle (Figure 70).

Adjust the position of the wiper so that the wiper lightly contacts the drum across the length of the wiper (Figure 71).

Adjust the position of the paddle blade so that the outer edge is 3 to 6 mm (1/8 to 1/4 inch) from the outer edge of the wiper.
Torque the carriage bolts and nuts to 19 to 25 N-m (14 to 18 ft-lb).
Repeat steps 4 through 7 for the other paddle for that paddle row.
Repeat the procedure for the other paddle rows.
Rotate the wiper and fixed paddle around the end plate of the drum and locate smallest distance between the drum and the wiper of the paddle.
Mark the inside of the end plate at the location that you determined in step 1.

Align the wiper of a paddle to the mark.
Loosen the carriage bolts and flanged locknuts that secure the paddle blade and wiper to the fixed paddle. (Figure 72)
Adjust the position of the wiper so that the wiper lightly contacts the end plate across the length of the wiper.
Adjust the position of the paddle blade so that the outer edge of the bar is 3 to 6 mm (1/8 to 1/4 inch) from the outer edge of the wiper.
Torque the carriage bolts and nuts to 19 to 25 N-m (14 to 18 ft-lb).
Repeat the procedure for the wiper at the end plate on the other end of the drum.
Align the adjustable-end paddle to the mark that you made in step 2 of Aligning the End-Paddle Wipers.
Loosen the carriage bolts and flanged locknuts that secure the adjustable end paddle to the fixed paddle. (Figure 73)

Adjust the position of the adjustable-end paddle so that it is as close to the end plate as possible, across the length of the paddle, without touching end plate when the paddles are rotated.
Torque the carriage bolts and nuts to 37 to 45 N∙m (27 to 33 ft-lb).
Repeat the procedure for the adjustable end paddle at the end plate on the other end of the drum.
Regular cleaning and washing with mild detergent and water increases the life span of the machine. Clean the machine after each use before the dirt hardens.
Remove dirt and grime from the external parts of the entire machine, especially the engine. Clean dirt and concrete materials from the outside of the engine.
Ensure that the fuel cap and the oil-fill cap/dipstick are secure to avoid getting water in the engine.
Use care when using a high-pressure sprayer because it can damage the safety decals, instruction signs, and the engine.
Important: Lubricate the bearings and seals after cleaning; refer to Lubricating the Bearings and Seals.
For storage over 30 days, prepare the machine as follows:
Remove dirt and grime from the external parts of the entire machine, especially the engine. Clean dirt and debris from the outside of the engine cylinder-head fins and blower housing.
Important: You can wash the machine with mild detergent and water.
Condition the fuel system as follows:
Add a petroleum-based stabilizer/conditioner to fuel in the tank. Follow the mixing instructions from the stabilizer manufacturer. Do not use an alcohol-based stabilizer (ethanol or methanol).
Important: Do not store stabilizer/conditioned fuel over 90 days.
Note: Fuel stabilizer/conditioner is most effective when mixed with fresh fuel and used at all times.
Run the engine for 5 minutes to distribute the conditioned fuel through the fuel system.
Shut off the engine, allow it to cool, and drain the fuel tank using a pump-type siphon. Dispose of fuel properly; recycle it according to local codes.
Start the engine and run it until it stops.
Choke the engine.
Start and run the engine until it does not start again.
Clean the sediment cup; refer to Cleaning the Fuel-Sediment Cup.
Service the air cleaner; refer to Servicing the Air Cleaner.
Change the engine oil; refer to Changing the Engine Oil.
Remove the spark plug and check the condition; refer to Servicing the Spark Plug.
Condition the engine as follows:
Pour 2 tablespoons of engine oil into the spark-plug hole; refer to Removing the Spark Plug.
Pull the recoil-start handle slowly to crank the engine and distribute the oil inside the cylinder.
Install the spark plug; refer to Installing the Spark Plug.
Note: Do not install the wire on the spark plug.
Grease the machine; refer to Lubricating the Bearings and Seals.
Check and tighten all bolts, nuts, and screws. Repair or replace any part that is damaged.
Paint all scratched or bare metal surfaces with paint available from your Authorized Service Dealer.
Store the machine in a clean, dry garage or storage area.
Cover the machine to protect it and keep it clean.
| Problem | Possible Cause | Corrective Action |
|---|---|---|
| The engine does not start. |
|
|
| The engine lacks power or runs rough. |
|
|
| The belt slips or comes off the pulleys. |
|
|
| The paddles rotate when the clutch lever is in the Off position. |
|
|
| The paddles do not rotate when the clutch lever is in the On position. |
|
|
| The paddles rotate slowly when the clutch lever is in the On position. |
|
|