Important: Om de veiligheid en de prestaties van deze machine te optimaliseren en een juist gebruik ervan te garanderen, moet u de inhoud van deze Gebruikershandleiding zorgvuldig lezen en volledig begrijpen. Als u deze bedieningsinstructies niet opvolgt of geen goede training krijgt, kan dit leiden tot letsel. Ga naar www.Toro.com voor meer informatie over veilige bediening, inclusief veiligheidstips en trainingsmaterialen.
U kunt op www.Toro.com rechtstreeks contact met Toro opnemen om informatie over producten en accessoires te verkrijgen, een verkoper te vinden of uw product te registreren.
Als u service, originele Toro onderdelen of aanvullende informatie nodig hebt, kunt u contact opnemen met een erkende servicedealer of met de klantenservice van Toro. U dient hierbij altijd het modelnummer en het serienummer van het product te vermelden. De locatie van het plaatje met het modelnummer en het serienummer van het product is aangegeven op Figure 1. U kunt de nummers noteren in de ruimte hieronder.
Important: U kunt met uw mobiel apparaat de QR-code op het het serienummer (indien aanwezig) scannen om toegang te krijgen tot de garantie, onderdelen en andere productinformatie.

Deze handleiding noemt een aantal mogelijke gevaren en bevat een aantal veiligheidsberichten (Figure 2) met de volgende veiligheidssymbolen, die duiden op een gevaarlijke situatie die zwaar lichamelijk letsel of de dood tot gevolg kan hebben wanneer de veiligheidsvoorschriften niet in acht worden genomen.

Er worden in deze handleiding twee woorden gebruikt om uw aandacht op bijzondere informatie te vestigen. Belangrijk attendeert u op bijzondere technische informatie en Opmerking duidt algemene informatie aan die bijzondere aandacht verdient.
![]() |
Veiligheidsstickers en veiligheidsinstructies zijn gemakkelijk zichtbaar voor de bestuurder en bevinden zich bij plaatsen waar gevaar kan ontstaan. Vervang alle beschadigde of ontbrekende stickers. |

Note: Bepaal vanuit de normale bedieningspositie de linker- en rechterzijde van de machine.

Parkeer de machine op een horizontaal oppervlak.
Stel de parkeerrem in werking.
Zet de motor af en haal het sleuteltje uit het contact.
Benodigde onderdelen voor deze stap:
| Draaibeugel | 1 |
| Slotbout (5/16"x") | 2 |
| Borgmoer (5/16") | 5 |
| Vergrendelingspedaal | 1 |
| Lagerbusplaat | 1 |
| Zeskantbout (5/16"x") | 3 |
| Afstandsstuk ("x1-1/16") | 1 |
| Torsieveer | 1 |
| Ring (1"x2") | 1 |
| Borgring | 1 |
| Ring ("x1") | 1 |
| Borgmoer (") | 1 |
| Borgmoer (") | 2 |
| Naafconstructie | 1 |
| Bout ("x2") | 1 |
| Ring (9/32") | 1 |


Monteer de draaibeugel op de voetsteun met 2 slotbouten (5/16"x") en 2 borgmoeren (5/16"); zie Figure 5.

Gebruik de draaibeugel als sjabloon om 3 gaten (8mm of 5/16") in de flens van de voetsteun te boren (Figure 6).

Verwijder de draaibeugel, 2 slotbouten (5/16"x") en 2 borgmoeren (5/16") van de machine (Figure 7).

Verwijder bramen van de 3 gaten die u in stap 2 geboord hebt.
Lijn aan de binnenzijde van de flens van de voetsteun de 3 gaten in de draaibeugel uit met de 3 gaten in de flens (Figure 8).

Monteer de draaibeugel op de voetsteun (Figure 9); gebruik hierbij 3 zeskantbouten (5/16"x") en 3 borgmoeren (5/16").

Breng het afstandsstuk ("x1-1/16") aan over de taatsas van het vergrendelingspedaal (Figure 10).

Breng het vergrendelingspedaal op n lijn met de linker voetsteun en de gaten in de draaibeugel (Figure 11).

Monteer de lagerbusplaat op de draaibeugel en de flens van de voetsteun (Figure 12) met de 2 slotbouten (5/16"x") en 2 borgmoeren (5/16").

Draai de borgmoeren aan met 71 tot 92Ncm
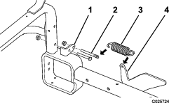
Schuif de torsieveer op de lagerbusplaat en haak hierbij 1 uiteinde van de veer aan het kleine tapeind op het vergrendelingspedaal en druk het andere uiteinde tegen de bodemplaat (Figure 13).
Note: Plaats de veer op de lagerbusplaat zoals afgebeeld.

Bevestig de torsieveer aan het kleine tapeind met een " borgmoer; zie Figure 13.
Bevestig de torsieveer aan de lagerbusplaat met een platte ring (1"x2") en een borgring (Figure 14).

Bevestig het vergrendelingspedaal aan de voetsteun en de lagerbusplaat met een platte ring ("x1") en een borgmoer ("); zie Figure 15.
Note: De moer niet te vast draaien; het vergrendelingspedaal moet vrij kunnen scharnieren als het ingedrukt wordt.



Monteer de naafconstructie op de linker voetsteun met 2 bouten (5/16"x") en 2 borgmoeren (5/16").

Bevestig de onderkant van de naafconstructie aan het machineframe met een bout ("x2"), een ring (") en een borgmoer ("); zie Figure 17.
Draai de borgmoeren aan met 71 tot 92Ncm
Breng het vergrendelingspedaal op n lijn met de linker voetsteun en de gaten in de naafconstructie (Figure 18).

Plaats de taatsas van het vergrendelingspedaal door de opening in de linker voetsteun en door de naafconstructie (Figure 18).
Schuif de torsieveer op de naafconstructie en haak hierbij 1 uiteinde van de veer aan het kleine tapeind op het vergrendelingspedaal en druk het andere uiteinde tegen de bodemplaat (Figure 19).
Note: Plaats de veer op de naafconstructie zoals afgebeeld in Figure 19.


Bevestig de torsieveer aan het kleine tapeind met een " borgmoer; zie Figure 19.
Bevestig de torsieveer aan de lagerbusplaat met een platte ring (1"x2") en een borgring (Figure 20).

Bevestig het vergrendelingspedaal aan de voetsteun en de naafconstructie met een platte ring ("x1") en een borgmoer ("); zie Figure 21.
Note: De moer niet te vast draaien; het vergrendelingspedaal moet vrij kunnen scharnieren als het ingedrukt wordt.

Gooi de onderdelen weg die niet nodig waren voor uw machine.
Benodigde onderdelen voor deze stap:
| Bevestigingsbeugel | 2 |
| Bout ("x3") | 4 |
| Borgmoer (") | 4 |
Note: Controleer of de voor- en achterbanden zijn opgepompt tot een druk van 0,28-0,41bar.
Plaats de achterkant van de machine op blokken en verwijder de achterwielen.
Note: Plaats de blokken onder de bevestigingen van de achterwielmotoren.
Bevestig een bevestigingsbeugel losjes aan de voetsteunbuis links en rechts met 2 bouten ("x3") en borgmoeren ("). Plaats de bevestigingsbeugels en bouten zoals getoond in Figure 22.
Note: U hoeft de rechterbevestigingsbeugel niet te monteren als de machine uitgerust is met een zijdelingse werktuigenbalk.

Benodigde onderdelen voor deze stap:
| Rechter hefarm | 1 |
| Linker hefarm | 1 |
| Gaffelpen | 2 |
| R-pen | 2 |
| Torsiebuis | 1 |
| Bout ("x1") | 4 |
| Borgmoer (") | 4 |
Plaats de hefarmen zo dat de bevestigingsgaten van de hefarmbeugels uitgelijnd zijn met de gaten in de bevestigingsbeugels (Figure 23).
Bevestig de rechter hefarm aan de bevestigingsbeugel met een gaffelpen en een R-pen (Figure 23).
Bevestig n uiteinde van de torsiebuis losjes aan de rechter hefarm met 2 bouten ("x1") en borgmoeren ("); zie Figure 23.
Note: Draai het bevestigingsmateriaal nu nog niet vast.
Bevestig de linker hefarm aan de bevestigingsbeugel met een gaffelpen en een R-pen (Figure 23).
Bevestig het andere uiteinde van de torsiebuis losjes aan de linker hefarm met 2 bouten ("x1") en borgmoeren ("); zie Figure 23.
Note: Draai het bevestigingsmateriaal nu nog niet vast.

Benodigde onderdelen voor deze stap:
| Schuif van 102cm (optioneel kunt u de schuif van 152cm aanschaffen en monteren) | 1 |
| Steunplaat | 2 |
| Bout ("x1") | 2 |
| Borgmoer (") | 6 |
| Bout ("x3") | 4 |
Note: Optioneel kunt u een schuif van 152cm aanschaffen. De montage verloopt net zoals die van de schuif van 102cm beschreven in dit hoofdstuk.
Bevestig losjes een steunplaat aan elk van de binnenste montagelippen van de schuif.
Note: Plaats de steunplaten zoals getoond in Figure 24.
Bevestig de voorzijde van de hefarmen losjes aan de bevestigingsbeugels van de schuif en de steunplaten met 4 bouten ("x3") en 4 borgmoeren ("); zie Figure 24.
Note: Gebruik de bovenste montagegaten van de bevestigingsbeugels voor een agressievere stand van de schuif (Figure 24).
Terwijl de schuif op het horizontale oppervlak steunt, zet u het bevestigingsmateriaal vast waarmee de hefarmen aan de schuif zijn bevestigd (Figure 24).
Note: Draai het bevestigingsmateriaal vast met een torsie van 19 tot 24Nm.
Draai de bouten en borgmoeren vast waarmee de uiteinden van de torsiebuizen aan de hefarmen zijn bevestigd (Figure 23).
Note: Draai het bevestigingsmateriaal vast met een torsie van 19 tot 24Nm.

Benodigde onderdelen voor deze stap:
| Pedaal van hefarm | 1 |
| Bout ("x3") | 2 |
| Borgmoer (") | 4 |
| Veerbeugel | 2 |
| Bout ("x2") | 2 |
| Trekveer | 2 |
| Veerstang | 2 |
Monteer het pedaal van de hefarm aan de buitenzijde van de linker hefarm; gebruik 2 bouten ("x3") en 2 borgmoeren (").
Note: Plaats het pedaal zoals wordt getoond in Figure 25.

Verwijder de onderste moer en bout waarmee de montagebeugels van de trekhaakbuis bevestigd zijn aan de verticale framebuizen (Figure 26).
Note: Gooi de moer en de bout weg.
Gebruik de vrije montagegaten in de trekhaakbuis om een veerbeugel te bevestigen aan de trekhaakbuisbeugels/verticale framebuizen; doe dit met een bout ("x2") en een borgmoer (").
Note: Plaats de veerbeugels zoals wordt getoond in Figure 26.

Trek de handgreep terug om de schuif in de transportstand te tillen en te vergrendelen..
Draai alle resterende bevestigingen vast.
Verbind de trekveer met de hefarm en met een veerstang.
Breng de veerstang aan in het gat van de veerbeugel, en zet lichtjes vast met een borgmoer (").
Herhaal stap 6 en 7 aan de andere kant van de machine.
Monteer de achterwielen en verwijder de blokken onder de achterkant van de machine.
Note: Draai de wielmoeren vast met een torsie van 61 tot 75Nm.
De afstelling van de veer bepaalt hoeveel kracht nodig is om de schuif in de transportstand te zetten. Als de veer te los is, is het moeilijk om de schuif naar de transportstand te brengen. Als de veer te hard gespannen wordt, zal de schuif echter te veel zweven tijdens het werk.
Laat de schuif neer op de grond.
Note: Als de veren goed afgesteld zijn, zal de onderkant van de schuif over de gehele lengte niet meer dan 6mm van de grond verwijderd zijn.
Draai de stelmoeren van de veer (Figure 27) rechtsom om de schuif omhoog te brengen; linksom om de schuif te laten zakken.

Trek de handgreep terug om de schuif in de transportstand te tillen en te vergrendelen. Trap het vergrendelingspedaal in om de schuif vrij te zetten in de bedrijfsstand.
U kunt de schuif gebruiken om zand en grond voor- of achteruit te duwen. Zet de schuif in de bedrijfsstand en druk de handgreep gewoon zachtjes naar voren of naar achteren, of duw het pedaal van de hefarm in om de schuif te bedienen.
Note: Als de wielen slippen tijdens het werk, trek de handgreep dan naar achteren om de schuif een beetje op te tillen. Soms loopt de motor het gevaar te oververhitten. Laat het tractiepedaal dan geleidelijk opkomen om het toerental en het vermogen te verhogen
Verwijder voorzichtig de stelmoeren waarmee de veerstangen bevestigd zijn aan de veerbeugels.
Als de veren onder spanning staan, kunnen ze lichamelijk letsel veroorzaken.
Haal voorzichtig de druk van onderdelen met opgeslagen energie.
Verwijder de veerstangen en de veren.
Laat de schuif neer op de grond.
Verwijder de R-pennen en de gaffelpennen die de hefarmen verbinden met de montagebeugels.
Til de voorkant van de machine op en trek de gehele schuif naar voren en weg van de machine.