Important: Para maximizar a segurana, desempenho e correto funcionamento desta mquina, leita atentamente e compreenda na totalidade o contedo deste Manual do Utilizador. No seguir estas instrues de utilizao ou no receber a devida formao pode dar origem a ferimentos. Para mais informaes sobre prticas de operao seguras, incluindo sugestes de segurana e materiais de segurana, v a www.Toro.com.
Pode contactar diretamente a Toro em www.Toro.com para mais informao sobre produtos e acessrios, para obter o contacto de um distribuidor ou registar o seu produto.
Sempre que necessitar de assistncia, peas genunas Toro ou informaes adicionais, entre em contacto com um Distribuidor autorizado ou com o Servio de assistncia Toro, indicando os nmeros de modelo e de srie do produto. Figure 1 identifica a localizao dos nmeros de srie e de modelo do produto. Escreva os nmeros no espao fornecido.
Important: Com o seu dispositivo mvel, pode ler o cdigo QR no nmero de srie (se equipado) para aceder s informaes de garantia, peas e outras.

Este manual identifica potenciais perigos e tem mensagens de segurana identificadas pelo smbolo de alerta de segurana (Figure 2), que identifica perigos que podem provocar ferimentos graves ou mesmo a morte, se no respeitar as precaues recomendadas.

Neste manual so utilizados dois termos para identificar informao. Importante chama a ateno para informao especial de ordem mecnica e Nota sublinha informao geral que requer ateno especial.
![]() |
Os autocolantes de segurana e de instrues so facilmente visveis e situam-se prximo das zonas de potencial perigo. Substitua todos os autocolantes danificados ou em falta. |

Note: Determine os lados direito e esquerdo da mquina a partir da posio normal de operao.

Estacione a mquina numa superfcie nivelada.
Engate o travo de estacionamento.
Desligue o motor do e retire a chave da ignio.
Peças necessárias para este passo:
| Suporte da articulao | 1 |
| Parafuso de carroaria (5/16pol. x pol.) | 2 |
| Porca de bloqueio (5/16pol.) | 5 |
| Pedal de bloqueio | 1 |
| Placa do casquilho | 1 |
| Parafuso de cabea sextavada (5/16pol. x 3pol.) | 3 |
| Espaador (pol. x 1-1/16pol.) | 1 |
| Mola de toro | 1 |
| Anilha (1pol. x 2pol.) | 1 |
| Anel de reteno | 1 |
| Anilha (pol. x 1pol.) | 1 |
| Porca de bloqueio (pol.) | 1 |
| Porca de bloqueio (pol.) | 2 |
| Conjunto do hub | 1 |
| Parafuso (pol. x 2pol.) | 1 |
| Anilha (9/32pol.) | 1 |


Prenda o suporte da articulao no apoio para o p com dois parafusos de carroaria (5/16pol. x pol.) e duas porcas de bloqueio (5/16pol.) como se mostra na Figure 5.

Utilizando o suporte da articulao como modelo de perfurao, faa trs furos (8mm ou 5/16pol.) na flange do apoio para o p (Figure 6).

Retire o suporte da articulao, os dois parafusos da carroaria (5/16pol. x pol.) e duas porcas de bloqueio (5/16pol.) da mquina (Figure 7).

Retire qualquer rebarba dos trs furos que fez no passo 2.
No lado interior da flange do apoio para o p, alinhe os trs furos no suporte com os trs furos na flange (Figure 8).

Prenda o suporte da articulao no apoio para o p (Figure 9) com trs parafusos de cabea sextavada (5/16pol. x pol.) e trs porcas de bloqueio (5/16pol.).

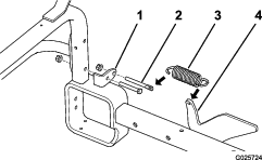
Monte o espaador (pol. x 1-1/16 pol.) sobre o eixo articulado do pedal de bloqueio (Figure 10).

Alinhe o pedal de bloqueio com o apoio para o p esquerdo e os furos no suporte da articulao (Figure 11).

Prenda a placa do casquilho no suporte da articulao e flange do apoio para o p (Figure 12) com os dois parafusos de carroaria (5/16pol. x pol.) e duas porcas de bloqueio (5/16pol.).

Aperte as porcas de bloqueio com 11,3 a 14,7N∙m.
Deslize a mola de toro para a placa do casquilho engatando uma extremidade da mola no pino pequeno no pedal de bloqueio e pressionando a outra extremidade contra a placa do piso (Figure 13).
Note: Posicione a mola na placa do casquilho conforme indicado.

Fixe a mola de toro ao pino pequeno com uma porca de bloqueio (pol.); consulte a Figure 13.
Fixe a mola de toro placa do casquilho com uma anilha chata (1pol. x 2pol.) e um anel de reteno (Figure 14).

Fixe o pedal de bloqueio ao apoio para o p e placa do casquilho com uma anilha chata (pol. x 1pol.) e uma porca de bloqueio (pol.); consulte a Figure 15.
Note: No aperte demasiado a porca; o pedal de bloqueio tem de se movimentar livremente quando pressionado.



Instale o conjunto do hub no apoio do p esquerdo com dois parafusos (5/16pol. x pol.) e duas porcas de bloqueio (5/16pol.).

Prenda a parte inferior do conjunto do hub estrutura da mquina com um parafuso (pol. x 2pol.), uma anilha (pol.) e uma porca de bloqueio (pol.); consulte a Figure 17
Aperte as porcas de bloqueio com 11,3 a 14,7N∙m.
Alinhe o pedal de bloqueio com o apoio para o p esquerdo e os furos no conjunto do hub (Figure 18).

Insira o eixo da articulao do pedal de bloqueio atravs do furo no apoio para o p esquerdo e atravs do conjunto do hub (Figure 18).
Deslize a mola de toro para o conjunto do hub engatando uma extremidade da mola no pino pequeno no pedal de bloqueio e pressionando a outra extremidade contra a placa do piso (Figure 19).
Note: Posicione a mola no conjunto do hub conforme indicado na Figure 19.


Fixe a mola de toro ao pino pequeno com uma porca de bloqueio (pol.); consulte a Figure 19.
Fixe a mola de toro placa do casquilho com uma anilha chata (1pol. x 2pol.) e um anel de reteno (Figure 20).

Fixe o pedal de bloqueio ao apoio para o p e o conjunto do hub com uma anilha chata (pol. x 1pol.) e uma porca de bloqueio (pol.); consulte a Figure 21
Note: No aperte demasiado a porca; o pedal de bloqueio tem de se movimentar livremente quando pressionado.

Deite fora as peas que no foram necessrias para a mquina.
Peças necessárias para este passo:
| Conjunto do suporte de montagem | 2 |
| Parafuso (pol.x 3pol.) | 4 |
| Porca de bloqueio (pol.) | 4 |
Note: Certifique-se de que os pneus dianteiros e traseiros esto cheios com 0,28-0,41bar.
Bloqueie a parte traseira da mquina e remova os pneus traseiros.
Note: Posicione as cunhas sob as montagens do motor da roda traseira.
Prenda ligeiramente um conjunto do suporte de montagem nos tubos do apoio de p do lado direito e esquerdo com 2 parafusos (pol. x 3pol.) e porcas de bloqueio (pol.). Posicione os conjuntos do suporte de montagem e os parafusos conforme indicado na Figure 22.
Note: O suporte de montagem direito no precisa de ser instalado, se a mquina estiver equipada com uma barra de ferramentas de montagem central.

Peças necessárias para este passo:
| Brao de elevao direito | 1 |
| Brao de elevao esquerdo | 1 |
| Passador de forquilha | 2 |
| Contrapino | 2 |
| Tubo de toro | 1 |
| Parafuso (pol. x 1pol.) | 4 |
| Porca de bloqueio (pol.) | 4 |
Posicione os braos de elevao de modo a que o orifcio de montagem de cada suporte do brao de elevao fique alinhado com os orifcios nos suportes de montagem (Figure 23).
Fixe o brao de elevao do lado direito no suporte de montagem com um passador de forquilha e um contrapino (Figure 23).
Instale sem apertar uma extremidade do tubo de toro no brao de elevao do lado direito com 2 parafusos (pol. x 1pol.) e porcas de bloqueio (pol.); consulte a Figure 23
Note: No aperte os dispositivos de fixao nesta altura.
Fixe o brao de elevao do lado esquerdo no suporte de montagem com um passador de forquilha e um contrapino (Figure 23).
Sem apertar, instale a outra extremidade do tubo de toro no brao de elevao do lado esquerdo com 2 parafusos (pol. x 1pol.) e porcas de bloqueio (pol.); consulte a Figure 23.
Note: No aperte os dispositivos de fixao nesta altura.

Peças necessárias para este passo:
| Lmina de 102cm (opcionalmente, pode adquirir e instalar a lmina de 152cm) | 1 |
| Placa de abraadeira | 2 |
| Parafuso (pol.x 1pol.) | 2 |
| Porca de bloqueio (") | 6 |
| Parafuso (pol. x 3pol.) | 4 |
Note: Opcionalmente, pode adquirir uma lmina de 152cm. Instale-a conforme indicado para a lmina de 102cm nesta seco.
Prenda ligeiramente uma placa de abraadeira em cada uma das patilhas de montagem interiores no conjunto da lmina.
Note: Coloque as placas de abraadeira como se mostra na Figure 24.
Prenda ligeiramente a parte da frente dos braos de elevao aos suportes de montagem da lmina e s placas de abraadeira com 4 parafusos (pol. x 3pol.) e 4 porcas de bloqueio (pol.); consulte a Figure 24.
Note: Utilizar os orifcios de montagem superiores nos suportes de montagem da lmina far com que a lmina funcione de modo mais agressivo (Figure 24).
Com a lmina apoiada numa superfcie nivelada, aperte os fixadores prendendo os braos de elevao lmina (Figure 24).
Note: Aperte os dispositivos de fixao com uma fora de 19 a 24Nm.
Aperte os parafusos e as porcas de bloqueio que prendem as extremidades dos tubos de toro aos braos de elevao (Figure 23).
Note: Aperte os dispositivos de fixao com uma fora de 19 a 24Nm.

Peças necessárias para este passo:
| Pedal do brao de elevao | 1 |
| Parafuso (pol. x 3pol.) | 2 |
| Porca de bloqueio (pol.) | 4 |
| Suporte da mola | 2 |
| Parafuso ( pol. x 2pol.) | 2 |
| Mola de extenso | 2 |
| Haste da mola | 2 |
Monte o pedal do brao de elevao no exterior do brao de elevao esquerdo com 2 parafusos (pol. x 3pol.) e 2 porcas de bloqueio (pol.).
Note: Posicione o pedal como se indica na Figure 25.

Retire a porca e o parafuso inferiores que prendem cada suporte de montagem do tubo de engate aos tubos da estrutura verticais (Figure 26).
Note: Elimine o parafuso e a porca.
Utilizando os orifcios de montagem do tubo de engate, fixe um suporte da mola a cada tubo de engate/tubo da estrutura vertical com um parafuso (pol. x 2pol.) e uma porca de bloqueio (pol.).
Note: Posicione os suportes da mola como se mostra na Figure 26.

Puxe o manpulo para elevar e bloquear a lmina na posio de transporte.
Aperte todos os fixadores restantes.
Ligue a mola de extenso ao brao de elevao e a uma haste da mola.
Insira a haste de mola no furo do suporte de mola e prenda, sem apertar, com uma porca de bloqueio (pol.).
Repita os passos 6 e 7 do lado oposto da mquina.
Instale os pneus traseiros e remova os suportes da parte de baixo da mquina.
Note: Aperte as porcas das rodas com 61 a 75Nm.
O ajuste da mola controla a fora que preciso para elevar a lmina para a posio de transporte. Se a mola estiver demasiado solta, ser difcil elevar a lmina para a posio de transporte. No entanto, demasiada tenso na mola faz com que a lmina flutue excessivamente durante o funcionamento.
Desa a lmina at ao solo.
Note: Quando as molas estiverem devidamente ajustadas, o comprimento total da parte inferior da lmina no ficar a mais de 6mm do solo.
Rode as molas ajustando as porcas (Figure 27) no sentido dos ponteiros do relgio para subir a lmina ou no sentido contrrio aos ponteiros do relgio para descer a lmina.

Puxe o manpulo para elevar e bloquear a lmina na posio de transporte. Pressione o pedal de bloqueio para libertar a lmina para a posio de funcionamento.
Pode utilizar a lmina para empurrar ou puxar areia e sujidade. Com a lmina na posio de funcionamento, basta empurrar ou puxar ligeiramente o manpulo ou pressionar o pedal do brao de elevao para controlar a ao de levantamento.
Note: Se as rodas girarem durante o levantamento, eleve ligeiramente a lmina puxando o manpulo. Por vezes, o motor pode comear a ficar sobrecarregado. Quando ficar, solte gradualmente o pedal de trao para aumentar a velocidade e a potncia do motor.
Remova com cuidado as porcas de ajuste que prendem as hastes da mola aos suportes da mola.
Se as molas estiverem sob tenso, podem causar ferimentos.
Cuidadosamente, liberte a presso dos componentes com energia acumulada.
Remova as hastes da mola e as molas.
Desa a lmina at ao solo.
Remova os contrapinos e os passadores de forquilha que ligam os braos de elevao aos suportes de montagem.
Levante a dianteira da mquina e faa deslizar o conjunto completo da lmina para a frente afastando-o da mquina.