Important: この機械に本来の性能を発揮させ安全にお使いいただくために、このオペレーターズマニュアルに記載されている内容を十分にご理解ください。適切な講習を受けなかったり、正しい操作方法を守らなかったりすると、けがをする恐れがあります。安全な運転操作や安全確保のためのヒントなどについて、より詳しい情報はこちらへ:www.Toro.com。
弊社のウェブサイト www.Toro.com で製品やアクセサリ情報の閲覧、代理店についての情報閲覧、お買い上げ製品の登録などを行っていただくことができます。
整備について、また純正部品についてなど、分からないことはお気軽に弊社代理店またはカスタマーサービスにおたずねください。お問い合わせの際には、必ず製品のモデル番号とシリアル番号をお知らせください。Figure 1 にモデル番号とシリアル番号を刻印した銘板の取り付け位置を示します。いまのうちに番号をメモしておきましょう。
Important: シリアル番号についている QR コード(無い場合もあります)をモバイル機器でスキャンすると、製品保証、パーツその他の製品情報にアクセスできます。

この説明書では、危険についての注意を促すための警告記号Figure 2を使用しております。死亡事故を含む重大な人身事故を防止するための注意ですから必ずお守りください。

この他に2つの言葉で注意を促しています。重要「重要」は製品の構造などについての注意点を、注はその他の注意点を表しています。
![]() |
以下のラベルや指示は危険な個所の見やすい部分に貼付してあります。破損したりはがれたりした場合は新しいラベルを貼付してください。 |

Note: 前後左右は運転位置からみた方向です。

平らな場所に駐車する。
駐車ブレーキを掛ける。
エンジンを止め、キーを抜き取る。
この作業に必要なパーツ
| ピボットブラケット | 1 |
| キャリッジボルト(5/16 x ") | 2 |
| ロックナット(5/16") | 5 |
| ロッキングペダル | 1 |
| ブッシュプレート | 1 |
| 六角ヘッドボルト(5/16 x ") | 3 |
| スペーサ( x 1-1/16") | 1 |
| トーションスプリング | 1 |
| ワッシャ(1 x 2") | 1 |
| リテーナリング | 1 |
| ワッシャ( x 1") | 1 |
| ロックナット(") | 1 |
| ロックナット(") | 2 |
| ハブアセンブリ | 1 |
| ボルト( x 2") | 1 |
| ワッシャ(9/32") | 1 |


フットレストにピボットブラケットを組み付ける;キャリッジボルト(5/16 x ")2本、ロックナット(5/16")2個を使用してFigure 5のように取り付ける。

ピボットブラケットを型紙にして、フットレストのフランジに、直径 8 mm の 穴を 3 つ開ける(Figure 6)。

車体から、ピボットブラケット、キャリッジボルト(5/16 x ")2本、ロックナット(5/16")2個を外す(Figure 7)。

ステップ(2)で開けた 3 個の穴のバリをきれいに除去する。
フットレストのフランジの内側部分で、ピボットブラケットの 3 つの穴とフランジの 3 つの穴を整列させる(Figure 8)。

フットレストにピボットブラケットを組み付ける(Figure 9);六角ヘッドボルト(5/16 x ")3本、ロックナット(5/16")3個を使用する。

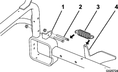
ロッキングペダルのピボットシャフトに、スペーサ( x 1-1/16")を組み付ける(Figure 10)。

ロッキングペダルを、左フットレストとピボットブラケットの穴に合わせる(Figure 11)。

ピボットブラケットとフットレストのフランジにブッシュプレートを組み付ける(Figure 12);キャリッジボルト(5/16 x ")2本、ロックナット(5/16")2個を使用する。

ロックナットを 11.3-14.7 Nm(1.2-1.5 kg.m = 100-130 in-lb)にトルク締めする。
トーションスプリングをブッシュプレートに入れ、スプリングの一方をロッキングペダルの小さい方のスタッドに引っ掛け、もう一方はフロアプレートに押し付ける(Figure 13)。
Note: 図のように、スプリングをブッシュプレートにセットする。

トーションスプリングを小さいスタッドに固定する。ロックナット(")1個を使用; Figure 13を参照。
ブッシュプレートにトーションスプリングを固定する;平ワッシャ(1 x 2")1枚とリテーナリングを使用する(Figure 14)。

ロッキングペダルをフットレストおよびブッシュプレートに固定する。平ワッシャ( x 1")とロックナット(")を使用; Figure 15を参照。
Note: ナットを締めすぎないように注意してください。ロッキングペダルを踏んだときに自由に動くことが必要です。



ハブアセンブリを左側フットレストに固定する;ボルト(5/16 x ")2 本とロックナット(5/16")2個を使用する。

ハブアセンブリの底部を機体フレームに固定する;ボルト( x 2")、ワッシャ(")、ロックナット(")を使用する;Figure 17を参照。
ロックナットを 11.3-14.7 Nm(1.2-1.5 kg.m = 100-130 in-lb)にトルク締めする。
ロッキングペダルを、左フットレストとハブアセンブリの穴に合わせる(Figure 18)。

ロッキングペダルのピボットシャフトを左フットレストの穴とハブアセンブリにに通す(Figure 18)。
トーションスプリングをハブアセンブリに入れ、スプリングの一方をロッキングペダルの小さい方のスタッドに引っ掛け、もう一方はフロアプレートに押し付ける(Figure 19)。
Note: スプリングブラケットはFigure 19のようにハブアセンブリにセットする。


トーションスプリングを小さいスタッドに固定する。ロックナット(")1個を使用; Figure 19を参照。
ブッシュプレートにトーションスプリングを固定する;平ワッシャ(1 x 2")1枚とリテーナリングを使用する(Figure 20)。

ロッキングペダルをフットレストおよびハブアセンブリに固定する。平ワッシャ( x 1")とロックナット(")を使用; Figure 21を参照。
Note: ナットを締めすぎないように注意してください。ロッキングペダルを踏んだときに自由に動くことが必要です。

不要なパーツを廃棄する。
この作業に必要なパーツ
| 取り付けブラケットアセンブリ | 2 |
| ボルト( x 3") | 4 |
| ロックナット(") | 4 |
Note: 前後輪とも適正値 0.28-0.41 bar(0.28-0.42 kg/cm2 = 4-6 psi)に調整してください。
機体後部を持ち上げて支え、後タイヤを外す。
Note: 後ホイールモータマウントの下にブロックを入れて支える。
左右のフットレストチューブに取り付けブラケットアセンブリを仮止めする;ボルト( x 3")とロックナット(")各2を使用する。ブラケットとボルトはFigure 22 のように組み付ける。
Note: 既にミッドマウントツールバーを搭載している場合には、右側取り付けブラケットは取り付ける必要がありません。

この作業に必要なパーツ
| 右昇降アーム | 1 |
| 左昇降アーム | 1 |
| クレビスピン | 2 |
| ヘアピンコッターピン | 2 |
| トーションチューブ | 1 |
| ボルト( x 1") | 4 |
| ロックナット(") | 4 |
昇降アームの位置決めを行う(各昇降アームブラケットの取り付け穴を取り付けブラケットの穴に整列させる)(Figure 23)。
右側昇降アームを取り付けブラケットに固定する;クレビスピンとヘアピンコッターを使用する(Figure 23)。
トーションチューブの一端を、右側昇降アームに仮止めする。ボルト( x 1")2本とロックナット(")を使用; Figure 23を参照。
Note: この時点ではまだ本締めを行わないこと。
左側昇降アームを取り付けブラケットに固定する;クレビスピンとヘアピンコッターを使用する(Figure 23)。
トーションチューブのもう一方の端を、左側昇降アームに仮止めする。ボルト( x 1")2本とロックナット(")を使用; Figure 23を参照。
Note: まだ本締めしないでください。

この作業に必要なパーツ
| 40" 排土板(別売オプションとして 60"の排土板があります) | 1 |
| ブレースプレート | 2 |
| ボルト(x1") | 2 |
| ロックナット(") | 6 |
| ボルト( x 3") | 4 |
Note: 別売オプションとして 60" の排土板があります。40" の場合と同様の方法で、この位置に取り付けます。
排土板アセンブリの内側にある取り付けタブに、ブレースプレートを仮止めする。
Note: ブレースプレートは Figure 24 のように組み付ける。
昇降アームの前部を、排土板取り付けブラケットとブレースプレートに仮止めする。ボルト( x 3")4本とロックナット(")4個を使用; Figure 24を参照。
Note: ブレード取り付けブラケットについている上側の穴を使用すると、排土板の角度が大きくなります(Figure 24)。
排土板を平らな床に預けた状態で、排土板と昇降アームとを連結しているボルト・ナットの本締めを行う(Figure 24)。
Note: ボルト・ナットを19-24 Nm(9.3-11.8 kg.m = 14-18 ft-lb)にトルク締めする。
トーションチューブと昇降アームとを連結しているボルトを締め付ける(Figure 23)。
Note: ボルト・ナットを19-24 Nm(9.3-11.8 kg.m = 14-18 ft-lb)にトルク締めする。

この作業に必要なパーツ
| 昇降アーム用フットペダル | 1 |
| ボルト(" x 3") | 2 |
| ロックナット(") | 4 |
| スプリングブラケット | 2 |
| ボルト( x 2") | 2 |
| エクステンション・スプリング | 2 |
| スプリングロッド | 2 |
昇降アーム用フットペダルを、左側昇降アームの外側に取り付ける;ボルト( x 3")2本とロックナット(")2個を使用する。
Note: フットペダルは Figure 25 のように組み付ける。

各ヒッチチューブ取り付けブラケットを縦フレームチューブに固定している下側の ナットとボルトを外す(Figure 26)。
Note: 外したボルトとナットは廃棄する。
空いているヒッチチューブ取り付け穴を利用して、各ヒッチチューブ・ブラケット/縦フレームチューブにスプリングブラケットを取りつける;ボルト( x 2")1本とロックナット(")1個を使用する。
Note: スプリングブラケットはFigure 26のようにセットする。

ハンドルを引いて排土板を移動走行位置に上昇・ロックする。.
残っている仮止めボルト類を本締めする。
昇降アームとスプリングロッドに延長スプリングを接続する。
スプリングロッドをスプリングブラケットの穴に入れ、ロックナット(")で仮止めする。
機体の反対側でも、ステップ6 - 7 を行う。
後タイヤを取り付け、機体後部を支えていた角材などの支えを取り外す。
Note: ラグナットを 61-75 N.m(9.7-12.5kg.m = 45-55 ft-lb)にトルク締めする。
スプリングの調整によって、排土板を移動走行位置に持ち上げるために必要となる力を調整します。スプリングがゆるすぎると、排土板を移動走行位置に持ち上げるのに大きな力が必要となります。逆に、スプリングが強すぎると、土を押している最中に排土板が浮き勝ちになります。
排土板を床面に降ろす。
Note: スプリングが適切に調整されている状態とは、排土板がその全幅にわたって床面から 6 mm 以上浮いていない状態です。
スプリング調整ナット(Figure 27)を右に回すと排土板が上昇し、左に回すと排土板が下降してきます。

ハンドルを引くと排土板が移動走行位置に上昇・ロックされます。ロッキングペダルを踏み込むと、排土板が使用位置に下りてきます。
排土板は土を押すのにも、引くのにも使用することができます。排土板を使用位置に降ろして、前進すれば自然に土が押されていきます。ハンドルや昇降アーム操作ペダルで排土板をわずかに持ち上げるなどして思い通りに作業をすることができます。
Note: 作業中にタイヤが空転する場合には、排土板のハンドルを押し下げて排土板を少し持ち上げてください。場合により、エンジンが過負荷の兆候を見せる場合があります。そのような場合には、ペダルの踏み込みを少しゆるめてやるとエンジンの速度とパワーが回復してきます。
スプリングロッドをスプリングブラケットに固定している調整ナットを注意深く取り外す。
スプリングに強い張力がかかっていると、けがをする恐れがある。
機器類を取り外すとき、スプリングなどの力が掛かっている場合があります。取り外しには十分注意してください。
スプリングロッドとスプリングを取り外す。
排土板を床面に降ろす。
各昇降アームを取り付けブラケットに固定しているヘアピンコッターとクレビスピンを取り外す。
機体前部を浮かせて、排土板アセンブリ全体を前方に引き抜くようにして外す。